TOP
|
特許
|
意匠
|
商標
特許ウォッチ
Twitter
他の特許を見る
10個以上の画像は省略されています。
公開番号
2025171552
公報種別
公開特許公報(A)
公開日
2025-11-20
出願番号
2024077025
出願日
2024-05-10
発明の名称
スクラバードライヤー
出願人
株式会社マキタ
代理人
弁理士法人酒井国際特許事務所
主分類
A47L
11/30 20060101AFI20251113BHJP(家具;家庭用品または家庭用設備;コーヒーひき;香辛料ひき;真空掃除機一般)
要約
【課題】スクラバードライヤーの操作性を良好にすること。
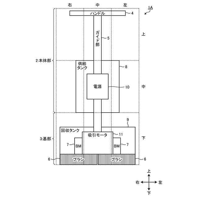
【解決手段】スクラバードライヤーは、洗浄対象の表面に接触するブラシを含む基部と、基部よりも上方に配置されハンドルを含む本体部と、洗浄対象の表面に供給される洗浄液を収容する供給タンクと、洗浄対象の表面から回収された回収液を収容する回収タンクと、を備える。供給タンクは、本体部に配置される。回収タンクは、基部に配置される。
【選択図】図1
特許請求の範囲
【請求項1】
洗浄対象の表面に接触するブラシを含む基部と、
前記基部よりも上方に配置されハンドルを含む本体部と、
前記洗浄対象の表面に供給される洗浄液を収容する供給タンクと、
前記洗浄対象の表面から回収された回収液を収容する回収タンクと、を備え、
前記供給タンクは、前記本体部に配置され、
前記回収タンクは、前記基部に配置される、
スクラバードライヤー。
続きを表示(約 960 文字)
【請求項2】
電源を備え、
前記電源は、前記本体部に配置される、
請求項1に記載のスクラバードライヤー。
【請求項3】
前記洗浄対象の表面から回収液が回収されるように駆動する吸引モータを備え、
前記吸引モータは、前記基部に配置される、
請求項2に記載のスクラバードライヤー。
【請求項4】
前記供給タンクの位置と前記回収タンクの位置とは、異なり、
前記供給タンクの位置と前記吸引モータの位置とは、異なる、
請求項3に記載のスクラバードライヤー。
【請求項5】
前記供給タンクの位置と前記回収タンクの位置とは、異なり、
前記回収タンクの少なくとも一部の位置と前記吸引モータの位置とは、同じである、
請求項3に記載のスクラバードライヤー。
【請求項6】
前記供給タンクの位置と前記回収タンクの位置とは、異なり、
前記電源の位置と前記吸引モータの位置とは、異なる、
請求項3に記載のスクラバードライヤー。
【請求項7】
前記電源は、左右方向において前記本体部の中部に配置され、前後方向において前記本体部の前部に配置され、上下方向において前記本体部の下部に配置される、
請求項2に記載のスクラバードライヤー。
【請求項8】
前記供給タンクは、左右方向において前記本体部の中部に配置され、前後方向において前記本体部の中部に配置され、上下方向において前記本体部の下部に配置される、
請求項1に記載のスクラバードライヤー。
【請求項9】
前記回収タンクは、左右方向において前記基部の左部と中部と右部に配置され、前後方向において前記基部の中部と後部とに配置され、上下方向において前記基部に配置される、
請求項1に記載のスクラバードライヤー。
【請求項10】
前記吸引モータは、左右方向において前記基部の中部に配置され、前後方向において前記基部の中部に配置され、上下方向において前記基部に配置される、
請求項3に記載のスクラバードライヤー。
(【請求項11】以降は省略されています)
発明の詳細な説明
【技術分野】
【0001】
本明細書で開示する技術は、スクラバードライヤーに関する。
続きを表示(約 2,000 文字)
【背景技術】
【0002】
床洗浄機の一種として、スクラバードライヤーが知られている。特許文献1には、スクラバードライヤーに係る技術が開示されている。特許文献1において、スクラバードライヤーは、ブラッシング手段が設けられるベース本体と、ベース本体よりも上方に配置されベース本体に連結される操舵手段と、洗浄液が収容される第2のタンクと、汚れを吸引する吸引手段と、汚れが収容される第1のタンクとを備える。第2のタンク及び第1のタンクは、ベース本体に配置される。
【先行技術文献】
【特許文献】
【0003】
米国特許出願公開第2022/0211239号明細書
【発明の概要】
【発明が解決しようとする課題】
【0004】
スクラバードライヤーの重量バランスが不適正である場合、スクラバードライヤーの操作性が悪化し、その結果、洗浄作業の作業性が低下する可能性がある。
【0005】
本明細書で開示する技術は、スクラバードライヤーの操作性を良好にすることを目的とする。
【課題を解決するための手段】
【0006】
本明細書は、スクラバードライヤーを開示する。スクラバードライヤーは、洗浄対象の表面に接触するブラシを含む基部と、基部よりも上方に配置されハンドルを含む本体部と、洗浄対象の表面に供給される洗浄液を収容する供給タンクと、洗浄対象の表面から回収された回収液を収容する回収タンクと、を備えてもよい。供給タンクは、本体部に配置されてもよい。回収タンクは、基部に配置されてもよい。
【発明の効果】
【0007】
本明細書で開示する技術によれば、スクラバードライヤーの操作性が良好になる。
【図面の簡単な説明】
【0008】
図1は、第1実施形態に係るスクラバードライヤーを模式的に示す正面図である。
図2は、第1実施形態に係るスクラバードライヤーを模式的に示す側面図である。
図3は、第2実施形態に係るスクラバードライヤーを模式的に示す正面図である。
図4は、第3実施形態に係るスクラバードライヤーを模式的に示す正面図である。
図5は、第4実施形態に係るスクラバードライヤーを模式的に示す正面図である。
図6は、第5実施形態に係るスクラバードライヤーを模式的に示す正面図である。
図7は、第5実施形態に係るスクラバードライヤーを模式的に示す側面図である。
図8は、第6実施形態に係るスクラバードライヤーを模式的に示す側面図である。
図9は、第7実施形態に係るスクラバードライヤーを模式的に示す側面図である。
図10は、第8実施形態に係るスクラバードライヤーを模式的に示す正面図である。
図11は、第9実施形態に係るスクラバードライヤーを模式的に示す正面図である。
図12は、第10実施形態に係るスクラバードライヤーを模式的に示す正面図である。
図13は、第10実施形態に係るスクラバードライヤーを模式的に示す側面図である。
図14は、第11実施形態に係るスクラバードライヤーを模式的に示す側面図である。
図15は、第12実施形態に係るスクラバードライヤーを模式的に示す側面図である。
図16は、第13実施形態に係るスクラバードライヤーを模式的に示す側面図である。
図17は、第14実施形態に係るスクラバードライヤーを模式的に示す正面図である。
図18は、第14実施形態に係るスクラバードライヤーを模式的に示す側面図である。
図19は、第15実施形態に係るスクラバードライヤーを模式的に示す正面図である。
図20は、第15実施形態に係るスクラバードライヤーを模式的に示す側面図である。
図21は、第16実施形態に係るスクラバードライヤーを模式的に示す正面図である。
図22は、第16実施形態に係るスクラバードライヤーを模式的に示す側面図である。
【発明を実施するための形態】
【0009】
1つ又はそれ以上の実施形態において、スクラバードライヤーは、洗浄対象の表面に接触するブラシを含む基部と、基部よりも上方に配置されハンドルを含む本体部と、洗浄対象の表面に供給される洗浄液を収容する供給タンクと、洗浄対象の表面から回収された回収液を収容する回収タンクと、を備えてもよい。供給タンクは、本体部に配置されてもよい。回収タンクは、基部に配置されてもよい。
【0010】
上記の構成では、供給タンクが本体部に配置され、回収タンクが基部に配置されるので、スクラバードライヤーの重量バランスが良化される。そのため、スクラバードライヤーの操作性が良好になる。
(【0011】以降は省略されています)
特許ウォッチbot のツイートを見る
この特許をJ-PlatPat(特許庁公式サイト)で参照する
関連特許
株式会社マキタ
作業機
1か月前
株式会社マキタ
電動工具
21日前
株式会社マキタ
電動工具
2か月前
株式会社マキタ
電動作業機
1か月前
株式会社マキタ
電動作業機
1日前
株式会社マキタ
鉄筋結束機
1か月前
株式会社マキタ
ハンマドリル
1か月前
株式会社マキタ
ハンマドリル
1か月前
株式会社マキタ
回転打撃工具
2か月前
株式会社マキタ
レシプロソー
今日
株式会社マキタ
現場用作業機
1か月前
株式会社マキタ
ダイグラインダ
2か月前
株式会社マキタ
インパクト工具
1か月前
株式会社マキタ
集塵アタッチメント
13日前
株式会社マキタ
スクラバードライヤー
21日前
株式会社マキタ
充電器及び充電システム
1か月前
株式会社マキタ
打撃工具の補助グリップ
今日
株式会社マキタ
電動工具及びインパクト工具
2か月前
株式会社マキタ
フレア形成装置及びフレア形成工具
2か月前
株式会社マキタ
減衰部材、清掃装置、及び吸込ヘッド
今日
株式会社マキタ
インパクト工具及びインパクトレンチ
1か月前
株式会社マキタ
携帯用加工機のカバー及び携帯用加工機
今日
株式会社マキタ
往復動工具、及び、往復動工具の電動モータを制御する方法
6日前
株式会社マキタ
現場用機器における光学表示器の内部に回路基板を固定する技術
1か月前
株式会社マキタ
往復動工具、及び、往復動工具における電動モータを制御する方法
6日前
株式会社マキタ
往復動工具、及び、往復動工具における電動モータの通電を保持する方法
6日前
株式会社マキタ
ベルトサンダの作業部構造、ベルトサンダのアタッチメント及びベルトサンダ
今日
株式会社マキタ
往復動工具、及び、往復動工具における往復部材の位置検出に関連する不具合の発生を検出する方法
6日前
個人
箸
1か月前
個人
家具
5か月前
個人
椅子
3か月前
個人
自助箸
7か月前
個人
掃除機
9か月前
個人
耳拭き棒
11か月前
個人
枕
9か月前
個人
掃除道具
9か月前
続きを見る
他の特許を見る