TOP
|
特許
|
意匠
|
商標
特許ウォッチ
Twitter
他の特許を見る
公開番号
2025158781
公報種別
公開特許公報(A)
公開日
2025-10-17
出願番号
2024061656
出願日
2024-04-05
発明の名称
充電器及び充電システム
出願人
株式会社マキタ
代理人
名古屋国際弁理士法人
主分類
H02J
7/02 20160101AFI20251009BHJP(電力の発電,変換,配電)
要約
【課題】外部電源からの電力供給経路に複数の充電器が接続されているときに、電池パックへの充電を実施する充電器の数を制限して、電力供給経路に流れる電流を抑制することのできる充電器及び充電システムを提供する。
【解決手段】充電器は、電池パックを装着可能な筐体と、充電回路と、制御部と、通信部と、判定部とを備える。判定部は、電池パックが筐体に装着されて充電回路から電池パックへの充電が可能になると、通信部が第2充電器から充電動作状態を表す第2充電情報を受信しているか否かを判定し、通信部が第2充電情報を受信しているときには、制御部に対し充電制御の実行を待機させ、通信部が第2充電情報を受信していないときに、制御部に対し充電制御の実行を許可する。
【選択図】図3
特許請求の範囲
【請求項1】
電池パックを装着可能な筐体と、
外部の電源から電力供給を受けて、前記電池パックへの充電電力を生成するように構成された充電回路と、
前記充電回路から前記電池パックへの前記充電電力の供給を制御する充電制御を実行するように構成された制御部と、
外部の第2充電器との間で通信可能に構成された通信部と、
前記通信部による前記第2充電器との通信結果に従い、前記制御部による前記充電制御の実行を許可するか否かを判定するように構成された判定部と、
を備え、
少なくとも前記充電回路及び前記制御部は、前記筐体内に配置されており、
前記判定部は、前記電池パックが前記筐体に装着されて前記充電回路から前記電池パックへの充電が可能になると、前記通信部が前記第2充電器から充電動作状態を表す第2充電情報を受信しているか否かを判定し、前記通信部が前記第2充電情報を受信しているときには、前記制御部に対し前記充電制御の実行を待機させ、前記通信部が前記第2充電情報を受信していないときに、前記制御部に対し前記充電制御の実行を許可するように構成されている、充電器。
続きを表示(約 1,500 文字)
【請求項2】
請求項1に記載の充電器であって、
前記通信部は、前記第2充電器に加えて、外部の第3充電器との間でも通信可能に構成されており、
前記判定部は、前記電池パックが前記筐体に装着されて前記充電回路から前記電池パックへの充電が可能になると、前記通信部が前記第2充電器又は前記第3充電器から充電動作状態を表す前記第2充電情報又は第3充電情報を受信しているか否かを判定し、前記通信部が前記第2充電情報又は前記第3充電情報を受信しているときには、前記制御部に対し前記充電制御の実行を待機させ、前記通信部が前記第2充電情報及び前記第3充電情報を受信していないときに、前記制御部に対し前記充電制御の実行を許可するように構成されている、充電器。
【請求項3】
請求項2に記載の充電器であって、
前記判定部は、前記通信部が前記第2充電器から前記第2充電情報を受信すると、前記通信部から前記第3充電器に対し、充電動作状態を表す第1充電情報を送信させるように構成されている、充電器。
【請求項4】
請求項2又は請求項3に記載の充電器であって、
前記判定部は、前記制御部に対し前記充電制御の実行を許可すると、前記通信部から前記第2充電器及び前記第3充電器に対し、充電動作状態を表す第1充電情報を送信させるように構成されている、充電器。
【請求項5】
請求項4に記載の充電器であって、
前記判定部は、
前記充電回路から前記電池パックへの充電が可能になったときに、前記通信部が前記第2充電情報及び前記第3充電情報を受信していないと判定すると、前記通信部から前記第2充電器及び前記第3充電器に対し前記第1充電情報を送信させて、前記制御部に対し前記充電制御の実行待機を継続させ、
その後、所定時間が経過する間に前記通信部が前記第2充電情報を受信したか否かを判定し、前記所定時間が経過する間に前記通信部が前記第2充電情報を受信すると、前記通信部から前記第2充電器に対し、当該充電器が充電停止状態であることを表す充電停止情報を送信させる、
ように構成されている、充電器。
【請求項6】
請求項5に記載の充電器であって、
前記判定部は、前記所定時間が経過する間に前記通信部が前記第2充電情報及び前記第3充電情報を受信していないと判定すると、前記制御部に対し前記充電制御の実行を許可するように構成されている、充電器。
【請求項7】
請求項1~請求項6の何れか1項に記載の充電器であって、
前記判定部は、前記制御部に対し前記充電制御の実行を待機させているとき、当該充電器は充電待ち状態であることを報知するように構成されている、充電器。
【請求項8】
請求項1~請求項7の何れか1項に記載の充電器であって、
前記判定部は、前記制御部に対し前記充電制御の実行を待機させているとき、前記通信部にて前記第2充電情報が受信されなくなると、前記制御部に対し前記充電制御の実行を許可するように構成されている、充電器。
【請求項9】
外部の電源から電力供給される一系統の電力供給経路に接続されて、充電器自身の筐体に装着された電池パックを充電可能な複数の充電器を備え、該複数の充電器が通信経路を介して通信可能に接続された充電システムであって、
前記複数の充電器の少なくとも1つは、請求項1~請求項8の何れか1項に記載の充電器である、充電システム。
発明の詳細な説明
【技術分野】
【0001】
本開示は、電池パックへの充電を行う充電器及び充電システムに関する。
続きを表示(約 1,500 文字)
【背景技術】
【0002】
特許文献1には、公称容量が5Ah以上の高容量の電池パックを、充電レート2C~3Cの充電電流で充電可能な充電器が開示されている。この種の充電器によれば、例えば、定格容量が8Ahの高容量の電池パックを、充電レート3Cで充電することで、充電時間を20分以下にすることが可能となる。つまり、高容量の電池パックの充電に要する時間を短くすることができる。
【先行技術文献】
【特許文献】
【0003】
特許第6699078号公報
【発明の概要】
【発明が解決しようとする課題】
【0004】
ところで、上記のように定格容量が8Ahの電池パックを充電レート3Cで充電する場合、電池パックの定格電圧が36Vで、充電電圧を40Vとすると、充電電流は24Aとなるので、充電器からの出力は、40V×24A=960Wとなる。従って、充電器における電源の変換効率を90%、力率が1とすると、AC電源の消費電力として約1100Wが必要となり、日本国内のAC100Vの商用電源で考えた場合、充電器1台当たり最大で11A流れることになる。
【0005】
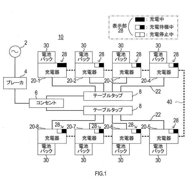
これに対し、日本における一般家庭用コンセントの定格電流は15Aであり、1つのブレーカからコンセントに供給可能な電流は20Aである。このため、1つのブレーカから電力供給を受けるコンセントに上記充電器を複数台接続し、そのうちの2台以上の充電器で電池パックへの充電を実施すると、ブレーカがオフしてしまう。この結果、各充電器への電力供給が遮断され、全ての充電器で電池パックへの充電を実施することができなくなる。
【0006】
本開示の1つの局面は、外部電源からの電力供給経路に複数の充電器が接続されている際、電池パックへの充電を実施する充電器の数を制限して、電力供給経路に流れる電流を抑制することのできる充電器及び充電システムを提供することを目的とする。
【課題を解決するための手段】
【0007】
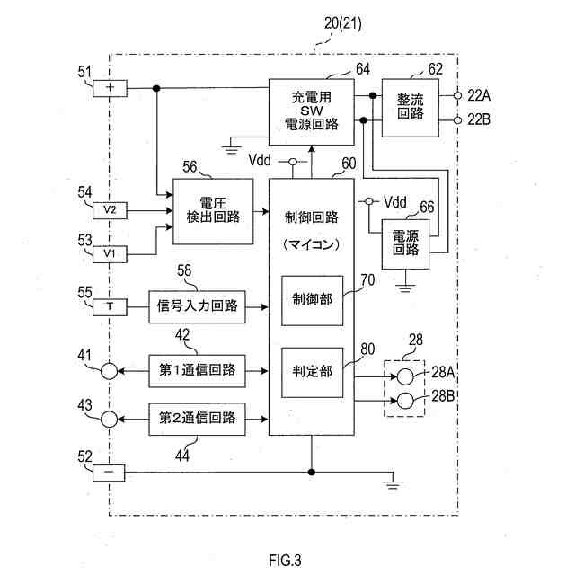
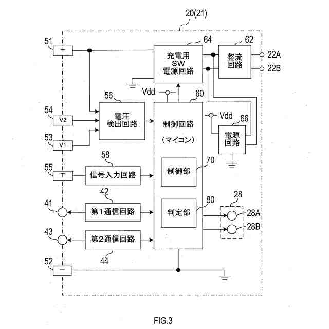
本開示の一局面の充電器は、電池パックを装着可能な筐体と、充電回路と、制御部と、通信部と、判定部を備える。充電回路は、外部の電源から電力供給を受けて、電池パックへの充電電力を生成するよう構成され、制御部は、充電回路から電池パックへの充電電力の供給を制御する充電制御、を実行するよう構成される。そして、少なくとも充電回路及び制御部は、筐体内に配置される。
【0008】
また、通信部は、外部の第2充電器との間で通信可能に構成されており、判定部は、通信部による第2充電器との通信結果に従い、制御部による充電制御の実行を許可するか否かを判定する。
【0009】
詳しくは、判定部は、電池パックが筐体に装着されて充電回路から電池パックへの充電が可能になると、通信部が第2充電器から充電動作状態を表す第2充電情報を受信しているか否かを判定する。そして、判定部は、通信部が第2充電情報を受信しているときには、制御部に対し充電制御の実行を待機させ、通信部が第2充電情報を受信していないときに、制御部に対し充電制御の実行を許可する。
【0010】
従って、本開示の充電器によれば、電池パックが筐体に装着されたときに、第2充電器が充電動作状態である場合には、電池パックへの充電開始を自動で待機することになり、外部の電源から充電器自身に流れ込む電流を待機電流に制限することができる。
(【0011】以降は省略されています)
特許ウォッチbot のツイートを見る
この特許をJ-PlatPat(特許庁公式サイト)で参照する
関連特許
株式会社マキタ
作業機
1か月前
株式会社マキタ
電動工具
19日前
株式会社マキタ
電動作業機
1か月前
株式会社マキタ
鉄筋結束機
1か月前
株式会社マキタ
現場用作業機
1か月前
株式会社マキタ
ハンマドリル
1か月前
株式会社マキタ
ハンマドリル
1か月前
株式会社マキタ
インパクト工具
1か月前
株式会社マキタ
集塵アタッチメント
11日前
株式会社マキタ
スクラバードライヤー
19日前
株式会社マキタ
充電器及び充電システム
1か月前
株式会社マキタ
インパクト工具及びインパクトレンチ
1か月前
株式会社マキタ
往復動工具、及び、往復動工具の電動モータを制御する方法
4日前
株式会社マキタ
現場用機器における光学表示器の内部に回路基板を固定する技術
1か月前
株式会社マキタ
往復動工具、及び、往復動工具における電動モータを制御する方法
4日前
株式会社マキタ
往復動工具、及び、往復動工具における電動モータの通電を保持する方法
4日前
株式会社マキタ
往復動工具、及び、往復動工具における往復部材の位置検出に関連する不具合の発生を検出する方法
4日前
個人
電気を重力で発電装置
1か月前
個人
高圧電気機器の開閉器
20日前
キヤノン電子株式会社
モータ
1か月前
キヤノン電子株式会社
モータ
1か月前
株式会社東光高岳
充電器
今日
コーセル株式会社
電源装置
1か月前
株式会社アイドゥス企画
減反モータ
20日前
トヨタ自動車株式会社
モータ
1か月前
株式会社デンソー
端子台
13日前
株式会社デンソー
回転電機
4日前
株式会社ダイヘン
送配電装置
4日前
個人
二次電池繰返パルス放電器用印刷基板
1か月前
ローム株式会社
半導体集積回路
11日前
株式会社デンソー
電力変換装置
1か月前
富士電機株式会社
電力変換装置
4日前
本田技研工業株式会社
回転電機
6日前
株式会社不二越
空冷式油圧装置
4日前
富士電機株式会社
電力変換装置
4日前
トヨタ自動車株式会社
固定子の加熱装置
1か月前
続きを見る
他の特許を見る