TOP
|
特許
|
意匠
|
商標
特許ウォッチ
Twitter
他の特許を見る
公開番号
2025156720
公報種別
公開特許公報(A)
公開日
2025-10-15
出願番号
2024059304
出願日
2024-04-02
発明の名称
走行可否判定システム
出願人
トヨタ自動車株式会社
代理人
個人
,
個人
主分類
G08G
1/00 20060101AFI20251007BHJP(信号)
要約
【課題】様々なモビリティが、所望の経路を安全に走行できるかを適切に判定できるようにする。
【解決手段】走行可否判定システムは、移動体を選択可能な移動体選択部と、前記移動体で走行したい走行経路を選択可能な経路選択部と、選択された前記移動体の情報を取得する情報取得部と、前記移動体の情報と前記走行経路とに基づいて、前記移動体が前記走行経路を安全に走行可能であるか否かを判定する判定部と、を有する。
【選択図】図1
特許請求の範囲
【請求項1】
移動体を選択可能な移動体選択部と、
前記移動体で走行したい走行経路を選択可能な経路選択部と、
選択された前記移動体の情報を取得する情報取得部と、
前記移動体の情報と前記走行経路とに基づいて、前記移動体が前記走行経路を安全に走行可能であるか否かを判定する判定部と、
を有する、走行可否判定システム。
発明の詳細な説明
【技術分野】
【0001】
本発明は、走行可否判定システムに関する。
続きを表示(約 1,000 文字)
【背景技術】
【0002】
例えば、自動車、二輪者、車椅子、キックボード、又はロボット等の様々なモビリティが実用化されている。
【0003】
また、車椅子ナビゲーションシステムにおいて、走行経路の路面情報、及び走行可否の情報等、車椅子使用者にとって有効な経路情報を収集し、提供する技術が知られている(例えば、特許文献1参照)。
【先行技術文献】
【特許文献】
【0004】
特開2003-010257号公報
【発明の概要】
【発明が解決しようとする課題】
【0005】
様々な移動体が、所望の経路を走行できるかを判定したいという要求がある。しかし、近年では、様々なタイプの小型モビリティが提供されており、路面状態に対する走破性が大きく異なる。
【0006】
従って、例えば、特許文献1に示されるような従来の技術では。様々な移動体が、所望の経路を安全に走行できるかを適切に判定することができないという課題がある。
【0007】
本発明の一実施形態は、上記の課題に鑑みてなされたものであって、様々なモビリティが、所望の経路を安全に走行できるかを適切に判定できるようにする。
【課題を解決するための手段】
【0008】
上記の課題を解決するため、本発明の一実施形態に係る走行可否判定システムは、移動体を選択可能な移動体選択部と、前記移動体で走行したい走行経路を選択可能な経路選択部と、選択された前記移動体の情報を取得する情報取得部と、前記移動体の情報と前記走行経路とに基づいて、前記移動体が前記走行経路を安全に走行可能であるか否かを判定する判定部と、を有する。
【発明の効果】
【0009】
本発明の一実施形態によれば、様々なモビリティが、所望の経路を安全に走行できるかを適切に判定できるようになる。
【図面の簡単な説明】
【0010】
本実施形態に係る走行可否判定システムの構成例を示す図である。
本実施形態に係る走行可否判定処理の例を示すフローチャートである。
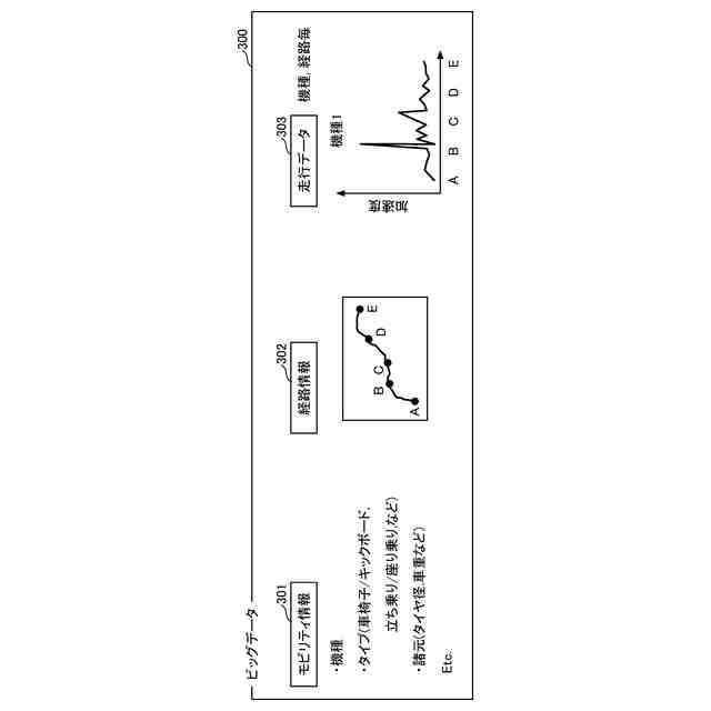
本実施形態に係るビッグデータに含まれる情報の例を示す図である。
【発明を実施するための形態】
(【0011】以降は省略されています)
この特許をJ-PlatPat(特許庁公式サイト)で参照する
関連特許
トヨタ自動車株式会社
車両
23日前
トヨタ自動車株式会社
方法
10日前
トヨタ自動車株式会社
電池
23日前
トヨタ自動車株式会社
治具
18日前
トヨタ自動車株式会社
椅子
1か月前
トヨタ自動車株式会社
電池
11日前
トヨタ自動車株式会社
車両
24日前
トヨタ自動車株式会社
方法
1か月前
トヨタ自動車株式会社
方法
1か月前
トヨタ自動車株式会社
車体
26日前
トヨタ自動車株式会社
車両
1か月前
トヨタ自動車株式会社
電池
1か月前
トヨタ自動車株式会社
方法
24日前
トヨタ自動車株式会社
車両
1か月前
トヨタ自動車株式会社
車両
19日前
トヨタ自動車株式会社
方法
24日前
トヨタ自動車株式会社
方法
23日前
トヨタ自動車株式会社
車両
1か月前
トヨタ自動車株式会社
車両
10日前
トヨタ自動車株式会社
車体
10日前
トヨタ自動車株式会社
車両
11日前
トヨタ自動車株式会社
電池
2日前
トヨタ自動車株式会社
車両
25日前
トヨタ自動車株式会社
車両
17日前
トヨタ自動車株式会社
車両
17日前
トヨタ自動車株式会社
方法
25日前
トヨタ自動車株式会社
車両
10日前
トヨタ自動車株式会社
モータ
25日前
トヨタ自動車株式会社
モータ
9日前
トヨタ自動車株式会社
サーバ
20日前
トヨタ自動車株式会社
蓄電池
10日前
トヨタ自動車株式会社
固定子
1か月前
トヨタ自動車株式会社
自動車
24日前
トヨタ自動車株式会社
正極層
23日前
トヨタ自動車株式会社
電動機
23日前
トヨタ自動車株式会社
モータ
1か月前
続きを見る
他の特許を見る