TOP
|
特許
|
意匠
|
商標
特許ウォッチ
Twitter
他の特許を見る
10個以上の画像は省略されています。
公開番号
2025175924
公報種別
公開特許公報(A)
公開日
2025-12-03
出願番号
2024159127
出願日
2024-09-13
発明の名称
MLCCシートのエッジ切断装置
出願人
イノレックス・インコーポレイテッド
代理人
個人
,
個人
,
個人
主分類
H01G
4/30 20060101AFI20251126BHJP(基本的電気素子)
要約
【課題】従来のMLCC製造工程時に使用されていないエッジ部を正確かつ迅速に除去され得るMLCCシートのエッジ切断装置を提供する。
【解決手段】本発明は、固定シートと固定シートの一面にMLCCが取り付けられた母材が着座されることができるように構成される着座部と、少なくとも1つのMLCCの上部を加圧することができるように構成される固定部と固定部によって加圧されてないエッジの少なくとも一部を加圧して曲げた後、切断面に沿って母材を切断することができるように構成されるパンチ部を含むMLCCシートのエッジ切断装置に関する。本発明に係るMLCCシートのエッジ切断装置は、切断面に対向するMLCC間の付着を防止しながら迅速かつ正確にエッジを除去することができるので生産性を向上させることができる。
【選択図】図2
特許請求の範囲
【請求項1】
固定シートと前記固定シートの一面にMLCCが取り付けられた母材が着座されることができるように構成される着座部と、
少なくとも1つのMLCCの上部を加圧することができるように構成される固定部と、
前記固定部によって加圧されていないエッジの少なくとも一部を加圧して曲げた後、切断面に沿って前記母材を切断することができるように構成されるパンチ部と、
を含むMLCCシートのエッジ切断装置。
続きを表示(約 780 文字)
【請求項2】
前記固定部は、少なくとも1つのMLCC列を加圧することができるように構成される、請求項1に記載のMLCCシートのエッジ切断装置。
【請求項3】
前記パンチ部は、
前記母材のエッジを加圧することができるように構成される余分加圧部と、
前記切断面に沿って前記母材を切断することができるように構成されるエッジ部と、
を含む、請求項2に記載のMLCCシートのエッジ切断装置。
【請求項4】
前記エッジ部と前記余分加圧部は一体的に備えられる、請求項3に記載のMLCCシートのエッジ切断装置。
【請求項5】
前記余分加圧部の下端は、前記エッジ部の下端より下側に延びて備えられる、請求項4に記載のMLCCシートのエッジ切断装置。
【請求項6】
前記余分加圧部は、前記固定シートの上面を加圧できるように構成される、請求項5に記載のMLCCシートのエッジ切断装置。
【請求項7】
前記余分加圧部の下端と前記エッジ部の下端との高さ差は、前記MLCCの高さよりも大きく構成される、請求項6に記載のMLCCシートのエッジ切断装置。
【請求項8】
前記エッジ部の幅は、前記MLCCの幅より大きく構成される、請求項7に記載のMLCCシートのエッジ切断装置。
【請求項9】
前記切断面に対向する前記余分加圧部の側面は、前記切断面と前記MLCCの幅よりも大きく離隔されて備えられる、請求項8に記載のMLCCシートのエッジ切断装置。
【請求項10】
前記余分加圧部の端部は、前記切断面の方向に所定長さに延びて形成される突出部をさらに含む、請求項7に記載のMLCCシートのエッジ切断装置。
(【請求項11】以降は省略されています)
発明の詳細な説明
【技術分野】
【0001】
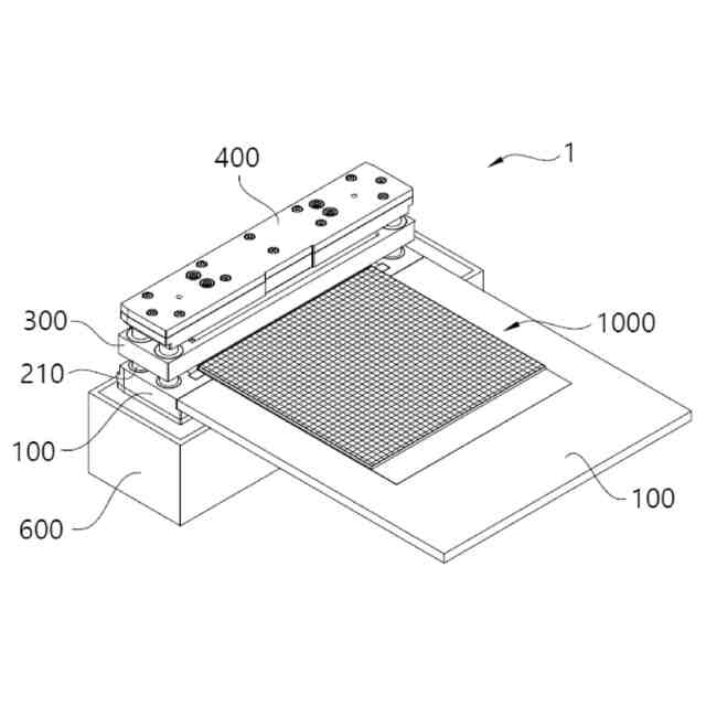
本発明は、MLCCシートのエッジ切断装置に関し、より詳細には、母材で製造されたMLCCを切断した後に未使用のエッジ部を正確に切断され得る切断装置に関する。
続きを表示(約 1,000 文字)
【背景技術】
【0002】
MLCC(Multi-Layer Ceramic Capacitor)とは、デジタル産業の米と呼ばれるほど、ほぼすべての電子機器に適用されている電子部品である。MLCCは、製造工程上、多層セラミックと金属層を含みから製造される。製造された一つの塊を所望のサイズに切断した後、個々の分離プロセスが必要である。
【0003】
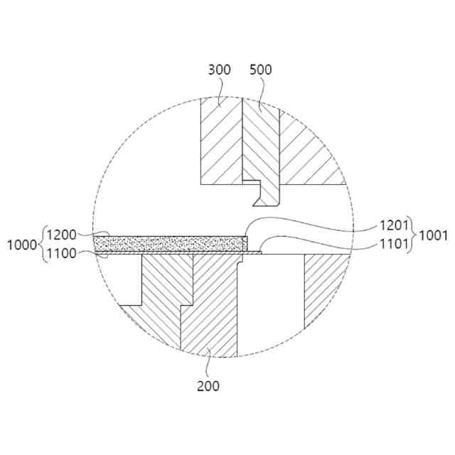
MLCCは、切断された後にはMLCCが固定シートの上面に取り付けられた状態で維持され得る。このとき、切断面に応じて様々な配列で構成される。一例として切断されたMLCCは、N×Mに配列され得る。これに関して、MLCCの切断後に分離する工程に適用される技術が特許文献1に開示されている。
【0004】
しかしながら、従来には、MLCCの切断後のエッジを切断する際に慣用的な技術を適用する場合、高温のMLCC及び接着性のある特性により正確な余分の切断が難しく、時間がかかり生産性が低下する問題点があった。
【先行技術文献】
【特許文献】
【0005】
大韓民国登録特許第2400169号
【発明の概要】
【発明が解決しようとする課題】
【0006】
本発明は、従来のMLCC製造工程時に使用されていないエッジ部を正確かつ迅速に除去され得るMLCCシートのエッジ切断装置を提供することにその目的がある。
【課題を解決するための手段】
【0007】
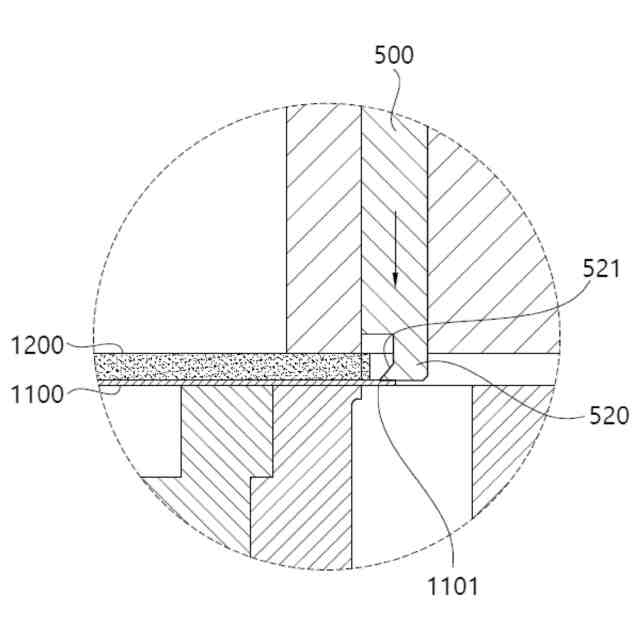
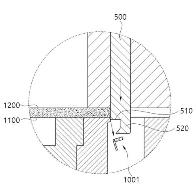
前記課題の解決手段として、固定シートと固定シートの一面にMLCCが付着された母材が着座できるように構成される着座部、少なくとも1つのMLCCの上部を加圧できるように構成される固定部及び固定部により、加圧されてないエッジ部の少なくとも一部を加圧して曲げた後に切断面に沿って母材を切断できるように構成されるパンチ部を含むMLCCシートのエッジ切断装置が提供され得る。
【0008】
一方、固定部は、少なくとも1つのMLCC列を加圧するように構成され得る。
【0009】
一方、パンチ部は、母材のエッジを加圧できるように構成される余分加圧部と、切断面に沿って母材を切断できるように構成されるエッジ部を含むことができる。
【0010】
一方、エッジ部と余分加圧部は一体的に備えられ得る。
(【0011】以降は省略されています)
この特許をJ-PlatPat(特許庁公式サイト)で参照する
関連特許
東ソー株式会社
絶縁電線
1か月前
APB株式会社
蓄電セル
1か月前
日新イオン機器株式会社
イオン源
1か月前
ローム株式会社
半導体装置
1か月前
マクセル株式会社
電源装置
1か月前
株式会社東芝
端子台
1か月前
富士電機株式会社
電磁接触器
14日前
株式会社ホロン
冷陰極電子源
1か月前
株式会社GSユアサ
蓄電装置
1か月前
三菱電機株式会社
回路遮断器
22日前
株式会社GSユアサ
蓄電装置
1か月前
株式会社GSユアサ
蓄電装置
28日前
株式会社GSユアサ
蓄電装置
14日前
トヨタ自動車株式会社
冷却構造
1か月前
トヨタ自動車株式会社
蓄電装置
1か月前
日新イオン機器株式会社
基板処理装置
1か月前
北道電設株式会社
配電具カバー
1か月前
トヨタ自動車株式会社
バッテリ
1か月前
株式会社トクミ
ケーブル
今日
日本特殊陶業株式会社
保持装置
27日前
ホシデン株式会社
複合コネクタ
8日前
大電株式会社
電線又はケーブル
6日前
トヨタ自動車株式会社
蓄電装置
6日前
日本特殊陶業株式会社
保持装置
1か月前
日本無線株式会社
レーダアンテナ
29日前
日亜化学工業株式会社
半導体レーザ素子
1か月前
トヨタ自動車株式会社
密閉型電池
1か月前
トヨタ自動車株式会社
電池パック
1か月前
トヨタ自動車株式会社
電池パック
1か月前
矢崎総業株式会社
コネクタ
14日前
甲神電機株式会社
変流器及び零相変流器
29日前
住友電装株式会社
コネクタ
1か月前
住友電装株式会社
コネクタ
14日前
株式会社トクヤマ
シリコンエッチング液
1か月前
ローム株式会社
半導体装置
1か月前
株式会社レゾナック
冷却器
22日前
続きを見る
他の特許を見る