TOP
|
特許
|
意匠
|
商標
特許ウォッチ
Twitter
他の特許を見る
10個以上の画像は省略されています。
公開番号
2025175778
公報種別
公開特許公報(A)
公開日
2025-12-03
出願番号
2024082035
出願日
2024-05-20
発明の名称
基板処理装置、および基板処理方法
出願人
東京エレクトロン株式会社
代理人
個人
,
個人
主分類
H01L
21/683 20060101AFI20251126BHJP(基本的電気素子)
要約
【課題】パーティクルを抑制できる技術を提供する。
【解決手段】基板処理装置は、処理容器と、前記処理容器の内部に回転可能に設けられる回転テーブルと、前記回転テーブルと一体に回転可能、かつ前記回転テーブルの回転中心から離れた位置において前記回転テーブルと相対的に回転可能に設けられる載置台と、前記回転テーブルの回転および前記載置台の回転を制御する制御部と、を含む。前記制御部は、前記回転テーブルの回転に伴って生じる公転遠心力よりも前記載置台の回転に伴って生じる自転遠心力が大きくなるように、前記回転テーブルの回転および前記載置台の回転を制御する。
【選択図】図6
特許請求の範囲
【請求項1】
処理容器と、
前記処理容器の内部に回転可能に設けられる回転テーブルと、
前記回転テーブルと一体に回転可能、かつ前記回転テーブルの回転中心から離れた位置において前記回転テーブルと相対的に回転可能に設けられ、基板を載置する載置台と、
前記回転テーブルの回転および前記載置台の回転を制御する制御部と、を含み、
前記制御部は、
前記回転テーブルの回転に伴って生じる公転遠心力よりも前記載置台の回転に伴って生じる自転遠心力が大きくなるように、前記回転テーブルの回転および前記載置台の回転を制御する、
基板処理装置。
続きを表示(約 870 文字)
【請求項2】
前記載置台の回転における自転回転速度が、前記回転テーブルの回転における公転回転速度よりも速い、
請求項1に記載の基板処理装置。
【請求項3】
前記自転回転速度は、前記公転回転速度の2.5倍以上である、
請求項2に記載の基板処理装置。
【請求項4】
前記公転回転速度は、40rpm以上であり、
前記自転回転速度は、前記公転回転速度の10倍以上である、
請求項3に記載の基板処理装置。
【請求項5】
前記載置台の回転中心から基板の中心までの回転半径は、前記回転テーブルの回転中心から前記載置台の回転中心までの回転半径の1/10以下である、前記
請求項1乃至4のいずれか1項に記載の基板処理装置。
【請求項6】
前記載置台は、前記基板を載置する底壁と、前記底壁の外縁から突出し、前記基板の外縁が接触可能な側壁とを有し、当該底壁および当該側壁で囲われた凹部を備える、
請求項1乃至4のいずれか1項に記載の基板処理装置。
【請求項7】
前記凹部は、平面視で正円状に形成され、かつ当該凹部の中心と前記載置台の回転中心とがずれている、
請求項6に記載の基板処理装置。
【請求項8】
前記凹部は、平面視で楕円状に形成されている、
請求項6に記載の基板処理装置。
【請求項9】
処理容器と、
前記処理容器の内部に回転可能に設けられる回転テーブルと、
前記回転テーブルと一体に回転可能、かつ前記回転テーブルの回転中心から離れた位置において前記回転テーブルと相対的に回転可能に設けられ、基板を載置する載置台と、を含む基板処理装置の基板処理方法であって、
前記回転テーブルおよび前記載置台を同時に回転させる工程において、前記回転テーブルの回転に伴って生じる公転遠心力よりも前記載置台の回転に伴って生じる自転遠心力を大きくする、
基板処理方法。
発明の詳細な説明
【技術分野】
【0001】
本開示は、基板処理装置、および基板処理方法に関する。
続きを表示(約 1,700 文字)
【背景技術】
【0002】
特許文献1には、処理容器(真空容器)と、処理容器の内部に回転(公転)可能に設けられる回転テーブルと、を有する基板処理装置が開示されている。また、基板処理装置は、回転テーブルの回転中心から離れた位置の周方向上に、基板を載置する複数の載置台を備える。各載置台は、回転テーブルと一体に回転可能、かつ回転テーブルと相対的に回転(自転)可能に構成されている。
【0003】
基板処理装置の各載置台に載置された各基板は、回転テーブルの回転に伴う遠心力を受けて各載置台内を移動する。特に、基板処理装置は、載置台の回転により載置台内の基板の位置が変化することで、基板の移動機会が増加する。基板の移動によってパーティクルが発生し易くなる。
【先行技術文献】
【特許文献】
【0004】
特開2021-111758号公報
【発明の概要】
【発明が解決しようとする課題】
【0005】
本開示は、パーティクルを抑制できる技術を提供する。
【課題を解決するための手段】
【0006】
本開示の一態様によれば、処理容器と、前記処理容器の内部に回転可能に設けられる回転テーブルと、前記回転テーブルと一体に回転可能、かつ前記回転テーブルの回転中心から離れた位置において前記回転テーブルと相対的に回転可能に設けられ、基板を載置する載置台と、前記回転テーブルの回転および前記載置台の回転を制御する制御部と、を含み、前記制御部は、前記回転テーブルの回転に伴って生じる公転遠心力よりも前記載置台の回転に伴って生じる自転遠心力が大きくなるように、前記回転テーブルの回転および前記載置台の回転を制御する、基板処理装置が提供される。
【発明の効果】
【0007】
一態様によれば、パーティクルを抑制できる。
【図面の簡単な説明】
【0008】
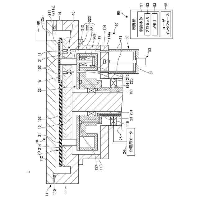
実施形態に係る基板処理装置の構成例を示す縦断面図である。
図1の基板処理装置の処理容器内の構成を示す平面図である。
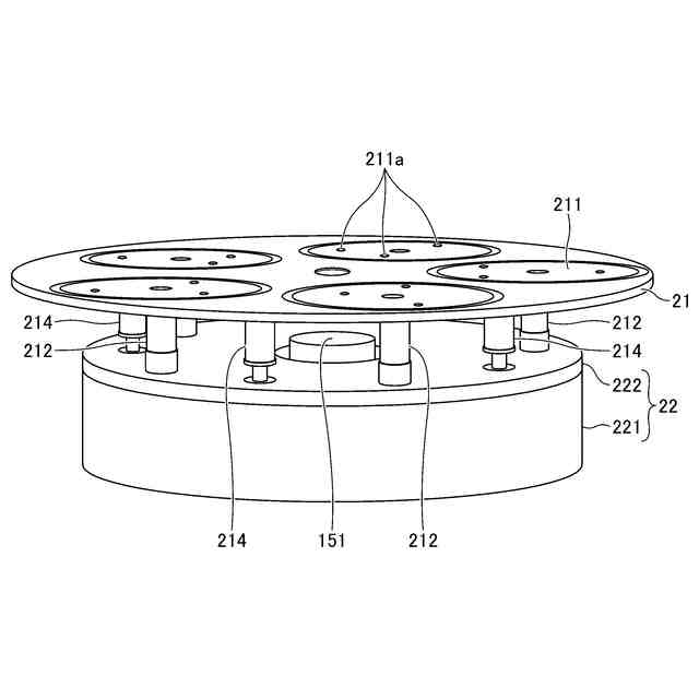
図1の基板処理装置の回転テーブルおよび載置台の構成を示す斜視図である。
図4(A)は、参考例に係る基板処理装置の回転テーブルおよび各載置台の回転状態を示す平面図である。図4(B)は、参考例に係る載置台における基板の状態を示す図である。
図5(A)は、実施形態に係る基板処理装置の載置台を示す平面図である。図5(B)は、図5(A)のVB-VB線の断面図である。
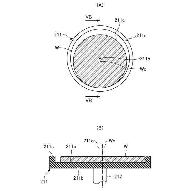
図6(A)は、実施形態に係る基板処理装置の回転テーブルおよび各載置台の回転状態を示す平面図である。図6(B)は、載置台における基板Wの状態を示す図である。
図7(A)は、載置台の直径φを302mmとした場合の回転テーブルの公転回転速度と載置台の自転回転速度との関係を示す表である。図7(B)は、載置台の直径φを340mmとした場合の回転テーブルの公転回転速度と載置台の自転回転速度との関係を示す表である。
実施形態に係る基板処理方法のフローチャートである。
図9(A)は、第1変形例に係る載置台を拡大して示す平面図である。図9(B)は、第2変形例に係る載置台を拡大して示す平面図である。
【発明を実施するための形態】
【0009】
以下、図面を参照して本開示を実施するための形態について説明する。各図面において、同一構成部分には同一符号を付し、重複した説明を省略する場合がある。
【0010】
[基板処理装置の基本構成]
図1~図3を参照して、実施形態に係る基板処理装置1について説明する。図1は、実施形態に係る基板処理装置1の構成例を示す縦断面図である。図2は、図1の基板処理装置1の処理容器11内の構成を示す平面図である。なお、図2においては、説明の便宜上、天板の図示を省略している。図3は、図1の基板処理装置1の回転テーブル21および載置台211の構成を示す斜視図である。
(【0011】以降は省略されています)
この特許をJ-PlatPat(特許庁公式サイト)で参照する
関連特許
東京エレクトロン株式会社
クリーニング方法及び成膜装置
今日
東京エレクトロン株式会社
基板保持装置および接合システム
今日
APB株式会社
蓄電セル
1か月前
東ソー株式会社
絶縁電線
1か月前
マクセル株式会社
電源装置
1か月前
日新イオン機器株式会社
イオン源
1か月前
株式会社東芝
端子台
1か月前
ローム株式会社
半導体装置
1か月前
株式会社GSユアサ
蓄電装置
1か月前
三菱電機株式会社
回路遮断器
22日前
株式会社GSユアサ
蓄電設備
1か月前
株式会社GSユアサ
蓄電設備
1か月前
株式会社GSユアサ
蓄電装置
28日前
株式会社ホロン
冷陰極電子源
1か月前
富士電機株式会社
電磁接触器
14日前
株式会社GSユアサ
蓄電装置
14日前
株式会社GSユアサ
蓄電装置
1か月前
北道電設株式会社
配電具カバー
1か月前
トヨタ自動車株式会社
冷却構造
1か月前
日本特殊陶業株式会社
保持装置
1か月前
大電株式会社
電線又はケーブル
6日前
ホシデン株式会社
複合コネクタ
8日前
日本特殊陶業株式会社
保持装置
27日前
トヨタ自動車株式会社
蓄電装置
1か月前
トヨタ自動車株式会社
バッテリ
1か月前
トヨタ自動車株式会社
蓄電装置
6日前
株式会社トクミ
ケーブル
今日
日新イオン機器株式会社
基板処理装置
1か月前
住友電装株式会社
コネクタ
1か月前
トヨタ自動車株式会社
電池パック
1か月前
日亜化学工業株式会社
半導体レーザ素子
1か月前
ヒロセ電機株式会社
電気コネクタ
14日前
株式会社レゾナック
冷却器
22日前
住友電装株式会社
コネクタ
14日前
株式会社トクヤマ
シリコンエッチング液
1か月前
株式会社トクヤマ
シリコンエッチング液
1か月前
続きを見る
他の特許を見る