TOP
|
特許
|
意匠
|
商標
特許ウォッチ
Twitter
他の特許を見る
10個以上の画像は省略されています。
公開番号
2025176433
公報種別
公開特許公報(A)
公開日
2025-12-04
出願番号
2024082599
出願日
2024-05-21
発明の名称
クリーニング方法及び成膜装置
出願人
東京エレクトロン株式会社
代理人
個人
,
個人
主分類
C23C
16/56 20060101AFI20251127BHJP(金属質材料への被覆;金属質材料による材料への被覆;化学的表面処理;金属質材料の拡散処理;真空蒸着,スパッタリング,イオン注入法,または化学蒸着による被覆一般;金属質材料の防食または鉱皮の抑制一般)
要約
【課題】クリーニングの後に行われる1回目の成膜処理と2回目以降の成膜処理との間で膜特性に差が生じることを低減できる技術を提供する。
【解決手段】本開示の一態様によるクリーニング方法は、処理容器内に複数枚の基板を収容してモリブデン膜を成膜する成膜装置のクリーニング方法であって、(a)前記処理容器内にクリーニングガスを供給し、前記処理容器内に堆積したモリブデン膜を除去する工程と、(b)前記工程(a)の後に、前記処理容器内を窒化モリブデン膜でコーティングする工程と、(c)前記工程(b)の後に、前記処理容器内をモリブデン膜でコーティングする工程と、を有する。
【選択図】図3
特許請求の範囲
【請求項1】
処理容器内に複数枚の基板を収容してモリブデン膜を成膜する成膜装置のクリーニング方法であって、
(a)前記処理容器内にクリーニングガスを供給し、前記処理容器内に堆積したモリブデン膜を除去する工程と、
(b)前記工程(a)の後に、前記処理容器内を窒化モリブデン膜でコーティングする工程と、
(c)前記工程(b)の後に、前記処理容器内をモリブデン膜でコーティングする工程と、
を有する、クリーニング方法。
続きを表示(約 810 文字)
【請求項2】
前記工程(a)は、前記処理容器内において前記複数枚の基板に前記モリブデン膜を成膜する処理が行われた後に行われる、
請求項1に記載のクリーニング方法。
【請求項3】
前記工程(b)は、前記処理容器内にモリブデン含有ガスと窒化ガスとを交互に供給することを含む、
請求項1に記載のクリーニング方法。
【請求項4】
前記工程(c)は、前記処理容器内にモリブデン含有ガスと還元ガスとを交互に供給することを含む、
請求項1に記載のクリーニング方法。
【請求項5】
前記工程(c)は、前記工程(b)よりも高い温度で行われる、
請求項1に記載のクリーニング方法。
【請求項6】
前記工程(c)は、前記工程(b)と同じ温度で行われる、
請求項1に記載のクリーニング方法。
【請求項7】
前記工程(a)、前記工程(b)及び前記工程(c)は、前記処理容器内に基板がない状態で行われる、
請求項1に記載のクリーニング方法。
【請求項8】
前記クリーニングガスは、フッ素ガスである、
請求項1乃至7のいずれか一項に記載のクリーニング方法。
【請求項9】
前記処理容器内には、第1表面と、第1表面よりも低い温度に維持された第2表面とがあり、
前記工程(b)は、前記第1表面及び前記第2表面を前記窒化モリブデン膜でコーティングすることを含む、
請求項1乃至7のいずれか一項に記載のクリーニング方法。
【請求項10】
前記第1表面は、前記複数枚の基板を保持する基板保持具の表面であり、
前記第2表面は、前記基板保持具を支持する支持体の表面である、
請求項9に記載のクリーニング方法。
(【請求項11】以降は省略されています)
発明の詳細な説明
【技術分野】
【0001】
本開示は、クリーニング方法及び成膜装置に関する。
続きを表示(約 1,200 文字)
【背景技術】
【0002】
絶縁膜の上にモリブデン膜を形成する技術が知られている(例えば、特許文献1参照)。
【先行技術文献】
【特許文献】
【0003】
特開2022-186307号公報
【発明の概要】
【発明が解決しようとする課題】
【0004】
本開示は、クリーニングの後に行われる1回目の成膜処理と2回目以降の成膜処理との間で膜特性に差が生じることを低減できる技術を提供する。
【課題を解決するための手段】
【0005】
本開示の一態様によるクリーニング方法は、処理容器内に複数枚の基板を収容してモリブデン膜を成膜する成膜装置のクリーニング方法であって、(a)前記処理容器内にクリーニングガスを供給し、前記処理容器内に堆積したモリブデン膜を除去する工程と、(b)前記工程(a)の後に、前記処理容器内を窒化モリブデン膜でコーティングする工程と、(c)前記工程(b)の後に、前記処理容器内をモリブデン膜でコーティングする工程と、を有する。
【発明の効果】
【0006】
本開示によれば、クリーニングの後に行われる1回目の成膜処理と2回目以降の成膜処理との間で膜特性に差が生じることを低減できる。
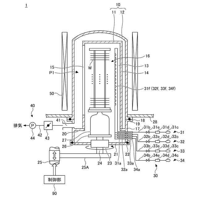
【図面の簡単な説明】
【0007】
実施形態に係る成膜装置を示す鉛直断面図である。
実施形態に係る成膜装置を示す水平断面図である。
実施形態に係るクリーニング方法を示すフローチャートである。
第1コーティング工程の一例を示すフローチャートである。
第2コーティング工程の一例を示すフローチャートである。
第1回数と窒化モリブデン膜の厚さとの関係を示す図である。
第2回数とモリブデン膜の厚さとの関係を示す図である。
実施例におけるモリブデン膜の厚さの測定結果を示す図である。
比較例におけるモリブデン膜の厚さの測定結果を示す図である。
【発明を実施するための形態】
【0008】
以下、添付の図面を参照しながら、本開示の限定的でない例示の実施形態について説明する。添付の全図面中、同一又は対応する部材又は部品については、同一又は対応する参照符号を付し、重複する説明を省略する。
【0009】
〔成膜装置〕
図1及び図2を参照し、実施形態に係る成膜装置1について説明する。図1は、実施形態に係る成膜装置1を示す鉛直断面図である。図2は、実施形態に係る成膜装置1を示す水平断面図である。
【0010】
成膜装置1は、複数枚の基板Wに対して一度に処理を行うバッチ式の装置である。基板Wは、例えば半導体ウエハである。成膜装置1は、処理容器10と、ガス供給部30と、排気部40と、加熱部50と、制御部90とを備える。
(【0011】以降は省略されています)
この特許をJ-PlatPat(特許庁公式サイト)で参照する
関連特許
個人
フッ素樹脂塗装鋼板の保管方法
4か月前
株式会社京都マテリアルズ
めっき部材
2か月前
株式会社カネカ
製膜装置
2か月前
株式会社カネカ
製膜装置
2か月前
トヨタ自動車株式会社
治具
1か月前
株式会社KSマテリアル
防錆組成物
4か月前
株式会社三愛工業所
アルミニウム材
6か月前
エドワーズ株式会社
真空排気システム
1か月前
日本化学産業株式会社
複合めっき皮膜
3か月前
台灣晶技股ふん有限公司
無電解めっき法
3か月前
日東電工株式会社
積層体の製造方法
6か月前
東京エレクトロン株式会社
成膜方法
2か月前
株式会社カネカ
気化装置及び製膜装置
1か月前
JFEスチール株式会社
鋼部品
4か月前
株式会社内村
防食具、防食具の設置方法
2か月前
東京エレクトロン株式会社
基板処理装置
7か月前
住友重機械工業株式会社
成膜装置
5か月前
東京エレクトロン株式会社
基板処理装置
6か月前
DOWAサーモテック株式会社
浸炭方法
6か月前
住友重機械工業株式会社
成膜装置
4か月前
株式会社アルバック
マスクユニット
1か月前
信越半導体株式会社
真空蒸着方法
6か月前
TOTO株式会社
構造部材
1か月前
株式会社アルバック
基板ステージ装置
2か月前
黒崎播磨株式会社
溶射装置
2か月前
株式会社デンソー
接合体
2か月前
フジタ技研株式会社
被覆部材、及び、表面被覆金型
2か月前
国立大学法人千葉大学
成膜装置及び成膜方法
3か月前
日本コーティングセンター株式会社
炭化ホウ素被膜
1か月前
ケニックス株式会社
蒸発源装置
3か月前
黒崎播磨株式会社
溶射用ランス
6か月前
川崎重工業株式会社
水素遮蔽膜
3か月前
信越化学工業株式会社
炭化金属被覆材料
15日前
株式会社アルバック
成膜装置、および搬送方法
4か月前
学校法人静岡理工科大学
放電被覆装置及び放電被覆方法
3か月前
株式会社神戸製鋼所
成膜方法
4か月前
続きを見る
他の特許を見る