TOP
|
特許
|
意匠
|
商標
特許ウォッチ
Twitter
他の特許を見る
10個以上の画像は省略されています。
公開番号
2025146097
公報種別
公開特許公報(A)
公開日
2025-10-03
出願番号
2024046700
出願日
2024-03-22
発明の名称
製膜装置
出願人
株式会社カネカ
代理人
個人
,
個人
主分類
C23C
16/455 20060101AFI20250926BHJP(金属質材料への被覆;金属質材料による材料への被覆;化学的表面処理;金属質材料の拡散処理;真空蒸着,スパッタリング,イオン注入法,または化学蒸着による被覆一般;金属質材料の防食または鉱皮の抑制一般)
要約
【課題】本発明は、ガス放出部内で材料ガスを十分に混合できる製膜装置を提供する。
【解決手段】第1ガス供給系統と、第2ガス供給系統と、ガス放出部と、製膜室を有し、ガス放出部は、製膜室内に配されており、ガス放出部は、一又は複数のガス放出口を有し、ガス放出口から基材に対して製膜ガスを放出可能であり、ガス放出部は、内部空間と、第1ガス供給系統から供給された第1材料ガスを内部空間に分散する第1ガス分散部と、第2ガス供給系統から供給された第2材料ガスを内部空間に分散する第2ガス分散部と、阻害部を有し、第2ガス分散部は、第2筐体部と、第2筐体部の内部から内部空間に第2材料ガスを導入する第2ガス導入部を有しており、内部空間には、阻害部が第2ガス導入部と対向するように設けられ、かつ、阻害部の第2ガス導入部とは反対側に迂回空間がある構成とする。
【選択図】図11
特許請求の範囲
【請求項1】
基材に対して薄膜を製膜する製膜装置であって、
第1ガス供給系統と、第2ガス供給系統と、ガス放出部と、製膜室を有し、
前記第1ガス供給系統は、第1材料ガスを前記ガス放出部に供給可能であり、
前記第2ガス供給系統は、第2材料ガスを前記ガス放出部に供給可能であり、
前記ガス放出部は、前記製膜室内に配されており、
前記ガス放出部は、一又は複数のガス放出口を有し、前記ガス放出口から前記基材に対して製膜ガスを放出可能であり、
前記ガス放出部は、内部空間と、前記第1ガス供給系統から供給された第1材料ガスを前記内部空間に分散する第1ガス分散部と、前記第2ガス供給系統から供給された第2材料ガスを前記内部空間に分散する第2ガス分散部と、阻害部を有し、
前記第2ガス分散部は、第2筐体部と、前記第2筐体部の内部から前記内部空間に第2材料ガスを導入する第2ガス導入部を有しており、
前記内部空間には、前記阻害部が前記第2ガス導入部と対向するように設けられ、かつ、前記阻害部の前記第2ガス導入部とは反対側に迂回空間がある、製膜装置。
続きを表示(約 640 文字)
【請求項2】
前記第1ガス分散部は、第1筐体部と、前記第1筐体部の内部から前記内部空間に第1材料ガスを導入する第1ガス導入部を有しており、
前記第1ガス導入部は、前記第1筐体部から突出し、前記阻害部を構成する、請求項1に記載の製膜装置。
【請求項3】
前記第1ガス分散部は、前記第1筐体部の内部から前記内部空間に第1材料ガスを導入する第1ガス導入部を複数有しており、
前記第1ガス分散部は、平面視したときに、面積が前記第2ガス分散部の面積よりも大きく、かつ前記第2ガス分散部の全体と重なっており、
前記第1筐体部は、円柱状又は回転対称体状であり、
各第1ガス導入部は、前記第1筐体部から前記第2ガス分散部側に突出し、かつ平面視したときに前記第2ガス分散部の周囲を囲む、請求項2に記載の製膜装置。
【請求項4】
前記第2ガス分散部は、円柱状又は回転対称体状の第2筐体部と、前記第2筐体部の内部から前記内部空間に第2材料ガスを導入する第2ガス導入部を有しており、
前記第1筐体部の中心軸は、前記第2筐体部の中心軸と同軸である、請求項3に記載の製膜装置。
【請求項5】
前記第1ガス導入部は、多孔質体である、請求項2~4のいずれか1項に記載の製膜装置。
【請求項6】
前記第1材料ガスは、前記第2材料ガスよりも気化温度が高い、請求項2~4のいずれか1項に記載の製膜装置。
発明の詳細な説明
【技術分野】
【0001】
本発明は、基材に薄膜を製膜する製膜装置に関する。
続きを表示(約 1,900 文字)
【背景技術】
【0002】
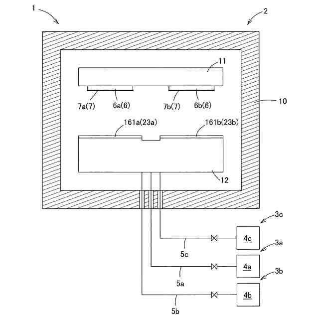
従来から、有機EL装置の各層の製膜には、真空蒸着装置が使用されている(例えば、特許文献1)。
特許文献1の蒸着装置は、いわゆる、ガスキャリア方式の蒸着装置であり、固体状(主に粉体状)の薄膜形成材料を高温のキャリアガスで気化室内に導入するとともに、気化室内で薄膜形成材料を加熱し、気化させて薄膜材料ガスを生成し、キャリアガスで薄膜材料ガスを製膜室まで圧送し、製膜室内においてガス放出部からキャリアガスと薄膜材料ガスの混合ガスを基材に対して吹き付ける構造となっている。
【先行技術文献】
【特許文献】
【0003】
特開2022-135270号公報
【発明の概要】
【発明が解決しようとする課題】
【0004】
ところで、有機EL装置の有機発光層は、ホスト材料にドーパント材料(発光材料)を添加して製膜される。
特許文献1の蒸着装置において有機発光層を共蒸着する場合、ホスト材料を供給するガス供給系統とドーパント材料を供給するガス供給系統のそれぞれから、薄膜材料ガスを製膜室内のガス放出部に導入し、それぞれの薄膜材料ガスをガス放出部で混合して製膜ガスとして基材に対して吹き付ける。
このとき、ガス放出部内での薄膜材料ガスの分散が不十分な場合、基材上で膜厚分布が生じてしまい、基材上に均一な薄膜を製膜できないおそれがあった。
【0005】
そこで、本発明は、ガス放出部内で材料ガスを十分に混合できる製膜装置を提供することを課題とする。
【課題を解決するための手段】
【0006】
上記した課題を解決するための本発明の一つの様相は、基材に対して薄膜を製膜する製膜装置であって、第1ガス供給系統と、第2ガス供給系統と、ガス放出部と、製膜室を有し、前記第1ガス供給系統は、第1材料ガスを前記ガス放出部に供給可能であり、前記第2ガス供給系統は、第2材料ガスを前記ガス放出部に供給可能であり、前記ガス放出部は、前記製膜室内に配されており、前記ガス放出部は、一又は複数のガス放出口を有し、前記ガス放出口から前記基材に対して製膜ガスを放出可能であり、前記ガス放出部は、内部空間と、前記第1ガス供給系統から供給された第1材料ガスを前記内部空間に分散する第1ガス分散部と、前記第2ガス供給系統から供給された第2材料ガスを前記内部空間に分散する第2ガス分散部と、阻害部を有し、前記第2ガス分散部は、第2筐体部と、前記第2筐体部の内部から前記内部空間に第2材料ガスを導入する第2ガス導入部を有しており、前記内部空間には、前記阻害部が前記第2ガス導入部と対向するように設けられ、かつ、前記阻害部の前記第2ガス導入部とは反対側に迂回空間がある、製膜装置である。
【0007】
本様相によれば、内部空間に阻害部が第2ガス導入部と対向するように設けられ、かつ、阻害部の第2ガス導入部とは反対側に迂回空間がある。そのため、第2材料ガスが進行方向を阻害する阻害部を回り込むように分散した後に迂回空間で集まりやすいので、内部空間の第1材料ガスと混合されやすい。
【0008】
好ましい様相は、第1材料ガスを前記ガス放出部に供給可能な第1ガス供給系統を有し、前記ガス放出部は、前記第1ガス供給系統から供給された第1材料ガスを前記内部空間に分散する第1ガス分散部を有し、前記第1ガス分散部は、第1筐体部と、前記第1筐体部の内部から前記内部空間に第1材料ガスを導入する第1ガス導入部を有しており、前記第1ガス導入部は、前記第1筐体部から突出し、前記阻害部を構成する。
【0009】
好ましい様相は、前記第1ガス分散部は、前記第1筐体部の内部から前記内部空間に第1材料ガスを導入する第1ガス導入部を複数有しており、前記第1ガス分散部は、平面視したときに、面積が前記第2ガス分散部の面積よりも大きく、かつ前記第2ガス分散部の全体と重なっており、前記第1筐体部は、円柱状又は回転対称体状であり、各第1ガス導入部は、前記第1筐体部から前記第2ガス分散部側に突出し、かつ平面視したときに前記第2ガス分散部の周囲を囲む。
【0010】
好ましい様相は、前記第2ガス分散部は、円柱状又は回転対称体状の第2筐体部と、前記第2筐体部の内部から前記内部空間に第2材料ガスを導入する第2ガス導入部を有しており、前記第1筐体部の中心軸は、前記第2筐体部の中心軸と同軸である。
(【0011】以降は省略されています)
この特許をJ-PlatPat(特許庁公式サイト)で参照する
関連特許
株式会社カネカ
飲料
21日前
株式会社カネカ
飲料
21日前
株式会社カネカ
抗菌剤
1か月前
株式会社カネカ
医療用具
25日前
株式会社カネカ
塗布装置
29日前
株式会社カネカ
積層装置
29日前
株式会社カネカ
製膜装置
25日前
株式会社カネカ
製膜装置
25日前
株式会社カネカ
カテーテル
19日前
株式会社カネカ
カテーテル
19日前
株式会社カネカ
カテーテル
19日前
株式会社カネカ
カテーテル
19日前
株式会社カネカ
カテーテル
20日前
株式会社カネカ
カテーテル
25日前
株式会社カネカ
カテーテル
18日前
株式会社カネカ
カテーテル
25日前
株式会社カネカ
カテーテル
25日前
株式会社カネカ
正極活物質
29日前
株式会社カネカ
汎用かつら
1か月前
株式会社カネカ
生体内留置具
25日前
株式会社カネカ
酵母含有菓子
20日前
株式会社カネカ
硬化性組成物
1か月前
株式会社カネカ
樹脂チューブ
1か月前
株式会社カネカ
シーリング材
18日前
株式会社カネカ
油脂の製造方法
27日前
株式会社カネカ
顆粒の製造方法
29日前
株式会社カネカ
延長カテーテル
1か月前
株式会社カネカ
医療用具セット
21日前
株式会社カネカ
重量物載置架台
18日前
株式会社カネカ
フィルム延伸装置
27日前
株式会社カネカ
フィルム延伸装置
29日前
株式会社カネカ
バルーンカテーテル
27日前
株式会社カネカ
太陽電池モジュール
27日前
株式会社カネカ
可撓性ガス拡散電極
29日前
株式会社カネカ
太陽電池モジュール
18日前
株式会社カネカ
樹脂粒子の製造方法
1か月前
続きを見る
他の特許を見る