TOP
|
特許
|
意匠
|
商標
特許ウォッチ
Twitter
他の特許を見る
公開番号
2025147477
公報種別
公開特許公報(A)
公開日
2025-10-07
出願番号
2024047737
出願日
2024-03-25
発明の名称
バルーンカテーテル
出願人
株式会社カネカ
代理人
弁理士法人アスフィ国際特許事務所
主分類
A61M
25/10 20130101AFI20250930BHJP(医学または獣医学;衛生学)
要約
【課題】バルーンの位置ずれが生じにくく、目的の箇所へ正確に圧力を加えることができるバルーンカテーテルを提供する。
【解決手段】互いに直列に配置されている複数の内側バルーン40と、内側バルーン40の径方向外方であって互いに並列に配置されている複数の外側バルーン50と、を有しているバルーンカテーテル1。
【選択図】図2
特許請求の範囲
【請求項1】
互いに直列に配置されている複数の内側バルーンと、
前記内側バルーンの径方向外方であって互いに並列に配置されている複数の外側バルーンと、を有しているバルーンカテーテル。
続きを表示(約 1,400 文字)
【請求項2】
長手方向における前記内側バルーンの数は、前記長手方向における前記外側バルーンの数よりも多い請求項1に記載のバルーンカテーテル。
【請求項3】
前記内側バルーンの拡張状態における前記内側バルーンの遠位端から前記内側バルーンの近位端までの長さは、前記外側バルーンの拡張状態における前記外側バルーンの遠位端から前記外側バルーンの近位端までの長さよりも短い請求項1に記載のバルーンカテーテル。
【請求項4】
前記複数の内側バルーンは、遠位側内側バルーンと、前記遠位側内側バルーンに隣接する近位側内側バルーンと、を含み、
長手方向において、前記遠位側内側バルーンと前記近位側内側バルーンとの間に空隙を有している請求項1に記載のバルーンカテーテル。
【請求項5】
長手方向において前記遠位側内側バルーンと前記近位側内側バルーンとの間の空隙が位置している部分は、前記長手方向における前記外側バルーンの長さの中点を含んでいる請求項4に記載のバルーンカテーテル。
【請求項6】
前記複数の内側バルーンは、最も遠位側に配置されている最遠位内側バルーンと、最も近位側に配置されている最近位内側バルーンと、を含み、
前記最遠位内側バルーンの遠位端は、前記外側バルーンの遠位端よりも近位側に位置しており、
前記最近位内側バルーンの近位端は、前記外側バルーンの近位端よりも遠位側に位置している請求項1に記載のバルーンカテーテル。
【請求項7】
前記複数の内側バルーンは、遠位側内側バルーンと、前記遠位側内側バルーンに隣接する近位側内側バルーンと、を含み、
前記遠位側内側バルーンの拡張状態における前記遠位側内側バルーンの最大外径は、前記近位側内側バルーンの拡張状態における前記近位側内側バルーンの最大外径よりも大きい請求項1に記載のバルーンカテーテル。
【請求項8】
長手方向を有しているシャフトをさらに有し、
前記複数の内側バルーンは、遠位側内側バルーンと、前記遠位側内側バルーンに隣接する近位側内側バルーンと、を含み、
前記シャフトは、流体の流路である第1ルーメンを有し、
前記シャフトは、前記近位側内側バルーンの内腔に配置され、前記遠位側内側バルーンに接続されており、
前記第1ルーメンは、前記遠位側内側バルーンの内腔と連通し、
前記遠位側内側バルーンの内腔は、前記近位側内側バルーンの内腔と連通している請求項1に記載のバルーンカテーテル。
【請求項9】
前記複数の内側バルーンは、最も遠位側に配置されている最遠位内側バルーンと、最も近位側に配置されている最近位内側バルーンと、を含み、
前記最遠位内側バルーンの拡張状態において、前記最遠位内側バルーンの遠位部の最大外径は、前記最遠位内側バルーンの近位部の最大外径よりも大きい請求項1に記載のバルーンカテーテル。
【請求項10】
前記複数の内側バルーンは、最も遠位側に配置されている最遠位内側バルーンと、最も近位側に配置されている最近位内側バルーンと、を含み、
前記最近位内側バルーンの拡張状態において、前記最近位内側バルーンの近位部の最大外径は、前記最近位内側バルーンの遠位部の最大外径よりも大きい請求項1に記載のバルーンカテーテル。
発明の詳細な説明
【技術分野】
【0001】
本発明は、バルーンカテーテルに関する。
続きを表示(約 3,200 文字)
【背景技術】
【0002】
血管内壁に石灰化等により硬化した狭窄部が形成されることにより、狭心症や心筋梗塞等の疾病が引き起こされる。これらの治療の一つとして、バルーンカテーテルを用いて狭窄部を拡張させる血管形成術がある。血管形成術は、バイパス手術のような開胸術を必要としない低侵襲療法であり、広く行われている。
【0003】
大動脈弁が石灰化等によって硬くなり、大動脈弁が開きにくくなって血液の流れが妨げられてしまう大動脈弁狭窄症という疾患がある。大動脈弁狭窄症の治療として、外科的開胸手術およびカテーテルによって生体弁(人工弁)を留置し、硬化した大動脈弁を生体弁に置き換える方法が用いられることがある。
【0004】
留置した生体弁は石灰化や摩耗等によって経年劣化する。留置した生体弁が劣化した場合、生体弁を置き換える必要がある。生体弁の置き換えにおいて、複数本のバルーンカテーテルを用いて留置している生体弁に高い圧力を加えて変形または破壊し、弁の内腔を広げた上で変形または破壊した生体弁の内側に、経カテーテル的大動脈弁置換術等によって新たな生体弁を留置する手技が検討されている。
【0005】
硬化した狭窄部の拡張や生体弁の留置に用いられるバルーンカテーテルとして、例えば、特許文献1には、複数の膨張要素からなっている膨張手段を有し、複数の膨張要素の壁部が一緒になって膨張手段の膨張時にほぼ円形の横断面を有するように構成したことを特徴とするカテーテルが開示されており、特許文献2には、複数のバルーン部材を有し、複数の外側バルーン部材が内側バルーン部材の外面を取り囲むように配置されているバルーンカテーテルが開示されており、特許文献3には、複数のバルーンを有し、他のバルーンから影響を受けることなく独立して拡張し、拡張した後の状態では他のバルーンとは接触せず離れているバルーンカテーテルが開示されており、特許文献4には、内部通路を有する灌流バルーンと、灌流バルーンの内部通路に配置されるバルーンと、を有する装置が開示されており、特許文献5には、互いに独立して膨張および収縮させることができる第1-第3バルーンを含むカテーテルが開示されている。
【先行技術文献】
【特許文献】
【0006】
特公平03-013907号公報
米国特許出願公開第2012/0209375号明細書
特開2018-175550号公報
特表2018-536474号公報
国際公開第2021/054189号
【発明の概要】
【発明が解決しようとする課題】
【0007】
しかし、上記従来のバルーンカテーテルでは、狭窄部の拡張や留置している生体弁の変形または破壊のために複数のバルーンを拡張した際に、バルーンが生体管腔において移動してしまって位置ずれが生じることがあり、狭窄部の拡張や生体弁の変形または破壊が十分に行いにくいことや時間がかかってしまうという問題があった。
【0008】
上記の事情に鑑み本発明は、バルーンの位置ずれが生じにくく、目的の箇所へ正確に圧力を加えることができるバルーンカテーテルを提供することを目的とする。
【課題を解決するための手段】
【0009】
上記課題を解決し得た本発明の実施形態に係るバルーンカテーテルは、以下の通りである。
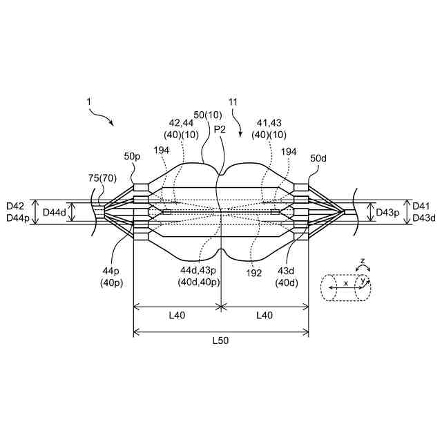
[1] 互いに直列に配置されている複数の内側バルーンと、
前記内側バルーンの径方向外方であって互いに並列に配置されている複数の外側バルーンと、を有しているバルーンカテーテル。
[2] 長手方向における前記内側バルーンの数は、長手方向における前記外側バルーンの数よりも多い[1]に記載のバルーンカテーテル。
[3] 前記内側バルーンの拡張状態における前記内側バルーンの遠位端から前記内側バルーンの近位端までの長さは、前記外側バルーンの拡張状態における前記外側バルーンの遠位端から前記外側バルーンの近位端までの長さよりも短い[1]または[2]に記載のバルーンカテーテル。
[4] 前記複数の内側バルーンは、遠位側内側バルーンと、前記遠位側内側バルーンに隣接する近位側内側バルーンと、を含み、
長手方向において、前記遠位側内側バルーンと前記近位側内側バルーンとの間に空隙を有している[1]~[3]のいずれかに記載のバルーンカテーテル。
[5] 長手方向において前記遠位側内側バルーンと前記近位側内側バルーンとの間の空隙が位置している部分は、長手方向における前記外側バルーンの長さの中点を含んでいる[4]に記載のバルーンカテーテル。
[6] 前記複数の内側バルーンは、最も遠位側に配置されている最遠位内側バルーンと、最も近位側に配置されている最近位内側バルーンと、を含み、
前記最遠位内側バルーンの遠位端は、前記外側バルーンの遠位端よりも近位側に位置しており、
前記最近位内側バルーンの近位端は、前記外側バルーンの近位端よりも遠位側に位置している[1]~[5]のいずれかに記載のバルーンカテーテル。
[7] 前記複数の内側バルーンは、遠位側内側バルーンと、前記遠位側内側バルーンに隣接する近位側内側バルーンと、を含み、
前記遠位側内側バルーンの拡張状態における前記遠位側内側バルーンの最大外径は、前記近位側内側バルーンの拡張状態における前記近位側内側バルーンの最大外径よりも大きい[1]~[6]のいずれかに記載のバルーンカテーテル。
[8] 長手方向を有しているシャフトをさらに有し、
前記複数の内側バルーンは、遠位側内側バルーンと、前記遠位側内側バルーンに隣接する近位側内側バルーンと、を含み、
前記シャフトは、流体の流路である第1ルーメンを有し、
前記シャフトは、前記近位側内側バルーンの内腔に配置され、前記遠位側内側バルーンに接続されており、
前記第1ルーメンは、前記遠位側内側バルーンの内腔と連通し、
前記遠位側内側バルーンの内腔は、前記近位側内側バルーンの内腔と連通している[1]~[7]のいずれかに記載のバルーンカテーテル。
[9] 前記複数の内側バルーンは、最も遠位側に配置されている最遠位内側バルーンと、最も近位側に配置されている最近位内側バルーンと、を含み、
前記最遠位内側バルーンの拡張状態において、前記最遠位内側バルーンの遠位部の最大外径は、前記最遠位内側バルーンの近位部の最大外径よりも大きい[1]~[8]のいずれかに記載のバルーンカテーテル。
[10] 前記複数の内側バルーンは、最も遠位側に配置されている最遠位内側バルーンと、最も近位側に配置されている最近位内側バルーンと、を含み、
前記最近位内側バルーンの拡張状態において、前記最近位内側バルーンの近位部の最大外径は、前記最近位内側バルーンの遠位部の最大外径よりも大きい[1]~[9]のいずれかに記載のバルーンカテーテル。
【発明の効果】
【0010】
上記バルーンカテーテルによれば、互いに直列に配置されている複数の内側バルーンと、内側バルーンの径方向外方であって互いに並列に配置されている複数の外側バルーンと、を有していることにより、内側バルーンおよび外側バルーンの拡張状態において、複数の内側バルーン同士の間が位置しているバルーンの部分が凹形状となる。そのため、バルーンのこの凹形状の部分によって狭窄部や生体弁等を保持することができ、バルーンの位置ずれを生じにくくすることができる。
【図面の簡単な説明】
(【0011】以降は省略されています)
この特許をJ-PlatPat(特許庁公式サイト)で参照する
関連特許
株式会社カネカ
断熱材
21日前
株式会社カネカ
カテーテル
2日前
株式会社カネカ
カテーテル
2日前
株式会社カネカ
カテーテル
1か月前
株式会社カネカ
カテーテル
1か月前
株式会社カネカ
カテーテル
1か月前
株式会社カネカ
カテーテル
1か月前
株式会社カネカ
カテーテル
1か月前
株式会社カネカ
カテーテル
1か月前
株式会社カネカ
自動植毛装置
9日前
株式会社カネカ
通報システム
21日前
株式会社カネカ
酵母含有菓子
1か月前
株式会社カネカ
シーリング材
1か月前
株式会社カネカ
重量物載置架台
1か月前
株式会社カネカ
可塑性油脂組成物
16日前
株式会社カネカ
積層体の製造方法
16日前
株式会社カネカ
太陽電池モジュール
1か月前
株式会社カネカ
気化装置及び製膜装置
1か月前
株式会社カネカ
イチュリン含有組成物
2日前
株式会社カネカ
透湿度測定用封止装置
1か月前
株式会社カネカ
自動車用バンパー芯材
1か月前
株式会社カネカ
多加水パン生地用改良剤
1か月前
株式会社カネカ
冷凍苺及びその製造方法
1か月前
株式会社カネカ
繊維、及び、繊維構造体
1か月前
株式会社カネカ
多加水パン生地用改良剤
1か月前
株式会社カネカ
積層体、及びその製造方法
16日前
株式会社カネカ
建材用太陽電池モジュール
1か月前
株式会社カネカ
太陽電池パネルの検査装置
1か月前
株式会社クラレ
樹脂組成物
1か月前
株式会社カネカ
除細動用カテーテルシステム
1か月前
株式会社カネカ
熱可塑性フィルムの製造方法
1か月前
株式会社カネカ
コンクリート塗装用塗料組成物
1か月前
株式会社カネカ
基板カセットおよび基板処理装置
1か月前
株式会社カネカ
太陽電池および太陽電池製造方法
1か月前
株式会社カネカ
塩化ビニル樹脂凝集粒子の製造方法
1か月前
株式会社カネカ
組織標本作製用の挿入具およびその利用
1か月前
続きを見る
他の特許を見る