TOP
|
特許
|
意匠
|
商標
特許ウォッチ
Twitter
他の特許を見る
公開番号
2025152154
公報種別
公開特許公報(A)
公開日
2025-10-09
出願番号
2024053915
出願日
2024-03-28
発明の名称
基板カセットおよび基板処理装置
出願人
株式会社カネカ
代理人
個人
,
個人
主分類
H01L
21/673 20060101AFI20251002BHJP(基本的電気素子)
要約
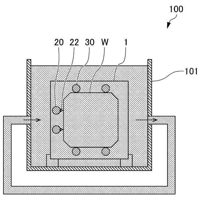
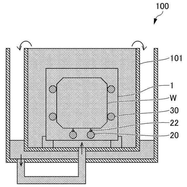
【課題】ウェットプロセスにおいて、基板の処理ムラを低減する基板カセットを提供する。
【解決手段】基板カセット1は、複数の基板Wを主面が対向するように配置し、前記複数の基板Wを同時に処理液に浸漬するための基板カセットであって、複数の基板Wの配列方向に延び、複数の基板Wの各々の両側端部を支持する少なくとも1対の側方支柱30と、
複数の基板Wの配列方向に延び、複数の基板Wの各々の下端部を支持する下方支柱20と、少なくとも1対の側方支柱30の各々の側部において配列方向に配置され、側方支柱30の側部から突起し、複数の基板Wが離間した状態となるように複数の基板Wの各々を支持するための複数の爪部32と、下方支柱20の複数の基板W側において配列方向に延在して配置され、下方支柱20の複数の基板W側に突起する突起22とを備え、突起22の幅は下方支柱20の幅よりも小さい。
【選択図】図1
特許請求の範囲
【請求項1】
複数の基板を主面が対向するように配置し、前記複数の基板を同時に処理液に浸漬するための基板カセットであって、
前記複数の基板の配列方向に延び、前記複数の基板の各々の両側端部を支持する少なくとも1対の側方支柱と、
前記複数の基板の配列方向に延び、前記複数の基板の各々の下端部を支持する下方支柱と、
前記少なくとも1対の側方支柱の各々の側部において前記配列方向に配置され、前記側方支柱の側部から突起し、前記複数の基板が離間した状態となるように前記複数の基板の各々を支持するための複数の爪部と、
前記下方支柱の前記複数の基板側において前記配列方向に延在して配置され、前記下方支柱の前記複数の基板側に突起する突起と、
を備え、
前記突起の幅は、前記下方支柱の幅よりも小さい、
基板カセット。
続きを表示(約 620 文字)
【請求項2】
前記突起は、弾性を有する、請求項1に記載の基板カセット。
【請求項3】
前記突起は、前記配列方向に延在する繊維構造体を含む、請求項2に記載の基板カセット。
【請求項4】
前記繊維構造体は、複数本の繊維素線を撚った撚糸、複数本の繊維素線を編んだ編糸、または、複数本の繊維素線を織った織糸である、請求項3に記載の基板カセット。
【請求項5】
前記突起は、前記繊維構造体を覆い、前記繊維構造体を前記下方支柱に固定するフィルム状の樹脂部材を含む、請求項3または4に記載の基板カセット。
【請求項6】
前記突起は、前記繊維構造体を前記下方支柱に固定する接着樹脂部材を含む、請求項3または4に記載の基板カセット。
【請求項7】
前記突起は、前記配列方向に延在する樹脂発泡体を含む、請求項2に記載の基板カセット。
【請求項8】
請求項1に記載の基板カセットと、
処理液が溜まられており、前記基板カセットを前記処理液に浸漬するための処理槽と、
を備え、
前記処理液は、前記処理槽の下方から上方へ、または、前記処理槽の一方の側方から他方の側方へ、流れており、
前記突起は、前記支柱に対して、前記処理液の流れの下流側に位置するように、前記基板カセットが前記処理槽に配置される、
基板処理装置。
発明の詳細な説明
【技術分野】
【0001】
本発明は、基板カセットおよび基板処理装置に関する。
続きを表示(約 1,500 文字)
【背景技術】
【0002】
例えば太陽電池セルの製造プロセスにおいて、ウェットプロセスが用いられる。このようなウェットプロセスとしては、半導体基板(wafer:薄板)上に製膜された半導体層または電極層等の薄膜のパターニング、このようなパターニングで用いられるレジストまたはリフトオフ層(犠牲層)の剥離、半導体基板の表面の異方性エッチング(テクスチャ構造の形成)、および半導体基板の表面のクリーニング、等が挙げられる。
【0003】
このようなウェットプロセスにおいて、基板処理装置が用いられる。基板処理装置は、薬液(例えば、エッチング溶液)または水(例えば、リンス溶液)等の処理液が溜められた処理槽を備える。そして、複数の半導体基板を同時に処理液に浸漬するために、基板カセットが用いられる。特許文献1には、このような基板カセットが記載されている。
【0004】
このような基板カセットは、複数の半導体基板を、主面が対向するように配置して収容する。そして、ウェットプロセスでは、複数の半導体基板が処理液の液面に対して垂直となるように、基板カセットを処理液に浸漬する。
【先行技術文献】
【特許文献】
【0005】
特開2022-130831号公報
【発明の概要】
【発明が解決しようとする課題】
【0006】
このような基板処理装置では、処理槽の処理液をきれいに保つために、処理槽の処理液を循環させることがある。この場合、処理槽において、処理液は、下方から上方へ、または、一方の側方から他方の側方へ対流する。
【0007】
また、このような基板カセットでは、支柱によって半導体基板を支持する。この場合、処理液の流れの上流側の支柱近傍、特に支柱の下流側において、処理液の流れの乱れ(例えばカルマン渦)が発生し、この支柱近傍の半導体基板の端部に処理ムラ(処理の不均一)が生じることがある。
【0008】
本発明は、ウェットプロセスにおいて、基板の処理ムラを低減する基板カセットおよび基板処理装置を提供することを目的とする。
【課題を解決するための手段】
【0009】
本発明に係る基板カセットは、複数の基板を主面が対向するように配置し、前記複数の基板を同時に処理液に浸漬するための基板カセットであって、前記複数の基板の配列方向に延び、前記複数の基板の各々の両側端部を支持する少なくとも1対の側方支柱と、前記複数の基板の配列方向に延び、前記複数の基板の各々の下端部を支持する下方支柱と、前記少なくとも1対の側方支柱の各々の側部において前記配列方向に配置され、前記側方支柱の側部から突起し、前記複数の基板が離間した状態となるように前記複数の基板の各々を支持するための複数の爪部と、前記下方支柱の前記複数の基板側において前記配列方向に延在して配置され、前記下方支柱の前記複数の基板側に突起する突起と、を備える。前記突起の幅は、前記下方支柱の幅よりも小さい。
【0010】
本発明に係る基板処理装置は、上記の基板カセットと、処理液が溜まられており、前記基板カセットを前記処理液に浸漬するための処理槽と、を備える。前記処理液は、前記処理槽の下方から上方へ、または、前記処理槽の一方の側方から他方の側方へ、流れており、前記突起は、前記支柱に対して、前記処理液の流れの下流側に位置するように、前記基板カセットが前記処理槽に配置される。
【発明の効果】
(【0011】以降は省略されています)
この特許をJ-PlatPat(特許庁公式サイト)で参照する
関連特許
株式会社カネカ
飲料
1か月前
株式会社カネカ
飲料
1か月前
株式会社カネカ
断熱材
9日前
株式会社カネカ
カテーテル
1か月前
株式会社カネカ
カテーテル
1か月前
株式会社カネカ
カテーテル
1か月前
株式会社カネカ
カテーテル
1か月前
株式会社カネカ
カテーテル
1か月前
株式会社カネカ
カテーテル
1か月前
株式会社カネカ
酵母含有菓子
1か月前
株式会社カネカ
シーリング材
1か月前
株式会社カネカ
通報システム
9日前
株式会社カネカ
医療用具セット
1か月前
株式会社カネカ
重量物載置架台
1か月前
株式会社カネカ
積層体の製造方法
4日前
株式会社カネカ
可塑性油脂組成物
4日前
株式会社カネカ
太陽電池モジュール
1か月前
株式会社カネカ
透湿度測定用封止装置
1か月前
株式会社カネカ
自動車用バンパー芯材
1か月前
株式会社カネカ
予測方法及び製造方法
1か月前
株式会社カネカ
気化装置及び製膜装置
1か月前
株式会社カネカ
多加水パン生地用改良剤
1か月前
株式会社カネカ
多加水パン生地用改良剤
1か月前
株式会社カネカ
冷凍苺及びその製造方法
1か月前
株式会社カネカ
製造工場の管理システム
1か月前
株式会社カネカ
繊維、及び、繊維構造体
1か月前
株式会社カネカ
建材用太陽電池モジュール
1か月前
株式会社カネカ
積層体、及びその製造方法
4日前
株式会社カネカ
太陽電池パネルの検査装置
1か月前
株式会社カネカ
除細動用カテーテルシステム
1か月前
株式会社カネカ
熱可塑性フィルムの製造方法
26日前
株式会社クラレ
樹脂組成物
1か月前
株式会社カネカ
コンクリート塗装用塗料組成物
1か月前
株式会社カネカ
基板カセットおよび基板処理装置
1か月前
株式会社カネカ
太陽電池および太陽電池製造方法
1か月前
株式会社カネカ
塩化ビニル樹脂凝集粒子の製造方法
1か月前
続きを見る
他の特許を見る