TOP
|
特許
|
意匠
|
商標
特許ウォッチ
Twitter
他の特許を見る
公開番号
2025150980
公報種別
公開特許公報(A)
公開日
2025-10-09
出願番号
2024052172
出願日
2024-03-27
発明の名称
カテーテル
出願人
株式会社カネカ
代理人
弁理士法人アスフィ国際特許事務所
主分類
A61M
25/06 20060101AFI20251002BHJP(医学または獣医学;衛生学)
要約
【課題】血管内や体腔内にガイドワイヤを挿入するにあたり、ガイドワイヤの挿入経路をリアルタイムで決定できるカテーテルを提供する。
【解決手段】長手軸方向に延在する内腔を有するシャフトと、前記シャフトの内腔に配され、前記長手軸方向に延在する内腔を有し、近位側開口と遠位側開口を有する筒状部材とを有するカテーテルであって、前記筒状部材の側壁に、該筒状部材の内腔と前記シャフトの内腔を連通させる孔が配されており、前記シャフトは、該シャフトの内腔に流体を供給する供給口を有するカテーテル。
【選択図】図2
特許請求の範囲
【請求項1】
長手軸方向に延在する内腔を有するシャフトと、
前記シャフトの内腔に配され、前記長手軸方向に延在する内腔を有し、近位側開口と遠位側開口を有する筒状部材とを有するカテーテルであって、
前記筒状部材の側壁に、該筒状部材の内腔と前記シャフトの内腔を連通させる孔が配されており、
前記シャフトは、該シャフトの内腔に流体を供給する供給口を有するカテーテル。
続きを表示(約 530 文字)
【請求項2】
前記シャフトの前記長手軸方向に対し、前記シャフトの内側面と前記筒状部材の外側面は、最も遠位側に配されている前記孔および前記供給口よりも遠位側の位置と、最も近位側に配されている前記孔および前記供給口よりも近位側の位置において当接している請求項1に記載のカテーテル。
【請求項3】
前記シャフトの前記長手軸方向に対し、前記シャフトと前記筒状部材は、最も遠位側に配されている前記孔および前記供給口よりも遠位側の位置と、最も近位側に配されている前記孔および前記供給口よりも近位側の位置において固定されている請求項1に記載のカテーテル。
【請求項4】
前記筒状部材の径方向の外側における少なくとも一部に編組チューブまたはコイルが配されている請求項1に記載のカテーテル。
【請求項5】
少なくとも前記編組チューブまたは前記コイルよりも径方向の外側に外層が配されている請求項4に記載のカテーテル。
【請求項6】
前記流体は、造影剤を含む請求項1に記載のカテーテル。
【請求項7】
前記筒状部材の遠位端部にX線不透過性リングが配されている請求項1に記載のカテーテル。
発明の詳細な説明
【技術分野】
【0001】
本発明は、カテーテルに関するものである。
続きを表示(約 2,300 文字)
【背景技術】
【0002】
医療現場では、種々のカテーテルが用いられている。血管内や体腔内にカテーテルを挿入し、カテーテルの先端部を目的位置まで到達させることにより、例えば、薬剤や造影剤を投与、注入するなどの処置や診断を行うことができる。
【0003】
こうしたカテーテルを備えたシステムとして、例えば、特許文献1には、体内の送達部位へ供給される流体媒体の流動特性を調整するためのシステムであって、前記システムが、ルーメンを有し、かつ前記体の外から前記体の中の前記送達部位へ媒体を送達できる送達カテーテルと、前記送達カテーテルへ流体媒体を供給するように作動できるシリンジであって、前記シリンジが光センサモジュールを備える、シリンジと、前記シリンジと前記送達カテーテルとの間に配置された調整器であって、前記調整器が、前記シリンジの作動時に前記送達カテーテルへ供給される流体媒体の圧力を設定最大圧力値に制限するように構成される、調整器とを備える、システムが開示されている。
【先行技術文献】
【特許文献】
【0004】
特表2018-512986号公報
【発明の概要】
【発明が解決しようとする課題】
【0005】
カテーテルは、血管内や体腔内に挿入されたガイドワイヤに沿って挿入される。血管内や体腔内にガイドワイヤを挿入する際には、造影剤を投与し、ガイドワイヤの挿入経路を決定する。造影剤を投与する際には、カテーテルのシャフトからガイドワイヤを抜去し、ハブから造影剤を投与する必要があるため、造影剤を投与したときの様子を撮像装置で録画しておき、カテーテルのシャフトにガイドワイヤを再度挿入し、先程録画した映像に基づいてガイドワイヤの挿入経路を決定する必要がある。そのため、カテーテルの先端部を目的位置まで到達させるまでの間に、ガイドワイヤを何度も抜き差しする必要があった。
【0006】
本発明は上記の様な事情に着目してなされたものであって、その目的は、血管内や体腔内にガイドワイヤを挿入するにあたり、ガイドワイヤの挿入経路をリアルタイムで決定できるカテーテルを提供することにある。
【課題を解決するための手段】
【0007】
本発明は、以下の通りである。
[1] 長手軸方向に延在する内腔を有するシャフトと、
前記シャフトの内腔に配され、前記長手軸方向に延在する内腔を有し、近位側開口と遠位側開口を有する筒状部材とを有するカテーテルであって、
前記筒状部材の側壁に、該筒状部材の内腔と前記シャフトの内腔を連通させる孔が配されており、
前記シャフトは、該シャフトの内腔に流体を供給する供給口を有するカテーテル。
[2] 前記シャフトの前記長手軸方向に対し、前記シャフトの内側面と前記筒状部材の外側面は、最も遠位側に配されている前記孔および前記供給口よりも遠位側の位置と、最も近位側に配されている前記孔および前記供給口よりも近位側の位置において当接している[1]に記載のカテーテル。
[3] 前記シャフトの前記長手軸方向に対し、前記シャフトと前記筒状部材は、最も遠位側に配されている前記孔および前記供給口よりも遠位側の位置と、最も近位側に配されている前記孔および前記供給口よりも近位側の位置において固定されている[1]または[2]に記載のカテーテル。
[4] 前記筒状部材の径方向の外側における少なくとも一部に編組チューブまたはコイルが配されている[1]~[3]のいずれかに記載のカテーテル。
[5] 少なくとも前記編組チューブまたは前記コイルよりも径方向の外側に外層が配されている[4]に記載のカテーテル。
[6] 前記流体は、造影剤を含む[1]~[5]のいずれかに記載のカテーテル。
[7] 前記筒状部材の遠位端部にX線不透過性リングが配されている[1]~[6]のいずれかに記載のカテーテル。
【発明の効果】
【0008】
本発明に係るカテーテルは、シャフトの内腔に筒状部材を有しており、この筒状部材の側壁に、筒状部材の内腔とシャフトの内腔を連通させる孔が配されており、シャフトは、該シャフトの内腔に流体を供給する供給口を有している。そのため筒状部材の内腔にガイドワイヤが配されていても、供給口から供給された流体は、シャフトの内腔から孔を通って筒状部材の内腔へ移動し、筒状部材の遠位側開口から血管内や体腔内に放出される。その結果、ガイドワイヤの挿入経路をリアルタイムで決定できる。
【図面の簡単な説明】
【0009】
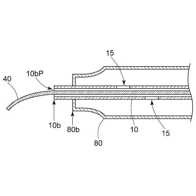
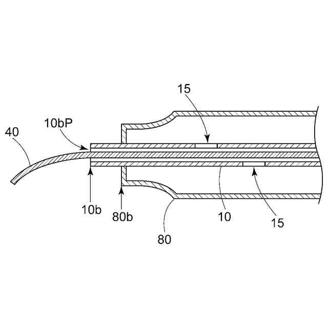
図1は、カテーテルの実施の形態を示す模式図である。
図2は、図1の要部IIの断面図である。
図3は、図1の要部IIIの断面図である。
【発明を実施するための形態】
【0010】
本発明に係るカテーテルの実施の形態は、長手軸方向に延在する内腔を有するシャフトと、前記シャフトの内腔に配され、前記長手軸方向に延在する内腔を有し、近位側開口と遠位側開口を有する筒状部材とを有するカテーテルであって、前記筒状部材の側壁に、該筒状部材の内腔と前記シャフトの内腔を連通させる孔が配されており、前記シャフトは、該シャフトの内腔に流体を供給する供給口を有している。
(【0011】以降は省略されています)
この特許をJ-PlatPat(特許庁公式サイト)で参照する
関連特許
株式会社カネカ
飲料
1か月前
株式会社カネカ
飲料
1か月前
株式会社カネカ
抗菌剤
1か月前
株式会社カネカ
塗布装置
1か月前
株式会社カネカ
製膜装置
1か月前
株式会社カネカ
製膜装置
1か月前
株式会社カネカ
医療用具
1か月前
株式会社カネカ
積層装置
1か月前
株式会社カネカ
カテーテル
28日前
株式会社カネカ
カテーテル
1か月前
株式会社カネカ
カテーテル
1か月前
株式会社カネカ
カテーテル
28日前
株式会社カネカ
正極活物質
1か月前
株式会社カネカ
カテーテル
28日前
株式会社カネカ
カテーテル
28日前
株式会社カネカ
カテーテル
1か月前
株式会社カネカ
カテーテル
27日前
株式会社カネカ
カテーテル
29日前
株式会社カネカ
シーリング材
27日前
株式会社カネカ
生体内留置具
1か月前
株式会社カネカ
酵母含有菓子
29日前
株式会社カネカ
油脂の製造方法
1か月前
株式会社カネカ
医療用具セット
1か月前
株式会社カネカ
顆粒の製造方法
1か月前
株式会社カネカ
重量物載置架台
27日前
株式会社カネカ
フィルム延伸装置
1か月前
株式会社カネカ
フィルム延伸装置
1か月前
株式会社カネカ
バルーンカテーテル
1か月前
株式会社カネカ
バルーンカテーテル
1か月前
株式会社カネカ
太陽電池モジュール
1か月前
株式会社カネカ
樹脂粒子の製造方法
1か月前
株式会社カネカ
可撓性ガス拡散電極
1か月前
株式会社カネカ
太陽電池モジュール
27日前
株式会社カネカ
気化装置及び製膜装置
28日前
株式会社カネカ
自動車用バンパー芯材
27日前
株式会社カネカ
生産計画立案システム
1か月前
続きを見る
他の特許を見る