TOP
|
特許
|
意匠
|
商標
特許ウォッチ
Twitter
他の特許を見る
公開番号
2025141202
公報種別
公開特許公報(A)
公開日
2025-09-29
出願番号
2024041033
出願日
2024-03-15
発明の名称
積層装置
出願人
株式会社カネカ
代理人
個人
主分類
B65G
47/91 20060101AFI20250919BHJP(運搬;包装;貯蔵;薄板状または線条材料の取扱い)
要約
【課題】湾曲した基板の面上にシート部材を高精度で配置することが可能な積層装置を提供できる。
【解決手段】曲面基板の載置面上にシート部材を積層する積層装置において、第一吸着パッドを含む複数の吸着パッドと、複数の吸着パッドのうち少なくとも第一吸着パッドを移動させる移動手段を有し、各吸着パッドの吸着部を実質的に同一平面上に分布させる平面吸着姿勢と、平面吸着姿勢から第一吸着パッドの位置を移動させた移動吸着姿勢をとることが可能であり、平面吸着姿勢でシート部材を吸着し、平面吸着姿勢の状態で曲面基板の載置面上にシート部材の一部を載置し、曲面基板の載置面上にシート部材の一部が載置された状態から移動吸着姿勢に変更してシート部材を曲面基板の載置面に沿わせて載置する、構成とする。
【選択図】図4
特許請求の範囲
【請求項1】
曲面基板の載置面上にシート部材を積層する積層装置であって、
第一吸着パッドを含む複数の吸着パッドと、
前記複数の吸着パッドのうち少なくとも前記第一吸着パッドを移動させる移動手段を有し、
各吸着パッドの吸着部を実質的に同一平面上に分布させる平面吸着姿勢と、
前記平面吸着姿勢から前記第一吸着パッドの位置を移動させた移動吸着姿勢をとることが可能であり、
前記平面吸着姿勢で前記シート部材を吸着し、前記平面吸着姿勢の状態で前記曲面基板の載置面上に前記シート部材の一部を載置し、前記曲面基板の載置面上に前記シート部材の一部が載置された状態から前記移動吸着姿勢に変更して前記シート部材を前記曲面基板の載置面に沿わせて載置する、積層装置。
続きを表示(約 900 文字)
【請求項2】
前記移動手段は、前記第一吸着パッドを吸着部の吸着方向に移動させる、請求項1に記載の積層装置。
【請求項3】
前記移動手段は、前記第一吸着パッドを前記シート部材の中央側に移動させる、請求項1に記載の積層装置。
【請求項4】
前記曲面基板の載置面の曲率を測定する曲率測定手段を有し、
前記平面吸着姿勢から前記移動吸着姿勢に姿勢変更することで、前記曲面基板の載置面の曲率に合わせて前記第一吸着パッドの移動量を調整する、請求項1~3のいずれか1項に記載の積層装置。
【請求項5】
前記曲面基板の載置面の曲率を測定する曲率測定手段を有し、
前記平面吸着姿勢から前記移動吸着姿勢に姿勢変更することで、前記曲面基板の載置面の曲率に合わせて前記シート部材の変形量を調整する、請求項1~3のいずれか1項に記載の積層装置。
【請求項6】
曲面基板の載置面上にシート部材を積層する積層装置であって、
第一吸着パッドを含む複数の吸着パッドと、
前記複数の吸着パッドのうち少なくとも前記第一吸着パッドを移動させる移動手段を有し、
各吸着パッドの吸着部を実質的に同一平面上に分布させる平面吸着姿勢と、
前記平面吸着姿勢から前記第一吸着パッドの位置を移動させた移動吸着姿勢をとることが可能であり、
前記第一吸着パッドを吸着部の吸着方向に移動させることで、前記平面吸着姿勢から前記移動吸着姿勢に移行するものであり、
前記平面吸着姿勢で前記シート部材を吸着し、以下の(1)又は(2)の動作を行う、積層装置。
(1)前記平面吸着姿勢から前記移動吸着姿勢に姿勢変更して前記シート部材を変形させた状態で前記曲面基板の載置面上に載置する。
(2)前記平面吸着姿勢の状態で前記曲面基板の載置面上に前記シート部材の一部を載置し、前記曲面基板の載置面上に前記シート部材の一部が載置された状態から前記移動吸着姿勢に変更して前記シート部材を前記曲面基板の載置面に沿わせて載置する。
発明の詳細な説明
【技術分野】
【0001】
本発明は、基板上にシート部材を載置した積層体を形成する積層装置に関する。
続きを表示(約 1,900 文字)
【背景技術】
【0002】
透光性基材上に、封止用のシート部材、太陽電池ストリング、封止用のシート部材、バックシートをこの順に積層して形成される太陽電池モジュールが知られている。このような太陽電池モジュールを製造する太陽電池モジュール製造装置(以下、単に製造装置とも称する)として、例えば、特許文献1に開示されたものがある。
【0003】
特許文献1の製造装置は、樹脂シートを薄肉化する薄肉化部と、ガラス基板上に、樹脂シート、太陽電池セル、樹脂シート、裏面保護材を順次積層し、積層体を形成する積層部と、積層体を熱加圧加工する加熱加圧部を有している。加えて、太陽電池モジュール製造装置は、樹脂シートを1枚毎に薄肉化部に搬送すると共に、薄肉化部で薄肉化された樹脂シートを積層部に搬送する吸着部を有している。吸着部は、吸着ヘッドで樹脂シートを吸着し、吸着ヘッドと共に樹脂シートを移動させることで、樹脂シートを搬送する装置である。つまり、特許文献1の太陽電池モジュール製造装置は、樹脂シートを搬送し、ガラス基板上に載置する装置を有する。
【0004】
また、近年、太陽電池モジュールは、平板状の透光性基板(ガラス基板)を採用したものの他、3次元的に曲率を持つ基材(以下、湾曲基板とも称す)上に太陽電池セルのストリング群を配置して形成されるものがある(例えば、特許文献2)。
【先行技術文献】
【特許文献】
【0005】
特開2016-009723号公報
特開2019-033302号公報
【発明の概要】
【発明が解決しようとする課題】
【0006】
従来の製造装置では、湾曲基板上に樹脂シート等のシート部材を載置する場合、平板状の基材上にシート部材を載置すると場合とは異なり、シート部材の基板側の面と、湾曲基板の窪み部分の間に隙間が形成されてしまう。
ここで、平板状の基材上にシート部材を載置する場合、平板状のシート部材を基材上の正しい位置に配し、シート部材が基材に密着した状態で吸着を解除する。このことにより、シート部材を正しい位置に正しい姿勢で配置することが容易である。これに対し、湾曲基板上に平板状のシート部材を載置する場合、上記した隙間が形成されることから、シート部材を正しい位置に意図した姿勢(湾曲基板に沿って湾曲した姿勢)で配置することが困難であった。つまり、上記した隙間が形成された状態で吸着を解除し、シート部材の自重によって湾曲した姿勢となるように試みても、意図した姿勢にならない場合や、正しい位置に配置されない場合があった。
【0007】
そこで本発明は、湾曲した基板の面上にシート部材を高精度で配置することが可能な積層装置を提供することを課題とする。
【課題を解決するための手段】
【0008】
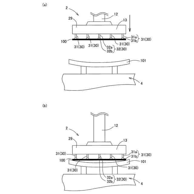
上記した課題を解決するための本発明の一つの様相は、曲面基板の載置面上にシート部材を積層する積層装置であって、第一吸着パッドを含む複数の吸着パッドと、前記複数の吸着パッドのうち少なくとも前記第一吸着パッドを移動させる移動手段を有し、各吸着パッドの吸着部を実質的に同一平面上に分布させる平面吸着姿勢と、前記平面吸着姿勢から前記第一吸着パッドの位置を移動させた移動吸着姿勢をとることが可能であり、前記平面吸着姿勢で前記シート部材を吸着し、前記平面吸着姿勢の状態で前記曲面基板の載置面上に前記シート部材の一部を載置し、前記曲面基板の載置面上に前記シート部材の一部が載置された状態から前記移動吸着姿勢に変更して前記シート部材を前記曲面基板の載置面に沿わせて載置する、積層装置である。
【0009】
本様相の積層装置は、曲面基板の載置面にシート部材の一部を載置した状態で、第一吸着パッドの位置を移動させて移動吸着姿勢に移行し、シート部材を曲面基板の載置面に沿わせた形状としていき、シート部材を曲面基板の載置面に沿わせて載置する。このように、曲面基板の載置面にシート部材の一部を載置した状態でシート部材の形状を変更していくことで、シート部材を載置面に沿わせた形状に変更することが容易となる。また、シート部材を載置面に沿わせた形状に変更することで、シート部材を載置面上の正しい位置に載置することが容易となる。以上のことから、湾曲した基板の面上にシート部材を高精度で配置することが可能となる。
【0010】
好ましい様相は、前記移動手段は、前記第一吸着パッドを吸着部の吸着方向に移動させる。
(【0011】以降は省略されています)
この特許をJ-PlatPat(特許庁公式サイト)で参照する
関連特許
株式会社カネカ
飲料
1か月前
株式会社カネカ
飲料
1か月前
株式会社カネカ
断熱材
19日前
株式会社カネカ
製膜装置
1か月前
株式会社カネカ
製膜装置
1か月前
株式会社カネカ
医療用具
1か月前
株式会社カネカ
カテーテル
1か月前
株式会社カネカ
カテーテル
1か月前
株式会社カネカ
カテーテル
1か月前
株式会社カネカ
カテーテル
今日
株式会社カネカ
カテーテル
1か月前
株式会社カネカ
カテーテル
1か月前
株式会社カネカ
カテーテル
1か月前
株式会社カネカ
カテーテル
今日
株式会社カネカ
カテーテル
1か月前
株式会社カネカ
カテーテル
1か月前
株式会社カネカ
カテーテル
1か月前
株式会社カネカ
自動植毛装置
7日前
株式会社カネカ
酵母含有菓子
1か月前
株式会社カネカ
生体内留置具
1か月前
株式会社カネカ
通報システム
19日前
株式会社カネカ
シーリング材
1か月前
株式会社カネカ
重量物載置架台
1か月前
株式会社カネカ
医療用具セット
1か月前
株式会社カネカ
積層体の製造方法
14日前
株式会社カネカ
可塑性油脂組成物
14日前
株式会社カネカ
太陽電池モジュール
1か月前
株式会社カネカ
バルーンカテーテル
1か月前
株式会社カネカ
予測方法及び製造方法
1か月前
株式会社カネカ
気化装置及び製膜装置
1か月前
株式会社カネカ
自動車用バンパー芯材
1か月前
株式会社カネカ
イチュリン含有組成物
今日
株式会社カネカ
透湿度測定用封止装置
1か月前
株式会社カネカ
冷凍苺及びその製造方法
1か月前
株式会社カネカ
多加水パン生地用改良剤
1か月前
株式会社カネカ
多加水パン生地用改良剤
1か月前
続きを見る
他の特許を見る