TOP
|
特許
|
意匠
|
商標
特許ウォッチ
Twitter
他の特許を見る
10個以上の画像は省略されています。
公開番号
2025152724
公報種別
公開特許公報(A)
公開日
2025-10-10
出願番号
2024054761
出願日
2024-03-28
発明の名称
カテーテル
出願人
株式会社カネカ
代理人
弁理士法人アスフィ国際特許事務所
主分類
A61M
25/00 20060101AFI20251002BHJP(医学または獣医学;衛生学)
要約
【課題】手元側からのワイヤの操作によりカテーテル遠位部を所期の形状に容易に湾曲できるカテーテルを提供する。
【解決手段】長手方向xに延びている内腔210aを有するシャフト210と、内腔210aに配置されている板バネ220と、内腔210aに形成されている、板バネ220の一方側の第1部210a1と板バネ220の他方側の第2部210a2と、第1部210a1に配置されている第1ワイヤ231と、第2部210a2に配置されている第2ワイヤ232と、第2部210a2に配置されている第3ワイヤ233と、板バネ220より近位側に配置されており板バネ220の近位端部が接続されている近位側筒部材250と、板バネ220の遠位端よりも近位側且つ近位側筒部材250の遠位端よりも遠位側で板バネ220と第3ワイヤ233が固定されている固定部260と、を有しているカテーテル200。
【選択図】図3
特許請求の範囲
【請求項1】
遠位端と近位端を有するカテーテルであって、
長手方向と径方向とを有し、前記長手方向に延びている内腔を有するシャフトと、
前記内腔に配置されている板バネと、
前記内腔に形成されている、前記板バネの一方側の第1部と前記板バネの他方側の第2部と、
前記カテーテルの遠位端部に固定されており前記カテーテルの近位端部まで延在し前記第1部に配置されている第1ワイヤと、
前記カテーテルの遠位端部に固定されており前記カテーテルの近位端部まで延在し前記第2部に配置されている第2ワイヤと、
前記カテーテルの近位端部まで延在し前記第2部に配置されている第3ワイヤと、
前記板バネより近位側に配置されており前記板バネの近位端部が接続されている近位側筒部材と、
前記板バネの遠位端よりも近位側且つ前記近位側筒部材の遠位端よりも遠位側で前記板バネと前記第3ワイヤが固定されている固定部と、を有しているカテーテル。
続きを表示(約 1,000 文字)
【請求項2】
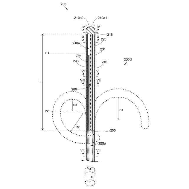
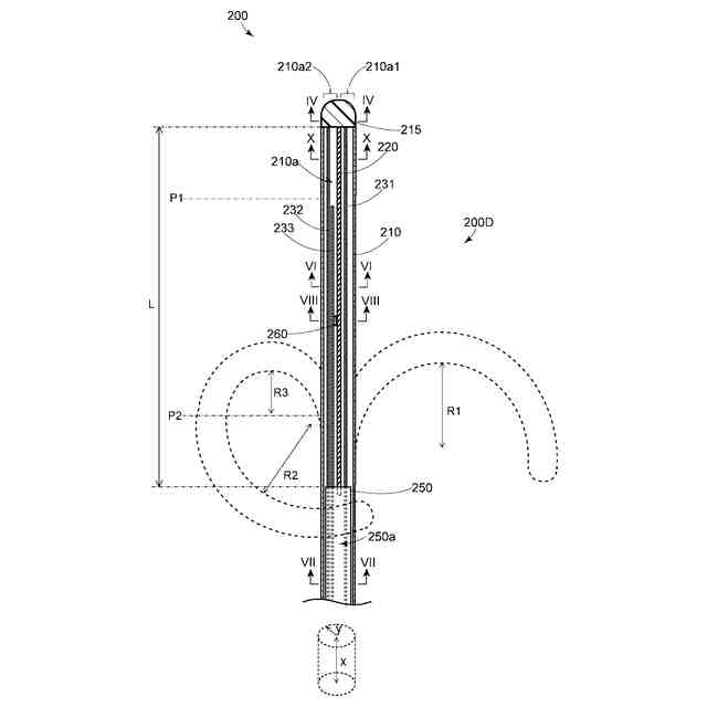
前記長手方向において、前記固定部は、前記板バネの遠位端から前記近位側筒部材の遠位端までの長さをLとしたとき、前記板バネの遠位端から1/5L近位側の位置P1から前記近位側筒部材の遠位端から1/5L遠位側の位置P2までの区間に配されている請求項1に記載のカテーテル。
【請求項3】
内腔を有しており前記内腔に前記第1ワイヤが配置されている第1筒部材と、
内腔を有しており前記内腔に前記第2ワイヤが配置されている第2筒部材と、
内腔を有しており前記内腔に前記第3ワイヤが配置されている第3筒部材と、をさらに有しており、
前記第3筒部材の遠位端は前記固定部よりも近位側に位置している請求項1又は2に記載のカテーテル。
【請求項4】
内腔を有しており前記内腔に前記第1ワイヤ、前記第1筒部材、前記第2ワイヤ、前記第2筒部材、前記第3ワイヤ、前記板バネが配置されている保護部材をさらに有している請求項3に記載のカテーテル。
【請求項5】
前記カテーテルの近位端部に配置されているハンドルをさらに有しており、
前記ハンドルは、第1回転盤と第2回転盤とを有しており、
前記第1ワイヤと前記第2ワイヤは前記第1回転盤に固定されており、
前記第3ワイヤは前記第2回転盤に固定されている請求項1又は2に記載のカテーテル。
【請求項6】
前記第1回転盤と前記第2回転盤は、前記第1回転盤の平面視において少なくとも一部が互いに重なるように配置されている請求項5に記載のカテーテル。
【請求項7】
前記第1回転盤の形状と前記第2回転盤の形状は異なる請求項5に記載のカテーテル。
【請求項8】
前記第1回転盤は前記第1ワイヤを操作する第1操作部と前記第2ワイヤを操作する第2操作部を有しており、
前記第2回転盤は前記第3ワイヤを操作する第3操作部を有しており、
前記第1操作部は前記シャフトの中心軸に対して前記第1部側に配置されており、
前記第2操作部と前記第3操作部は前記シャフトの中心軸に対して前記第2部側に配置されている請求項5に記載のカテーテル。
【請求項9】
前記第2操作部と前記第3操作部は、前記第1回転盤の平面視において少なくとも一部が互いに重ならないように配置されている請求項8に記載のカテーテル。
発明の詳細な説明
【技術分野】
【0001】
本発明は、カテーテルに関する。
続きを表示(約 3,400 文字)
【背景技術】
【0002】
病変部を検査・処置するために血管等の体腔を通して体内に挿入可能なカテーテルが用いられている。カテーテルの中には、病変部の所期の位置にカテーテル遠位部を容易に配置できるように、ハンドル操作によって遠位部が湾曲可能なものがある。このようなカテーテルは一般的に、カテーテルの遠位端部に固定されたワイヤを引くことでカテーテル遠位部を湾曲させることができる。さらに、カテーテルの長手軸に対し一方側と他方側の両側にカテーテルを湾曲させるために、2本のワイヤを備えたカテーテルも提案されている。
【0003】
例えば、特許文献1には、カテーテルチューブの内腔に操作ワイヤが配置された操作用チューブを備え、操作用チューブが複数の部分チューブに分割されていることにより、カテーテルの先端部分が途中で折れ曲がりのない滑らかな湾曲形状に変形することができる先端偏向操作可能カテーテルが開示されている。また、カテーテルの先端部を湾曲させても、先端電極や、カテーテルの先端内部に配置された板バネやワイヤの脱落を防止できる先端偏向操作可能カテーテルや(特許文献2、3)、一方側と他方側の湾曲の形状が異なるカテーテルも提案されている(特許文献4、5)。さらに、特許文献6には、カテーテル遠位部が一方側、他方側のどちら側にも湾曲可能であり、それぞれの湾曲形状が異なる非対称湾曲タイプのカテーテルが開示されている。
【先行技術文献】
【特許文献】
【0004】
特開2012-200445号公報
特開2010-75530号公報
特開2015-100515号公報
特開2012-147971号公報
特表2017-518122号公報
国際公開第2021/246292号
【発明の概要】
【発明が解決しようとする課題】
【0005】
病変部が存在する部位によっては、カテーテルを病変部に送達する際にカテーテル遠位部を複雑に湾曲させる必要がある。そのために、上記のような従来のカテーテルでは、ワイヤを引くハンドル操作によりカテーテル遠位部を湾曲させるだけではなく、別のガイディングシースを用いてカテーテル遠位部の湾曲形状を調整する必要があった。しかし、別のガイディングシースを用いると、その分、血管等の体腔内に挿入する部材の径が大きくなり、患者の負担になるばかりでなく、小児や体格の小さな患者にとってはカテーテルによる治療が困難となることがあった。
【0006】
本発明は上記事情に鑑みてなされたものであり、手元側からのワイヤの操作によりカテーテル遠位部を所期の形状に容易に湾曲できるカテーテルを提供することを目的とする。
【課題を解決するための手段】
【0007】
上記課題を解決し得た本発明の実施形態に係るカテーテルは以下の通りである。
[1]遠位端と近位端を有するカテーテルであって、
長手方向と径方向とを有し、前記長手方向に延びている内腔を有するシャフトと、
前記内腔に配置されている板バネと、
前記内腔に形成されている、前記板バネの一方側の第1部と前記板バネの他方側の第2部と、
前記カテーテルの遠位端部に固定されており前記カテーテルの近位端部まで延在し前記第1部に配置されている第1ワイヤと、
前記カテーテルの遠位端部に固定されており前記カテーテルの近位端部まで延在し前記第2部に配置されている第2ワイヤと、
前記カテーテルの近位端部まで延在し前記第2部に配置されている第3ワイヤと、
前記板バネより近位側に配置されており前記板バネの近位端部が接続されている近位側筒部材と、
前記板バネの遠位端よりも近位側且つ前記近位側筒部材の遠位端よりも遠位側で前記板バネと前記第3ワイヤが固定されている固定部と、を有しているカテーテル。
【0008】
図1に示すように、従来のカテーテル100では、ワイヤの操作によりカテーテル遠位部100Dを一方側又は他方側に湾曲させることができるが、1回の湾曲につき1本のワイヤを引くため、例えば1つの曲率半径r1又はr2を有する湾曲等、一段階の湾曲とすることしかできなかった。このような従来のカテーテル100では、カテーテル100を病変部に送達する際にカテーテル遠位部100Dを所期の形状に湾曲させることが困難な場合があり、別のガイディングシースを用いる等の方法によりカテーテル遠位部100Dの湾曲形状を調整する必要があった。
【0009】
このような従来のカテーテルに対し、上記課題を解決し得た本発明の実施形態に係るカテーテルは、第1部に配置されている第1ワイヤと第2部に配置されている第2ワイヤに加えて、第2部に配置されており板バネの遠位端よりも近位側且つ近位側筒部材の遠位端よりも遠位側で板バネに固定されている第3ワイヤをさらに有していることにより、第2ワイヤと第3ワイヤを近位側に引くことで、例えば2つの曲率半径を有する等、二段階の湾曲形状を有するようにカテーテル遠位部を第2部側に湾曲させることができる。これにより、ガイディングシース等の別の部材を用いなくても、カテーテル遠位部を所期の形状に容易に湾曲させることができる。その結果、カテーテルの径を抑えつつカテーテル遠位部の所期の湾曲形状が得られるため、患者の負担を軽減でき、小児や体格の小さな患者にとっても使用し易くできるとともに、病変部に容易に送達できるカテーテルとすることが可能になる。
【0010】
本発明の実施形態に係るカテーテルは、以下の[2]から[10]のいずれかであることが好ましい。
[2]前記長手方向において、前記固定部は、前記板バネの遠位端から前記近位側筒部材の遠位端までの長さをLとしたとき、前記板バネの遠位端から1/5L近位側の位置P1から前記近位側筒部材の遠位端から1/5L遠位側の位置P2までの区間に配されている[1]に記載のカテーテル。
[3]内腔を有しており前記内腔に前記第1ワイヤが配置されている第1筒部材と、
内腔を有しており前記内腔に前記第2ワイヤが配置されている第2筒部材と、
内腔を有しており前記内腔に前記第3ワイヤが配置されている第3筒部材と、をさらに有しており、
前記第3筒部材の遠位端は前記固定部よりも近位側に位置している[1]又は[2]に記載のカテーテル。
[4]内腔を有しており前記内腔に前記第1ワイヤ、前記第1筒部材、前記第2ワイヤ、前記第2筒部材、前記第3ワイヤ、前記板バネが配置されている保護部材をさらに有している[3]に記載のカテーテル。
[5]前記カテーテルの近位端部に配置されているハンドルをさらに有しており、
前記ハンドルは、第1回転盤と第2回転盤とを有しており、
前記第1ワイヤと前記第2ワイヤは前記第1回転盤に固定されており、
前記第3ワイヤは前記第2回転盤に固定されている[1]~[4]のいずれかに記載のカテーテル。
[6]前記第1回転盤と前記第2回転盤は、前記第1回転盤の平面視において少なくとも一部が互いに重なるように配置されている[5]に記載のカテーテル。
[7]前記第1回転盤の形状と前記第2回転盤の形状は異なる[5]又は[6]に記載のカテーテル。
[8]前記第1回転盤は前記第1ワイヤを操作する第1操作部と前記第2ワイヤを操作する第2操作部を有しており、
前記第2回転盤は前記第3ワイヤを操作する第3操作部を有しており、
前記第1操作部は前記シャフトの中心軸に対して前記第1部側に配置されており、
前記第2操作部と前記第3操作部は前記シャフトの中心軸に対して前記第2部側に配置されている[5]~[7]のいずれかに記載のカテーテル。
[9]前記第2操作部と前記第3操作部は、前記第1回転盤の平面視において少なくとも一部が互いに重ならないように配置されている[8]に記載のカテーテル。
【発明の効果】
(【0011】以降は省略されています)
この特許をJ-PlatPat(特許庁公式サイト)で参照する
関連特許
株式会社カネカ
飲料
9日前
株式会社カネカ
飲料
9日前
株式会社カネカ
抗菌剤
20日前
株式会社カネカ
製膜装置
13日前
株式会社カネカ
製膜装置
13日前
株式会社カネカ
積層装置
17日前
株式会社カネカ
医療用具
13日前
株式会社カネカ
塗布装置
17日前
株式会社カネカ
カテーテル
13日前
株式会社カネカ
カテーテル
13日前
株式会社カネカ
カテーテル
8日前
株式会社カネカ
カテーテル
13日前
株式会社カネカ
カテーテル
7日前
株式会社カネカ
カテーテル
7日前
株式会社カネカ
カテーテル
6日前
株式会社カネカ
カテーテル
7日前
株式会社カネカ
正極活物質
17日前
株式会社カネカ
カテーテル
7日前
株式会社カネカ
酵母含有菓子
8日前
株式会社カネカ
シーリング材
6日前
株式会社カネカ
硬化性組成物
27日前
株式会社カネカ
生体内留置具
13日前
株式会社カネカ
重量物載置架台
6日前
株式会社カネカ
油脂の製造方法
15日前
株式会社カネカ
顆粒の製造方法
17日前
株式会社カネカ
医療用具セット
9日前
株式会社カネカ
フィルム延伸装置
17日前
株式会社カネカ
フィルム延伸装置
15日前
株式会社カネカ
太陽電池モジュール
6日前
株式会社カネカ
バルーンカテーテル
9日前
株式会社カネカ
樹脂粒子の製造方法
21日前
株式会社カネカ
バルーンカテーテル
15日前
株式会社カネカ
太陽電池モジュール
15日前
株式会社カネカ
可撓性ガス拡散電極
17日前
株式会社カネカ
予測方法及び製造方法
9日前
株式会社カネカ
生産計画立案システム
17日前
続きを見る
他の特許を見る