TOP
|
特許
|
意匠
|
商標
特許ウォッチ
Twitter
他の特許を見る
10個以上の画像は省略されています。
公開番号
2025142559
公報種別
公開特許公報(A)
公開日
2025-10-01
出願番号
2024041996
出願日
2024-03-18
発明の名称
太陽電池モジュール
出願人
株式会社カネカ
代理人
個人
,
個人
主分類
H10F
19/80 20250101AFI20250924BHJP()
要約
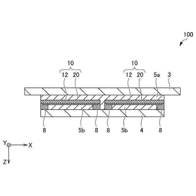
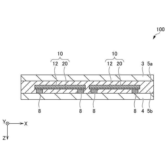
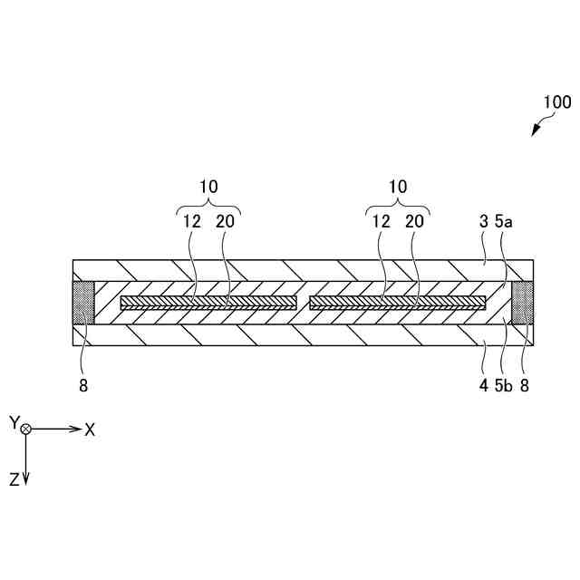
【課題】耐湿性を高めた太陽電池モジュールを提供する。
【解決手段】太陽電池モジュール100は、薄膜系太陽電池セル20を有する薄膜系太陽電池サブモジュール10と、薄膜系太陽電池サブモジュール10を封止する保護部材3,4および封止材5a,5bと、太陽電池モジュール100の周囲端部、または、薄膜系太陽電池サブモジュール10の周囲端部を封止する封止強化部材8を更に備える。封止強化部材8は、複数本の素線を編んだ編物または複数本の素線を織った織物により形成された部材、または複数本の素線を撚った部材であり、樹脂でコーティングされて、素線の間に真空泡を含んでいる。
【選択図】図1
特許請求の範囲
【請求項1】
薄膜系太陽電池セルを有する薄膜系太陽電池サブモジュールと、
前記薄膜系太陽電池サブモジュールを封止する保護部材および封止材と、
を備える太陽電池モジュールであって、
前記太陽電池モジュールの周囲端部、または、前記薄膜系太陽電池サブモジュールの周囲端部を封止する封止強化部材を更に備え、
前記封止強化部材は、
複数本の素線を編んだ編物または複数本の素線を織った織物により形成された部材、または複数本の素線を撚った部材であり、
樹脂でコーティングされて、前記素線の間に真空泡を含んでいる、
太陽電池モジュール。
続きを表示(約 3,400 文字)
【請求項2】
前記保護部材は、
前記薄膜系太陽電池サブモジュールの受光側に配置された受光側保護部材と、
前記薄膜系太陽電池サブモジュールの裏側に配置された裏側保護部材と、
を含み、
前記封止材は、前記薄膜系太陽電池サブモジュールの受光側と前記受光側保護部材との間、および、前記薄膜系太陽電池サブモジュールの裏側と前記裏側保護部材との間に配置されており、
前記封止強化部材は、前記受光側保護部材と前記裏側保護部材との間において、前記太陽電池モジュールの周囲端部に配置されている、
請求項1に記載の太陽電池モジュール。
【請求項3】
前記薄膜系太陽電池サブモジュールは、透明基材と、前記透明基材上に形成された前記薄膜系太陽電池セルとを有し、
前記保護部材は、
前記薄膜系太陽電池サブモジュールの受光側に配置された受光側保護部材と、
前記薄膜系太陽電池サブモジュールの裏側に配置された裏側保護部材と、
を含み、
前記封止材は、前記薄膜系太陽電池サブモジュールの受光側と前記受光側保護部材との間、および、前記薄膜系太陽電池サブモジュールの裏側と前記裏側保護部材との間に配置されており、
前記封止強化部材は、前記透明基材と前記裏側保護部材との間において、前記薄膜系太陽電池サブモジュールの周囲端部に配置されている、
請求項1に記載の太陽電池モジュール。
【請求項4】
前記薄膜系太陽電池サブモジュールは、透明基材と、前記透明基材上に形成された前記薄膜系太陽電池セルとを有し、
前記保護部材は、前記薄膜系太陽電池サブモジュールの裏側に配置された裏側保護部材を含み、
前記封止材は、前記薄膜系太陽電池サブモジュールの裏側と前記裏側保護部材との間に配置されており、
前記封止強化部材は、前記透明基材と前記裏側保護部材との間において、前記薄膜系太陽電池サブモジュールの周囲端部に配置されている、
請求項1に記載の太陽電池モジュール。
【請求項5】
薄膜系太陽電池セルを有するトップ側太陽電池サブモジュールと、結晶シリコン系太陽電池セルを有するボトム側太陽電池サブモジュールとを有する4端子型のタンデム型太陽電池モジュールであって、
前記トップ側太陽電池サブモジュールおよび前記ボトム側太陽電池サブモジュールを封止する保護部材および封止材と、
前記太陽電池モジュールの周囲端部、または、前記トップ側太陽電池サブモジュールの周囲端部および前記ボトム側太陽電池サブモジュールの周囲端部を封止する封止強化部材と、
を備え、
前記封止強化部材は、
複数本の素線を編んだ編物または複数本の素線を織った織物により形成された部材、または複数本の素線を撚った部材であり、
樹脂でコーティングされて、前記素線の間に真空泡を含んでいる、
太陽電池モジュール。
【請求項6】
薄膜系太陽電池セルを有するトップ側太陽電池サブモジュールと、結晶シリコン系太陽電池セルを有するボトム側太陽電池サブモジュールとを有する4端子型のタンデム型太陽電池モジュールであって、
前記トップ側太陽電池サブモジュールおよび前記ボトム側太陽電池サブモジュールを封止する保護部材と、
前記トップ側太陽電池サブモジュールと前記ボトム側太陽電池サブモジュールとの間に配置された絶縁部材と、
前記トップ側太陽電池サブモジュールを封止するトップ側封止材と、
前記ボトム側太陽電池サブモジュールを封止するボトム側封止材と、
前記太陽電池モジュールの周囲端部、または、前記トップ側太陽電池サブモジュールの周囲端部を封止するトップ側封止強化部材と、
前記太陽電池モジュールの周囲端部、または、前記ボトム側太陽電池サブモジュールの周囲端部を封止するボトム側封止強化部材と、
を備え、
前記トップ側封止強化部材および前記ボトム側封止強化部材の少なくとも一方は、
複数本の素線を編んだ編物または複数本の素線を織った織物により形成された部材、または複数本の素線を撚った部材であり、
樹脂でコーティングされて、前記素線の間に真空泡を含んでいる、
太陽電池モジュール。
【請求項7】
前記保護部材は、
前記トップ側太陽電池サブモジュールの受光側に配置された受光側保護部材と、
前記ボトム側太陽電池サブモジュールの裏側に配置された裏側保護部材と、
を含み、
前記トップ側封止材は、前記トップ側太陽電池サブモジュールの受光側と前記受光側保護部材との間、および、前記トップ側太陽電池サブモジュールの裏側と前記絶縁部材との間に配置されており、
前記ボトム側封止材は、前記ボトム側太陽電池サブモジュールの受光側と前記絶縁部材との間、および、前記ボトム側太陽電池サブモジュールの裏側と前記裏側保護部材との間に配置されており、
前記トップ側封止強化部材は、前記受光側保護部材と前記絶縁部材との間において、前記太陽電池モジュールの周囲端部に配置されている、または、
前記ボトム側封止強化部材は、前記絶縁部材と前記裏側保護部材との間において、前記太陽電池モジュールの周囲端部に配置されている、
請求項6に記載の太陽電池モジュール。
【請求項8】
前記トップ側太陽電池サブモジュールは、透明基材と、前記透明基材上に形成された前記薄膜系太陽電池セルとを有し、
前記保護部材は、
前記トップ側太陽電池サブモジュールの受光側に配置された受光側保護部材と、
前記ボトム側太陽電池サブモジュールの裏側に配置された裏側保護部材と、
を含み、
前記トップ側封止材は、前記トップ側太陽電池サブモジュールの受光側と前記受光側保護部材との間、および、前記トップ側太陽電池サブモジュールの裏側と前記絶縁部材との間に配置されており、
前記ボトム側封止材は、前記ボトム側太陽電池サブモジュールの受光側と前記絶縁部材との間、および、前記ボトム側太陽電池サブモジュールの裏側と前記裏側保護部材との間に配置されており、
前記トップ側封止強化部材は、前記透明基材と前記絶縁部材との間において、前記トップ側太陽電池サブモジュールの周囲端部に配置されている、または、
前記ボトム側封止強化部材は、前記絶縁部材と前記裏側保護部材との間において、前記ボトム側太陽電池サブモジュールの周囲端部に配置されている、
請求項6に記載の太陽電池モジュール。
【請求項9】
前記トップ側太陽電池サブモジュールは、透明基材と、前記透明基材上に形成された前記薄膜系太陽電池セルとを有し、
前記保護部材は、前記ボトム側太陽電池サブモジュールの裏側に配置された裏側保護部材を含み、
前記トップ側封止材は、前記トップ側太陽電池サブモジュールの裏側と前記絶縁部材との間に配置されており、
前記ボトム側封止材は、前記ボトム側太陽電池サブモジュールの受光側と前記絶縁部材との間、および、前記ボトム側太陽電池サブモジュールの裏側と前記裏側保護部材との間に配置されており、
前記トップ側封止強化部材は、前記透明基材と前記絶縁部材との間において、前記トップ側太陽電池サブモジュールの周囲端部に配置されている、または、
前記ボトム側封止強化部材は、前記絶縁部材と前記裏側保護部材との間において、前記ボトム側太陽電池サブモジュールの周囲端部に配置されている、
請求項6に記載の太陽電池モジュール。
【請求項10】
前記封止強化部材の前記素線は、導電性を有し、
前記封止強化部材は、前記薄膜系太陽電池サブモジュールのための外部引出配線を兼ねる、
請求項1~5のいずれか1項に記載の太陽電池モジュール。
(【請求項11】以降は省略されています)
発明の詳細な説明
【技術分野】
【0001】
本発明は、太陽電池モジュールに関する。
続きを表示(約 1,800 文字)
【背景技術】
【0002】
特許文献1には、ペロブスカイト系(薄膜系)の太陽電池サブモジュールを備える太陽電池モジュールが開示されている。太陽電池サブモジュールは、透明基材上に形成されたペロブスカイト系(薄膜系)の太陽電池セルを備える。
【0003】
このような太陽電池モジュールでは、太陽電池サブモジュールを、例えば受光側保護部材および裏側保護部材、並びに封止材で封止する。更に、このような太陽電池モジュールでは、ペロブスカイト系(薄膜系)の太陽電池サブモジュールが湿度に弱いため、周囲の端部をブチルゴム部材で封止する。
【0004】
また、特許文献2には、太陽電池モジュールの周囲の端部を封止するブチルゴム部材に、吸湿材を含有させる技術が開示されている。
【先行技術文献】
【特許文献】
【0005】
国際公開第2020/208854号
特開2012-094561号公報
【発明の概要】
【発明が解決しようとする課題】
【0006】
本願発明者(ら)は、ブチルゴム部材に代わる新たな封止強化部材を用いて、太陽電池モジュールの耐湿性を高めることを考案する。
【0007】
本発明は、耐湿性を高めた太陽電池モジュールを提供することを目的とする。
【課題を解決するための手段】
【0008】
本発明に係る太陽電池モジュールは、薄膜系太陽電池セルを有する薄膜系太陽電池サブモジュールと、前記薄膜系太陽電池サブモジュールを封止する保護部材および封止材と、
を備える太陽電池モジュールであって、前記太陽電池モジュールの周囲端部、または、前記薄膜系太陽電池サブモジュールの周囲端部を封止する封止強化部材を更に備える。前記封止強化部材は、複数本の素線を編んだ編物または複数本の素線を織った織物により形成された部材、または複数本の素線を撚った部材であり、樹脂でコーティングされて、前記素線の間に真空泡を含んでいる。
【0009】
本発明に係る別の太陽電池モジュールは、薄膜系太陽電池セルを有するトップ側太陽電池サブモジュールと、結晶シリコン系太陽電池セルを有するボトム側太陽電池サブモジュールとを有する4端子型のタンデム型太陽電池モジュールであって、前記トップ側太陽電池サブモジュールおよび前記ボトム側太陽電池サブモジュールを封止する保護部材および封止材と、前記太陽電池モジュールの周囲端部、または、前記トップ側太陽電池サブモジュールの周囲端部および前記ボトム側太陽電池サブモジュールの周囲端部を封止する封止強化部材とを備える。前記封止強化部材は、複数本の素線を編んだ編物または複数本の素線を織った織物により形成された部材、または複数本の素線を撚った部材であり、樹脂でコーティングされて、前記素線の間に真空泡を含んでいる。
【0010】
本発明に係る更に別の太陽電池モジュールは、薄膜系太陽電池セルを有するトップ側太陽電池サブモジュールと、結晶シリコン系太陽電池セルを有するボトム側太陽電池サブモジュールとを有する4端子型のタンデム型太陽電池モジュールであって、前記トップ側太陽電池サブモジュールおよび前記ボトム側太陽電池サブモジュールを封止する保護部材と、前記トップ側太陽電池サブモジュールと前記ボトム側太陽電池サブモジュールとの間に配置された絶縁部材と、前記トップ側太陽電池サブモジュールを封止するトップ側封止材と、前記ボトム側太陽電池サブモジュールを封止するボトム側封止材と、前記太陽電池モジュールの周囲端部、または、前記トップ側太陽電池サブモジュールの周囲端部を封止するトップ側封止強化部材と、前記太陽電池モジュールの周囲端部、または、前記ボトム側太陽電池サブモジュールの周囲端部を封止するボトム側封止強化部材とを備える。前記トップ側封止強化部材および前記ボトム側封止強化部材の少なくとも一方は、複数本の素線を編んだ編物または複数本の素線を織った織物により形成された部材、または複数本の素線を撚った部材であり、樹脂でコーティングされて、前記素線の間に真空泡を含んでいる。
【発明の効果】
(【0011】以降は省略されています)
この特許をJ-PlatPat(特許庁公式サイト)で参照する
関連特許
株式会社カネカ
飲料
8日前
株式会社カネカ
飲料
8日前
株式会社カネカ
製膜装置
12日前
株式会社カネカ
製膜装置
12日前
株式会社カネカ
医療用具
12日前
株式会社カネカ
カテーテル
12日前
株式会社カネカ
カテーテル
6日前
株式会社カネカ
カテーテル
6日前
株式会社カネカ
カテーテル
6日前
株式会社カネカ
カテーテル
6日前
株式会社カネカ
カテーテル
5日前
株式会社カネカ
カテーテル
12日前
株式会社カネカ
カテーテル
12日前
株式会社カネカ
カテーテル
7日前
株式会社カネカ
生体内留置具
12日前
株式会社カネカ
酵母含有菓子
7日前
株式会社カネカ
シーリング材
5日前
株式会社カネカ
油脂の製造方法
14日前
株式会社カネカ
重量物載置架台
5日前
株式会社カネカ
医療用具セット
8日前
株式会社カネカ
フィルム延伸装置
14日前
株式会社カネカ
バルーンカテーテル
14日前
株式会社カネカ
バルーンカテーテル
8日前
株式会社カネカ
太陽電池モジュール
5日前
株式会社カネカ
太陽電池モジュール
14日前
株式会社カネカ
透湿度測定用封止装置
6日前
株式会社カネカ
気化装置及び製膜装置
6日前
株式会社カネカ
予測方法及び製造方法
8日前
株式会社カネカ
自動車用バンパー芯材
5日前
株式会社カネカ
繊維、及び、繊維構造体
5日前
株式会社カネカ
製造工場の管理システム
8日前
株式会社カネカ
多加水パン生地用改良剤
6日前
株式会社カネカ
冷凍苺及びその製造方法
6日前
株式会社カネカ
多加水パン生地用改良剤
6日前
株式会社カネカ
太陽電池パネルの検査装置
1日前
株式会社カネカ
建材用太陽電池モジュール
5日前
続きを見る
他の特許を見る