TOP
|
特許
|
意匠
|
商標
特許ウォッチ
Twitter
他の特許を見る
公開番号
2025145109
公報種別
公開特許公報(A)
公開日
2025-10-03
出願番号
2024045124
出願日
2024-03-21
発明の名称
カテーテル
出願人
株式会社カネカ
代理人
弁理士法人アスフィ国際特許事務所
主分類
A61M
25/00 20060101AFI20250926BHJP(医学または獣医学;衛生学)
要約
【課題】金属線材から構成された補強層を有するチューブを備えたカテーテルであって、安全性に優れたカテーテルを提供する。
【解決手段】近位側から遠位側に延びる長手方向と、長手方向に垂直な径方向とを有するチューブ11を備えたカテーテルであって、チューブ11は、樹脂製の内層12と、内層12の径方向の外側に設けられ、第1金属線材14Aと第2金属線材14Bが編組状に配された補強層13と、補強層13の径方向の外側に設けられた樹脂製の外層17とを有し、補強層13は、第1金属線材14Aの遠位端部に第1金属線材14Aが溶融した膨らみ部16を有し、第2金属線材14Bの遠位端部に第2金属線材14Bが溶融した膨らみ部16を有するカテーテル。
【選択図】図4
特許請求の範囲
【請求項1】
近位側から遠位側に延びる長手方向と、前記長手方向に垂直な径方向とを有するチューブを備えたカテーテルであって、
前記チューブは、樹脂製の内層と、前記内層の前記径方向の外側に設けられ、第1金属線材と第2金属線材が編組状に配された補強層と、前記補強層の前記径方向の外側に設けられた樹脂製の外層とを有し、
前記補強層は、前記第1金属線材の遠位端部に前記第1金属線材が溶融した膨らみ部を有し、前記第2金属線材の遠位端部に前記第2金属線材が溶融した膨らみ部を有するカテーテル。
続きを表示(約 590 文字)
【請求項2】
前記第1金属線材の前記膨らみ部の厚みは、前記第1金属線材の前記膨らみ部以外の厚みよりも厚く、
前記第2金属線材の前記膨らみ部の厚みは、前記第2金属線材の前記膨らみ部以外の厚みよりも厚い請求項1に記載のカテーテル。
【請求項3】
前記補強層の遠位端部に前記第1金属線材と前記第2金属線材の交差部が存在し、前記交差部において、前記第1金属線材の前記膨らみ部と前記第2金属線材の前記膨らみ部が溶融一体化している請求項1に記載のカテーテル。
【請求項4】
前記第1金属線材の融点と前記第2金属線材の融点は同じである請求項3に記載のカテーテル。
【請求項5】
前記第1金属線材と前記第2金属線材は同一金属から構成されている請求項3に記載のカテーテル。
【請求項6】
前記第1金属線材の前記膨らみ部は、前記第1金属線材の前記径方向の外側から内側にかけて前記外層の樹脂により被覆され、
前記第2金属線材の前記膨らみ部は、前記第2金属線材の前記径方向の外側から内側にかけて前記外層の樹脂により被覆されている請求項1~5のいずれか一項に記載のカテーテル。
【請求項7】
前記内層は、前記補強層の遠位端よりも遠位側に延在している請求項1~5のいずれか一項に記載のカテーテル。
発明の詳細な説明
【技術分野】
【0001】
本発明は、金属線材から構成された補強層を有するチューブを備えたカテーテルに関するものである。
続きを表示(約 2,700 文字)
【背景技術】
【0002】
従来、金属線材から構成された補強層を有するチューブを備えたカテーテルが知られている。例えば特許文献1には、樹脂からなる内層と、内層の外周に設けられ、第一素線と第二素線とで形成された編組体と、編組体の外周に設けられた樹脂からなる外層とからなるカテーテルであって、第一素線と第二素線が、第一素線の先端が第二素線の側面を覆う接合部で接合されているカテーテルが開示されている。特許文献2には、金属製の第1組の素線と金属製の第2組の素線とが複数の交差部で交差する筒状の編組体を備えるカテーテルであって、前記交差部において、外周側から見た場合の4つの角のうち1つの角を含む角領域に形成された溶接部によって2つの素線が溶接され、溶接部が、内周側の素線について、外周側から見た幅方向一部のみに形成されているカテーテルが開示されている。
【先行技術文献】
【特許文献】
【0003】
特開2014-033682号公報
特開2022-150880号公報
【発明の概要】
【発明が解決しようとする課題】
【0004】
金属線材から構成された補強層を有するチューブは、通常、補強層が樹脂製の内層と樹脂製の外層の間に配されて構成される。このようなチューブを備えたカテーテルは、補強層を構成する金属線材が外層を突き破ったりチューブの遠位端から突き出たりしないことが求められ、これにより金属線材が露出することによって体内管腔を傷付けたりすることが抑えられる。
【0005】
本発明は前記事情に鑑みてなされたものであり、その目的は、金属線材から構成された補強層を有するチューブを備えたカテーテルであって、安全性に優れたカテーテルを提供することにある。
【課題を解決するための手段】
【0006】
前記課題を解決することができた本発明のカテーテルは下記の通りである。
[1] 近位側から遠位側に延びる長手方向と、前記長手方向に垂直な径方向とを有するチューブを備えたカテーテルであって、前記チューブは、樹脂製の内層と、前記内層の前記径方向の外側に設けられ、第1金属線材と第2金属線材が編組状に配された補強層と、前記補強層の前記径方向の外側に設けられた樹脂製の外層とを有し、前記補強層は、前記第1金属線材の遠位端部に前記第1金属線材が溶融した膨らみ部を有し、前記第2金属線材の遠位端部に前記第2金属線材が溶融した膨らみ部を有するカテーテル。
[2] 前記第1金属線材の前記膨らみ部の厚みは、前記第1金属線材の前記膨らみ部以外の厚みよりも厚く、前記第2金属線材の前記膨らみ部の厚みは、前記第2金属線材の前記膨らみ部以外の厚みよりも厚い[1]に記載のカテーテル。
[3] 前記補強層の遠位端部に前記第1金属線材と前記第2金属線材の交差部が存在し、前記交差部において、前記第1金属線材の前記膨らみ部と前記第2金属線材の前記膨らみ部が溶融一体化している[1]または[2]に記載のカテーテル。
[4] 前記第1金属線材の融点と前記第2金属線材の融点は同じである[1]~[3]のいずれかに記載のカテーテル。
[5] 前記第1金属線材と前記第2金属線材は同一金属から構成されている[1]~[4]のいずれかに記載のカテーテル。
[6] 前記第1金属線材の前記膨らみ部は、前記第1金属線材の前記径方向の外側から内側にかけて前記外層の樹脂により被覆され、前記第2金属線材の前記膨らみ部は、前記第2金属線材の前記径方向の外側から内側にかけて前記外層の樹脂により被覆されている[1]~[5]のいずれかに記載のカテーテル。
[7] 前記内層は、前記補強層の遠位端よりも遠位側に延在している[1]~[6]のいずれかに記載のカテーテル。
【発明の効果】
【0007】
本発明のカテーテルは、金属線材から構成された補強層を有するチューブを備え、金属線材の遠位端部に金属線材が溶融した膨らみ部が形成されている。そのため、金属線材の遠位端部が鋭利にならず、金属線材が、補強層の外側を覆う外層を突き破ったり、チューブの遠位端から突き出ることが起こりにくくなる。そのため、金属線材が露出することによって体内管腔を傷付けることが起こりにくくなり、安全性の高いカテーテルとすることができる。
【図面の簡単な説明】
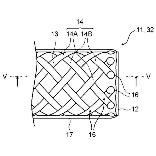
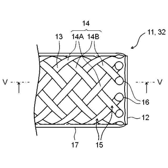
【0008】
本発明のカテーテルの一例を表し、カテーテルの側面図を表す。
図1に示したカテーテルに備えられるチューブの遠位部の側面図の一例を表す。
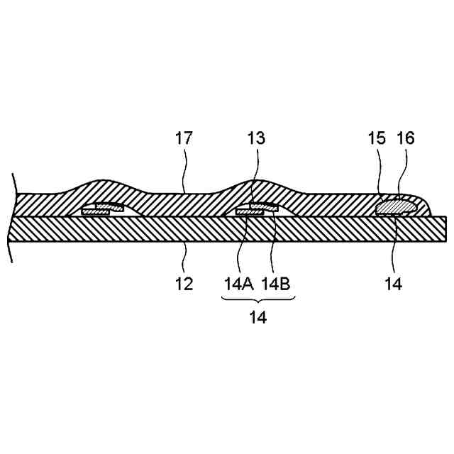
図2に示したチューブのIII-III断面図を表す。
図1に示したカテーテルに備えられるチューブの遠位部の側面図の他の例を表す。
図4に示したチューブのV-V断面図を表す。
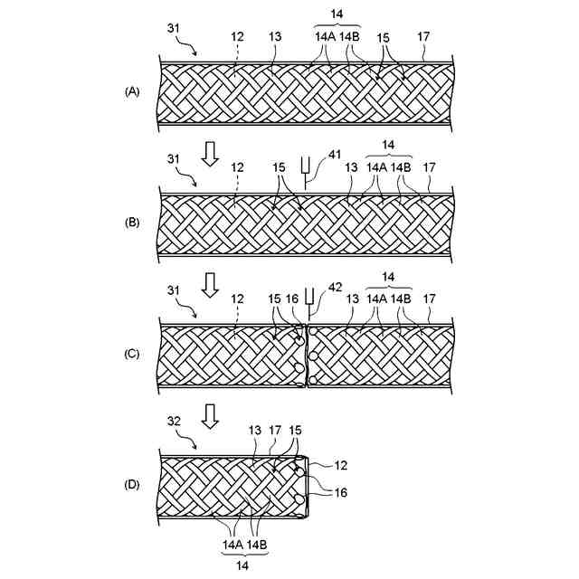
本発明のカテーテルに備えられるチューブの製造方法の一例を表し、チューブの製造方法の概略図を表す。
【発明を実施するための形態】
【0009】
以下、下記実施の形態に基づき本発明を具体的に説明するが、本発明はもとより下記実施の形態によって制限を受けるものではなく、前・後記の趣旨に適合し得る範囲で適当に変更を加えて実施することも勿論可能であり、それらはいずれも本発明の技術的範囲に包含される。なお、各図面において、便宜上、ハッチングや部材符号等を省略する場合もあるが、かかる場合、明細書や他の図面を参照するものとする。また、図面における種々部材の寸法は、本発明の特徴の理解に資することを優先しているため、実際の寸法とは異なる場合がある。
【0010】
本発明の実施の形態に係るカテーテルは、金属線材が編組状に配された補強層を有するチューブを備え、補強層が、編組状に配された金属線材の遠位端部に金属線材が溶融した膨らみ部を有するものである。本発明のカテーテルは、このように構成された補強層を有するチューブを有するため、金属線材の遠位端部が鋭利にならず、金属線材が、補強層の外側を覆う外層を突き破ったり、チューブの遠位端から突き出ることが起こりにくくなる。そのため、金属線材が露出することによって体内管腔を傷付けることが起こりにくくなり、安全性の高いカテーテルとすることができる。
(【0011】以降は省略されています)
この特許をJ-PlatPat(特許庁公式サイト)で参照する
関連特許
株式会社カネカ
断熱材
19日前
株式会社カネカ
カテーテル
1か月前
株式会社カネカ
カテーテル
今日
株式会社カネカ
カテーテル
1か月前
株式会社カネカ
カテーテル
1か月前
株式会社カネカ
カテーテル
1か月前
株式会社カネカ
カテーテル
1か月前
株式会社カネカ
カテーテル
今日
株式会社カネカ
通報システム
19日前
株式会社カネカ
自動植毛装置
7日前
株式会社カネカ
シーリング材
1か月前
株式会社カネカ
重量物載置架台
1か月前
株式会社カネカ
可塑性油脂組成物
14日前
株式会社カネカ
積層体の製造方法
14日前
株式会社カネカ
太陽電池モジュール
1か月前
株式会社カネカ
自動車用バンパー芯材
1か月前
株式会社カネカ
透湿度測定用封止装置
1か月前
株式会社カネカ
気化装置及び製膜装置
1か月前
株式会社カネカ
イチュリン含有組成物
今日
株式会社カネカ
多加水パン生地用改良剤
1か月前
株式会社カネカ
多加水パン生地用改良剤
1か月前
株式会社カネカ
冷凍苺及びその製造方法
1か月前
株式会社カネカ
繊維、及び、繊維構造体
1か月前
株式会社カネカ
建材用太陽電池モジュール
1か月前
株式会社カネカ
積層体、及びその製造方法
14日前
株式会社カネカ
太陽電池パネルの検査装置
1か月前
株式会社クラレ
樹脂組成物
1か月前
株式会社カネカ
熱可塑性フィルムの製造方法
1か月前
株式会社カネカ
除細動用カテーテルシステム
1か月前
株式会社カネカ
コンクリート塗装用塗料組成物
1か月前
株式会社カネカ
基板カセットおよび基板処理装置
1か月前
株式会社カネカ
塩化ビニル樹脂凝集粒子の製造方法
1か月前
株式会社カネカ
有機エレクトロルミネッセンスデバイス
1か月前
株式会社カネカ
メタクリル樹脂組成物及び樹脂フィルム
1か月前
株式会社カネカ
組織標本作製用の挿入具およびその利用
1か月前
株式会社カネカ
チルド麺類用油脂組成物及びチルド麺類
1か月前
続きを見る
他の特許を見る