TOP
|
特許
|
意匠
|
商標
特許ウォッチ
Twitter
他の特許を見る
公開番号
2025150953
公報種別
公開特許公報(A)
公開日
2025-10-09
出願番号
2024052125
出願日
2024-03-27
発明の名称
組織標本作製用の挿入具およびその利用
出願人
株式会社カネカ
代理人
弁理士法人 HARAKENZO WORLD PATENT & TRADEMARK
主分類
G01N
1/36 20060101AFI20251002BHJP(測定;試験)
要約
【課題】管状臓器の固定組織を製造するにあたり、管腔部分の潰れを低減できる製造方法を提供する。
【解決手段】本発明の一態様に係る管状臓器の固定組織の製造方法は、工程1:管状臓器の管腔に挿入具を挿入する工程、および、工程2a:挿入具が挿入された状態の管状臓器を、固定液で固定する工程を有する。
【選択図】図1
特許請求の範囲
【請求項1】
管状臓器の固定組織の製造方法であって、下記の工程を有する製造方法:
工程1:上記管状臓器の管腔に挿入具を挿入する工程;
工程2a:上記挿入具が挿入された状態の上記管状臓器を、固定液で固定する工程。
続きを表示(約 830 文字)
【請求項2】
管状臓器の脱水組織の製造方法であって、下記の工程を有する製造方法:
工程1:上記管状臓器の管腔に挿入具を挿入する工程;
工程2b:上記挿入具が挿入された状態の上記管状臓器を、脱水剤で脱水する工程。
【請求項3】
管状臓器に包埋剤を浸透させた組織の製造方法であって、下記の工程を有する製造方法:
工程1:上記管状臓器の管腔に挿入具を挿入する工程;
工程2c:上記挿入具が挿入された状態の上記管状臓器に、包埋剤を浸透させる工程。
【請求項4】
管状臓器の包埋物の製造方法であって、下記の工程を有する製造方法:
工程1:上記管状臓器の管腔に挿入具を挿入する工程;
工程2d:上記挿入具が挿入された状態の上記管状臓器を、包埋剤で包埋する工程。
【請求項5】
上記工程2cの後に、下記工程2d’を有する、請求項3に記載の製造方法:
工程2d’:上記管状臓器の管腔から上記挿入具を抜去した状態において、当該管状臓器を上記包埋剤で包埋する工程。
【請求項6】
上記管状臓器は、消化管である、
請求項1~4のいずれか1項に記載の製造方法。
【請求項7】
組織標本作製用の挿入具であって、
管状臓器の管腔に挿入され、当該管腔の変形を抑制するように構成されている、
挿入具。
【請求項8】
上記挿入具の直径は、上記管状臓器の管腔の直径の30~95%である、
請求項7に記載の挿入具。
【請求項9】
少なくとも一部が軟質材料および/または弾性材料で構成されている、
請求項7に記載の挿入具。
【請求項10】
請求項7~9のいずれか1項に記載の挿入具を備えている、
組織標本作製用カセット。
(【請求項11】以降は省略されています)
発明の詳細な説明
【技術分野】
【0001】
本発明は、組織標本作製用の挿入具およびその利用に関する。
続きを表示(約 2,700 文字)
【背景技術】
【0002】
医学・生命科学分野において、薄片状の組織標本を作製する際には、通常、固定処理、脱水処理、包埋剤の浸透処理および包埋処理を施す。このような処理の際に用いる器具として、包埋カセットなどの組織標本保持器具が知られている(例えば、特許文献1を参照)。
【先行技術文献】
【特許文献】
【0003】
特表2007-508569号
【発明の概要】
【発明が解決しようとする課題】
【0004】
固定処理、脱水処理および包埋剤の浸透処理において組織が被る変形の態様は、組織の種類によって異なる。例えば、小腸などの管状臓器の場合は、管が潰れて管腔部分が狭くなることがある。このような形状の管状臓器から薄片状の組織標本を作製すると、絨毛などの管腔内構造が重なり合い、充分な組織学的評価ができない場合がある。一例として、図8の顕微鏡像を参照すると、管腔が狭く潰れた結果、対向する腸壁の絨毛が重なり合ったり、腸壁の絨毛と粘膜の絨毛が重なり合ったりしている箇所がある(丸で囲んだ箇所を参照)。特許文献1に開示されているような技術では、このような変形を防ぐことが難しかった。
【0005】
本発明の一態様は、管状臓器の固定組織、脱水組織、包埋剤が浸透した組織または包埋物を製造するにあたり、管腔部分の潰れを低減できる製造方法を提供することを課題とする。
【課題を解決するための手段】
【0006】
本発明には、下記の態様が含まれる。
<1>
管状臓器の固定組織の製造方法であって、下記の工程を有する製造方法:
工程1:上記管状臓器の管腔に挿入具を挿入する工程;
工程2a:上記挿入具が挿入された状態の上記管状臓器を、固定液で固定する工程。
<2>
管状臓器の脱水組織の製造方法であって、下記の工程を有する製造方法:
工程1:上記管状臓器の管腔に挿入具を挿入する工程;
工程2b:上記挿入具が挿入された状態の上記管状臓器を、脱水剤で脱水する工程。
<3>
管状臓器に包埋剤を浸透させた組織の製造方法であって、下記の工程を有する製造方法:
工程1:上記管状臓器の管腔に挿入具を挿入する工程;
工程2c:上記挿入具が挿入された状態の上記管状臓器に、包埋剤を浸透させる工程。
<4>
管状臓器の包埋物の製造方法であって、下記の工程を有する製造方法:
工程1:上記管状臓器の管腔に挿入具を挿入する工程;
工程2d:上記挿入具が挿入された状態の上記管状臓器を、包埋剤で包埋する工程。
<5>
上記工程2cの後に、下記工程2d’を有する、<3>に記載の製造方法:
工程2d’:上記管状臓器の管腔から上記挿入具を抜去した状態において、当該管状臓器を上記包埋剤で包埋する工程。
<6>
上記管状臓器は、消化管である、
<1>~<5>のいずれか1項に記載の製造方法。
<7>
組織標本作製用の挿入具であって、
管状臓器の管腔に挿入され、当該管腔の変形を抑制するように構成されている、
挿入具。
<8>
上記挿入具の直径は、上記管状臓器の管腔の直径の30~95%である、
<7>に記載の挿入具。
<9>
少なくとも一部が軟質材料および/または弾性材料で構成されている、
<7>または<8>に記載の挿入具。
<10>
<7>~<9>のいずれかに記載の挿入具を備えている、
組織標本作製用カセット。
<11>
上記組織標本作製用カセットは、本体を備えており、
上記本体および上記挿入具は、一体に成形されている、
<10>に記載の標本作製用カセット。
<12>
上記組織標本作製用カセットは、本体および当該本体に対して開閉可能である蓋部を備えており、
上記挿入具は、第1端および第2端を有しており、
上記挿入具の第1端は、上記本体の内部底面、内部側面または内部天面に固着されており、
上記挿入具の第1端から第2端までの長さの最大値および最小値は、下記の通りである、<10>または<11>に記載の標本作製用カセット:
最大値:上記蓋部を閉じた状態において、上記挿入具の第1端が固着されている上記内部底面、上記内部側面または上記内部天面と対向する部材に、上記挿入具の第2端が当接する長さ;
最小値:上記最大値の80%の長さ。
<13>
上記組織標本作製用カセットは、本体を備えており、
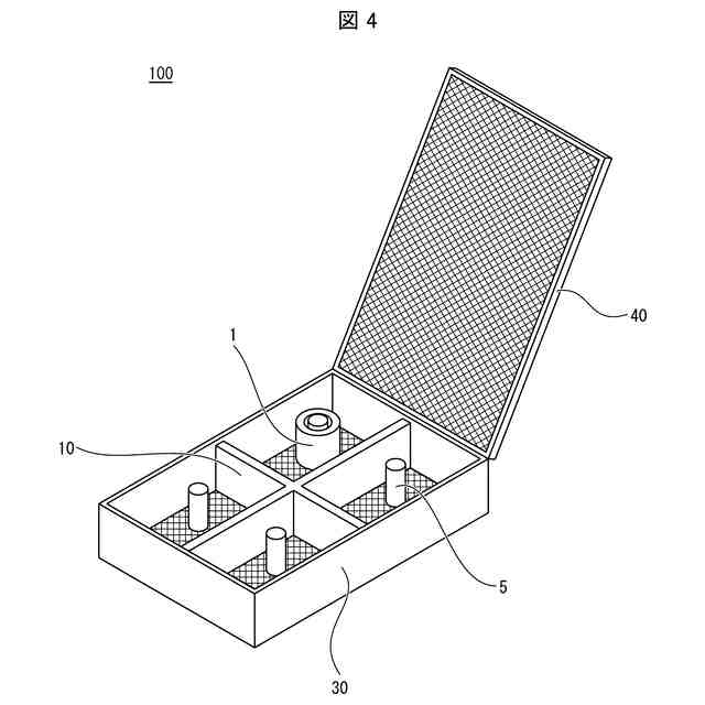
上記本体の内部空間は、複数の収容部に分割されており、
【発明の効果】
【0007】
本発明の一態様によれば、管状臓器の固定組織、脱水組織、包埋剤が浸透した組織または包埋物を製造するにあたり、管腔部分の潰れを低減できる製造方法が提供される。
【図面の簡単な説明】
【0008】
本発明の一態様に係る製造方法の一例を表すフローである。
本発明の一態様に係る挿入具および管状臓器の一例を表す模式図である。
挿入具を管状臓器の管腔に挿入した状態を表す模式図である。
本発明の一態様に係る組織標本作製用カセットの一例を表す模式図である。
組織標本作製用カセットの蓋部を閉じた状態を表す模式図である。
組織標本作製用カセットの断面を表す模式図である。図5のA-A’断面を矢印の方向から見ている。
本発明の一態様に係る方法で製造した小腸の組織標本を表す顕微鏡像である。
従来技術に係る方法で製造した小腸の組織標本を表す顕微鏡像である。
【発明を実施するための形態】
【0009】
以下、本発明の実施形態の一例について詳細に説明するが、本発明は、下記の各実施形態に限定されず、請求項に示した範囲で種々の変更を施してよい。異なる実施形態に記載されている技術的手段を組合せた実施形態も、本発明の技術的範囲に含まれる。
【0010】
本明細書において特記しない限り、数値範囲を表す「A~B」は、「A以上、B以下」を意味する。本明細書において特記しない限り、同じ符号を付している部材は、同じまたは類似した機能を有している。
(【0011】以降は省略されています)
この特許をJ-PlatPat(特許庁公式サイト)で参照する
関連特許
株式会社カネカ
飲料
2か月前
株式会社カネカ
飲料
2か月前
株式会社カネカ
断熱材
1か月前
株式会社カネカ
医療用具
2か月前
株式会社カネカ
製膜装置
2か月前
株式会社カネカ
製膜装置
2か月前
株式会社カネカ
カテーテル
2か月前
株式会社カネカ
カテーテル
2か月前
株式会社カネカ
カテーテル
2か月前
株式会社カネカ
カテーテル
2か月前
株式会社カネカ
カテーテル
2か月前
株式会社カネカ
カテーテル
2か月前
株式会社カネカ
カテーテル
2か月前
株式会社カネカ
カテーテル
2か月前
株式会社カネカ
カテーテル
2か月前
株式会社カネカ
カテーテル
14日前
株式会社カネカ
カテーテル
14日前
株式会社カネカ
生体内留置具
2か月前
株式会社カネカ
酵母含有菓子
2か月前
株式会社カネカ
シーリング材
2か月前
株式会社カネカ
自動植毛装置
21日前
株式会社カネカ
通報システム
1か月前
株式会社カネカ
重量物載置架台
2か月前
株式会社カネカ
油脂の製造方法
2か月前
株式会社カネカ
医療用具セット
2か月前
株式会社カネカ
フィルム延伸装置
2か月前
株式会社カネカ
可塑性油脂組成物
28日前
株式会社カネカ
積層体の製造方法
28日前
株式会社カネカ
バルーンカテーテル
2か月前
株式会社カネカ
太陽電池モジュール
2か月前
株式会社カネカ
太陽電池モジュール
2か月前
株式会社カネカ
バルーンカテーテル
2か月前
株式会社カネカ
気化装置及び製膜装置
2か月前
株式会社カネカ
生産計画立案システム
2か月前
株式会社カネカ
透湿度測定用封止装置
2か月前
株式会社カネカ
自動車用バンパー芯材
2か月前
続きを見る
他の特許を見る