TOP
|
特許
|
意匠
|
商標
特許ウォッチ
Twitter
他の特許を見る
10個以上の画像は省略されています。
公開番号
2025152532
公報種別
公開特許公報(A)
公開日
2025-10-10
出願番号
2024054461
出願日
2024-03-28
発明の名称
除細動用カテーテルシステム
出願人
株式会社カネカ
代理人
弁理士法人アスフィ国際特許事務所
主分類
A61N
1/39 20060101AFI20251002BHJP(医学または獣医学;衛生学)
要約
【課題】使用者が心電位を把握できない時間を短時間に抑えることができる除細動用カテーテルシステムを提供する。
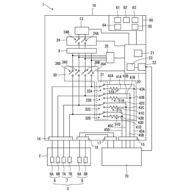
【解決手段】カテーテルと、カテーテルに配されている電極部5と、電極部5に電圧を印加する電源13と、心電計接続部15と、電源13と心電計接続部15との間に配され、除細動モードと電位測定モードとに切り替える一または複数のスイッチ素子を含む切替部30と、切替部30と心電計接続部15との第1接続ライン41A~41Dと、切替部30と心電計接続部15との第2接続ライン42A~42Dであって、第1接続ライン41A~41Dと並列に配されている第2接続ライン42A~42Dと、第1接続ライン41A~41D上に配され、切替部30と直列接続されている第1抵抗51A~51Dと、を有する除細動用カテーテルシステム1。
【選択図】図2
特許請求の範囲
【請求項1】
長手軸方向を有するカテーテルと、
前記カテーテルの遠位部に配されている電極部と、
前記電極部に電圧を印加する電源と、
心電計に接続される心電計接続部と、
前記電源と前記心電計接続部との間に配されており、前記電極部に対して電圧を印加する除細動モードと前記電極部により電位を測定する電位測定モードとに切り替える一または複数のスイッチ素子を含む切替部と、
前記切替部と前記心電計接続部との間にある第1接続ラインと、
前記切替部と前記心電計接続部との間にある第2接続ラインであって、前記第1接続ラインと並列に配されている第2接続ラインと、
前記第1接続ライン上に配され、前記切替部と直列接続されている第1抵抗と、を有する除細動用カテーテルシステム。
続きを表示(約 1,500 文字)
【請求項2】
前記切替部に接続され、前記除細動モードと前記電位測定モードとに切り替える制御部をさらに有し、
前記制御部は、前記除細動モードでは前記切替部が前記第1接続ラインに接続されて前記電位測定モードでは前記切替部が前記第2接続ラインに接続されるように前記切替部が有する前記スイッチ素子の制御を行う請求項1に記載の除細動用カテーテルシステム。
【請求項3】
前記切替部は1回路2接点スイッチを有し、
前記1回路2接点スイッチの共通接点は、前記電源に接続されており、
前記1回路2接点スイッチの第1接点は、前記第1抵抗に接続されており、
前記1回路2接点スイッチの第2接点は、抵抗を介さずに前記心電計接続部に接続されている請求項1に記載の除細動用カテーテルシステム。
【請求項4】
前記除細動用カテーテルシステムは、前記第2接続ライン上に配され、前記第1抵抗よりも抵抗値が小さい第2抵抗をさらに有し、
前記切替部は1回路2接点スイッチを有し、
前記1回路2接点スイッチの共通接点は前記電源に接続されており、
前記1回路2接点スイッチの第1接点は前記第1抵抗に接続されており、
前記1回路2接点スイッチの第2接点は前記第2抵抗に接続されている請求項1に記載の除細動用カテーテルシステム。
【請求項5】
前記切替部は、前記第1接続ラインに接続されている第1オンオフスイッチと、前記第2接続ラインに接続されている第2オンオフスイッチとを有し、
前記第1オンオフスイッチは、前記第1抵抗に接続されており、
前記第2オンオフスイッチは、抵抗を介さずに前記心電計接続部に接続されている請求項1に記載の除細動用カテーテルシステム。
【請求項6】
前記除細動用カテーテルシステムは、前記第2接続ラインに配され、前記切替部が含む一または複数のスイッチの少なくとも1つと直列接続されている第2抵抗であって、前記第1抵抗よりも抵抗値が小さい第2抵抗をさらに有し、
前記切替部は、前記第1接続ラインに接続されている第1オンオフスイッチと、前記第2接続ラインに接続されている第2オンオフスイッチとを有し、
前記第1オンオフスイッチは、前記第1抵抗に接続されており、
前記第2オンオフスイッチは、前記第2抵抗に接続されている請求項1に記載の除細動用カテーテルシステム。
【請求項7】
前記第1接続ラインの一方端が前記切替部に接続されており、
前記第2接続ラインの一方端が前記切替部に接続されており、
前記第1接続ラインの他方端と前記第2接続ラインの他方端が互いに接続部で接続されており、
前記除細動用カテーテルシステムは、前記接続部と心電計接続部との間にある第3接続ラインと、前記第3接続ライン上に配されており、前記第1抵抗よりも抵抗値が小さい第3抵抗と、をさらに有する請求項3~6のいずれか一項に記載の除細動用カテーテルシステム。
【請求項8】
前記第1抵抗の抵抗値は、10kΩ以上10MΩ以下である請求項1または2に記載の除細動用カテーテルシステム。
【請求項9】
前記第2抵抗の抵抗値は、50Ω以上150Ω以下である請求項4または6に記載の除細動用カテーテルシステム。
【請求項10】
前記第3抵抗の抵抗値は、50Ω以上150Ω以下である請求項7に記載の除細動用カテーテルシステム。
(【請求項11】以降は省略されています)
発明の詳細な説明
【技術分野】
【0001】
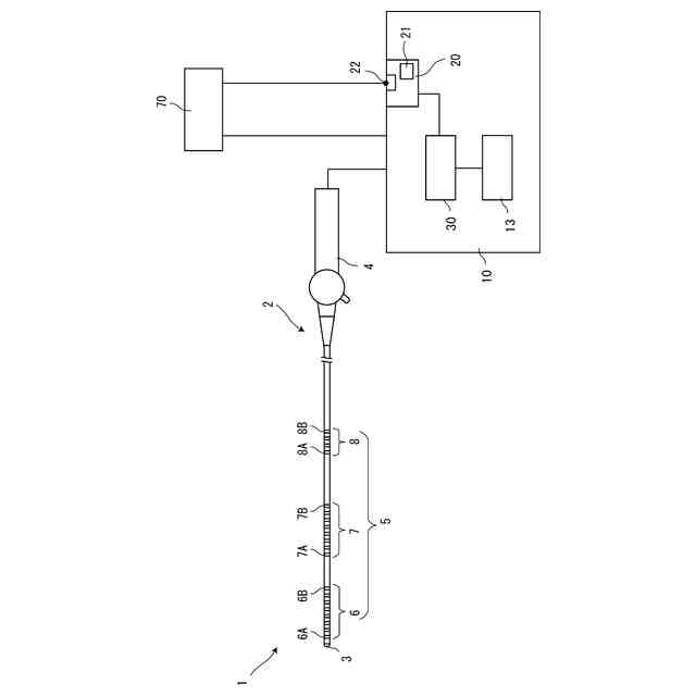
本発明は、心腔内において除細動を行う際に用いる除細動用カテーテルシステムに関する。
続きを表示(約 4,300 文字)
【背景技術】
【0002】
心房細動や心室細動等の不整脈の治療では、電気的刺激を付与することで心臓のリズムを正常に戻す除細動が行われる。除細動には、自動体外式除細動器(Automated External Defibrillator:AED)、植え込み型除細動器(Implantable Cardioverter Defibrillator:ICD)、除細動用パドル、心腔内除細動用カテーテルシステムなどが用いられる。心腔内除細動用カテーテルシステムは、カテーテルの表面に設けられた電極を通じて心臓に電気的刺激を直接付与する機器である。心腔内除細動用カテーテルシステムによれば、電極により心内電位を測定することもできる。除細動用カテーテルシステムは、自動体外式除細動器に比べて低エネルギーの電圧波形を用いることができるため、患者の負担が軽減され、さらには不整脈のカテーテル検査や焼灼手術中に使用することもできる点で有利である。
【0003】
心房細動の治療では、心室筋が反応しないように絶対不応期に心臓に電圧を印加する必要がある。絶対不応期以外に心臓に刺激を付与した場合、心室筋が反応し、心室細動に移行するおそれがある。このため、除細動用カテーテルシステムでは、R波に同期させて電圧を印加させている。特許文献1には除細動用カテーテルシステムの一例が開示されている。
【先行技術文献】
【特許文献】
【0004】
特開2010-220778号公報
【発明の概要】
【発明が解決しようとする課題】
【0005】
除細動に係る手技では、除細動電圧を印加している間以外は、安全性の観点からカテーテルで測定された心電位データが心電計の画面に常時表示されることが望ましい。特許文献1に記載の心腔内除細動用カテーテルシステムでは、切替部の接点が第2接点に切り替わる除細動モードで心電計の画面表示が一時的に切断され、その後、切替部の接点が第1接点に切り替わり、心電位測定モードに戻る。ところが、心電位測定モードに戻ったときに、電極部で測定された電位データが心電計へ入力されているにも関わらず、心電計の画面に電位データが10秒~20秒程度表示されないことがあった。すなわち、除細動電圧の印加が行われていないにも関わらず、使用者が心電位を把握できない時間が長時間続くことがあった。そこで、本発明は、使用者が心電位を把握できない時間を短時間に抑えることができる除細動用カテーテルシステムを提供することを目的とする。
【課題を解決するための手段】
【0006】
上記課題を解決することのできた本発明の実施の形態に係る除細動用カテーテルシステムは、以下の通りである。
[1] 長手軸方向を有するカテーテルと、
前記カテーテルの遠位部に配されている電極部と、
前記電極部に電圧を印加する電源と、
心電計に接続される心電計接続部と、
前記電源と前記心電計接続部との間に配されており、前記電極部に対して電圧を印加する除細動モードと前記電極部により電位を測定する電位測定モードとに切り替える一または複数のスイッチ素子を含む切替部と、
前記切替部と前記心電計接続部との間にある第1接続ラインと、
前記切替部と前記心電計接続部との間にある第2接続ラインであって、前記第1接続ラインと並列に配されている第2接続ラインと、
前記第1接続ライン上に配され、前記切替部と直列接続されている第1抵抗と、を有する除細動用カテーテルシステム。
【0007】
さらに実施の形態に係る除細動用カテーテルシステムは、以下の[2]~[11]のいずれかであることが好ましい。
[2] 前記切替部に接続され、前記除細動モードと前記電位測定モードとに切り替える制御部をさらに有し、
前記制御部は、前記除細動モードでは前記切替部が前記第1接続ラインに接続されて前記電位測定モードでは前記切替部が前記第2接続ラインに接続されるように前記切替部が有する前記スイッチ素子の制御を行う[1]に記載の除細動用カテーテルシステム。
[3] 前記切替部は1回路2接点スイッチを有し、
前記1回路2接点スイッチの共通接点は、前記電源に接続されており、
前記1回路2接点スイッチの第1接点は、前記第1抵抗に接続されており、
前記1回路2接点スイッチの第2接点は、抵抗を介さずに前記心電計接続部に接続されている[1]または[2]に記載の除細動用カテーテルシステム。
[4] 前記除細動用カテーテルシステムは、前記第2接続ライン上に配され、前記第1抵抗よりも抵抗値が小さい第2抵抗をさらに有し、
前記切替部は1回路2接点スイッチを有し、
前記1回路2接点スイッチの共通接点は前記電源に接続されており、
前記1回路2接点スイッチの第1接点は前記第1抵抗に接続されており、
前記1回路2接点スイッチの第2接点は前記第2抵抗に接続されている[1]または[2]に記載の除細動用カテーテルシステム。
[5] 前記切替部は、前記第1接続ラインに接続されている第1オンオフスイッチと、前記第2接続ラインに接続されている第2オンオフスイッチとを有し、
前記第1オンオフスイッチは、前記第1抵抗に接続されており、
前記第2オンオフスイッチは、抵抗を介さずに前記心電計接続部に接続されている[1]または[2]に記載の除細動用カテーテルシステム。
[6] 前記除細動用カテーテルシステムは、前記第2接続ラインに配され、前記切替部が含む一または複数のスイッチの少なくとも1つと直列接続されている第2抵抗であって、前記第1抵抗よりも抵抗値が小さい第2抵抗をさらに有し、
前記切替部は、前記第1接続ラインに接続されている第1オンオフスイッチと、前記第2接続ラインに接続されている第2オンオフスイッチとを有し、
前記第1オンオフスイッチは、前記第1抵抗に接続されており、
前記第2オンオフスイッチは、前記第2抵抗に接続されている[1]または[2]に記載の除細動用カテーテルシステム。
[7] 前記第1接続ラインの一方端が前記切替部に接続されており、
前記第2接続ラインの一方端が前記切替部に接続されており、
前記第1接続ラインの他方端と前記第2接続ラインの他方端が互いに接続部で接続されており、
前記除細動用カテーテルシステムは、前記接続部と心電計接続部との間にある第3接続ラインと、前記第3接続ライン上に配されており、前記第1抵抗よりも抵抗値が小さい第3抵抗と、をさらに有する[3]~[6]のいずれか一項に記載の除細動用カテーテルシステム。
[8] 前記第1抵抗の抵抗値は、10kΩ以上10MΩ以下である[1]~[6]のいずれか一項に記載の除細動用カテーテルシステム。
[9] 前記第2抵抗の抵抗値は、50Ω以上150Ω以下である[4]または[6]に記載の除細動用カテーテルシステム。
[10] 前記第3抵抗の抵抗値は、50Ω以上150Ω以下である[7]に記載の除細動用カテーテルシステム。
[11] 前記切替部は、前記1回路2接点スイッチよりも前記電源側に配されている電源側オンオフスイッチをさらに含む[3]または[4]に記載の除細動用カテーテルシステム。
[12] 前記切替部は、前記第1オンオフスイッチよりも前記電源側かつ前記第2オンオフスイッチよりも前記電源側に配されている電源側オンオフスイッチをさらに含む[5]または[6]に記載の除細動用カテーテルシステム。
【発明の効果】
【0008】
上記除細動用カテーテルシステムによれば、除細動を行うときには切替部と第1抵抗が直列に配置されている第1接続ラインに接続されるように制御できるため、除細動中に心電計に高電圧がかかることを防ぐことができる。また、除細動モードのときにも第1接続ラインによって心電計とカテーテルシステムとの接続が維持されているため、除細動後に電位測定モードに戻るときにも、電極部での測定電位の戻りを早くすることができる。そのため、心電計でのベースラインが安定し、心電計の画面表示の回復も早くなり、使用者が心電位を把握できない時間を短時間に抑えることができる。
【図面の簡単な説明】
【0009】
本発明の一実施態様に係る除細動用カテーテルシステムの模式図である。
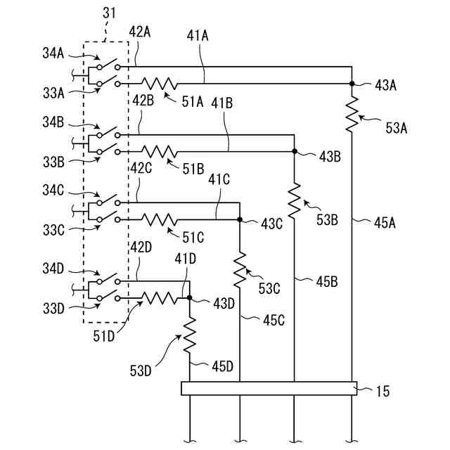
本発明の一実施態様に係る除細動用カテーテルシステムにおいて、除細動モードの状態を示す回路図である。
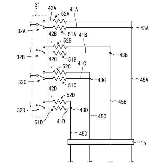
図2に示した除細動用カテーテルシステムにおいて、電位測定モードの状態を示す回路図である。
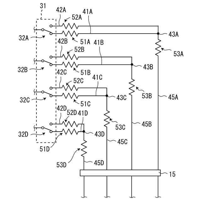
図2に示した除細動用カテーテルシステムの変形例を示す回路図である。
図2に示した除細動用カテーテルシステムの他の変形例を示す回路図である。
図2に示した除細動用カテーテルシステムのさらに他の変形例を示す回路図である。
図2に示した除細動用カテーテルシステムのさらに他の変形例を示す回路図である。
図2に示した除細動用カテーテルシステムのさらに他の変形例を示す回路図である。
図2に示した除細動用カテーテルシステムのさらに他の変形例を示す回路図である。
図2に示した除細動用カテーテルシステムのさらに他の変形例を示す回路図である。
【発明を実施するための形態】
【0010】
以下、下記実施の形態に基づき本発明をより具体的に説明するが、本発明はもとより下記実施の形態によって制限を受けるものではなく、前・後記の趣旨に適合し得る範囲で適当に変更を加えて実施することも勿論可能であり、それらはいずれも本発明の技術的範囲に包含される。なお、各図面において、便宜上、ハッチングや部材符号等を省略する場合もあるが、かかる場合、明細書や他の図面を参照するものとする。また、図面における種々部材の寸法は、本発明の特徴の理解に資することを優先しているため、実際の寸法とは異なる場合がある。
(【0011】以降は省略されています)
この特許をJ-PlatPat(特許庁公式サイト)で参照する
関連特許
株式会社カネカ
飲料
1か月前
株式会社カネカ
飲料
1か月前
株式会社カネカ
抗菌剤
2か月前
株式会社カネカ
断熱材
26日前
株式会社カネカ
製膜装置
2か月前
株式会社カネカ
塗布装置
2か月前
株式会社カネカ
積層装置
2か月前
株式会社カネカ
医療用具
2か月前
株式会社カネカ
製膜装置
2か月前
株式会社カネカ
カテーテル
1か月前
株式会社カネカ
カテーテル
1か月前
株式会社カネカ
カテーテル
7日前
株式会社カネカ
カテーテル
1か月前
株式会社カネカ
カテーテル
7日前
株式会社カネカ
カテーテル
1か月前
株式会社カネカ
カテーテル
2か月前
株式会社カネカ
カテーテル
2か月前
株式会社カネカ
カテーテル
2か月前
株式会社カネカ
正極活物質
2か月前
株式会社カネカ
カテーテル
1か月前
株式会社カネカ
カテーテル
1か月前
株式会社カネカ
酵母含有菓子
1か月前
株式会社カネカ
通報システム
26日前
株式会社カネカ
自動植毛装置
14日前
株式会社カネカ
生体内留置具
2か月前
株式会社カネカ
シーリング材
1か月前
株式会社カネカ
油脂の製造方法
2か月前
株式会社カネカ
医療用具セット
1か月前
株式会社カネカ
重量物載置架台
1か月前
株式会社カネカ
顆粒の製造方法
2か月前
株式会社カネカ
フィルム延伸装置
2か月前
株式会社カネカ
積層体の製造方法
21日前
株式会社カネカ
可塑性油脂組成物
21日前
株式会社カネカ
フィルム延伸装置
2か月前
株式会社カネカ
太陽電池モジュール
1か月前
株式会社カネカ
太陽電池モジュール
2か月前
続きを見る
他の特許を見る