TOP
|
特許
|
意匠
|
商標
特許ウォッチ
Twitter
他の特許を見る
公開番号
2025148821
公報種別
公開特許公報(A)
公開日
2025-10-08
出願番号
2024049135
出願日
2024-03-26
発明の名称
太陽電池および太陽電池製造方法
出願人
株式会社カネカ
代理人
個人
,
個人
主分類
H10K
30/57 20230101AFI20251001BHJP()
要約
【課題】工液の回り込みのない太陽電池を提供すること。
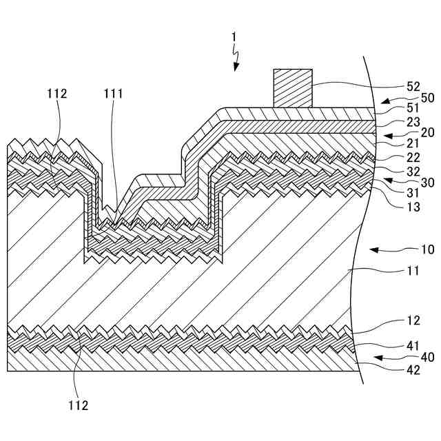
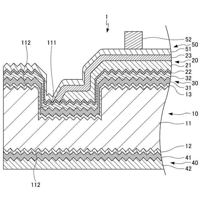
【解決手段】光電変換を行う半導体基板11を有する第1光電変換体10と、ペロブスカイト化合物を含むペロブスカイト層21を有し、前記第1光電変換体10の一方の側に積層される第2光電変換体20と、を備え、前記半導体基板11は、前記一方の側の主面に外縁に沿って形成される液留溝111と、両側の主面に形成される凹凸構造112と、を有する、太陽電池1。
【選択図】図2
特許請求の範囲
【請求項1】
光電変換を行う半導体基板を有する第1光電変換体と、
ペロブスカイト化合物を含むペロブスカイト層を有し、前記第1光電変換体の一方の側に積層される第2光電変換体と、
を備え、
前記半導体基板は、前記一方の側の主面に外縁に沿って形成される液留溝と、両側の主面に形成される凹凸構造と、を有する、太陽電池。
続きを表示(約 590 文字)
【請求項2】
前記凹凸構造は、前記液留溝の中にも形成される、請求項1に記載の太陽電池。
【請求項3】
前記第1光電変換体は、前記半導体基板の前記一方の側に積層される半導体層をさらに有し、
前記半導体層は、前記液留溝の中にも積層される、請求項1または2に記載の太陽電池。
【請求項4】
前記液留溝の深さは、前記ペロブスカイト層の平均厚さよりも大きい、請求項1または2に記載の太陽電池。
【請求項5】
前記凹凸構造の算術平均粗さは、前記ペロブスカイト層の平均厚さの5倍よりも小さい、請求項1または2に記載の太陽電池。
【請求項6】
半導体基板の一方の側の主面に、前記半導体基板の外縁に沿う液留溝を形成する工程と、
異方性エッチングにより、前記液留溝を形成した前記半導体基板の両方の主面に凹凸構造を形成する工程と、
前記凹凸構造を形成した前記半導体基板に半導体層を積層することにより第1光電変換体を得る工程と、
前記第1光電変換体の前記一方の側に、ペロブスカイト化合物を含むペロブスカイト層を有する第2光電変換体を形成する工程と、
を備え、
前記第2光電変換体を形成する工程は、平面視で前記液留溝の外縁よりも内側の領域に液体を塗工する工程を有する、太陽電池製造方法。
発明の詳細な説明
【技術分野】
【0001】
本発明は、太陽電池および太陽電池製造方法に関する。
続きを表示(約 1,200 文字)
【背景技術】
【0002】
光電変換効率を向上するために、吸収波長が異なる複数の光電変換層を設けた太陽電池が知られている。典型例として、例えば特許文献1には、シリコン半導体基板を第1の光電変換層とする結晶シリコン太陽電池セルの受光面側に、第1電荷輸送層、ペロブスカイト化合物を含む第2の光電変換層、第2電荷輸送層および透明電極層有するペロブスカイト光電変換体を積層したタンデム型太陽電池が開示されている。
【先行技術文献】
【特許文献】
【0003】
特開2023-538427号公報
【発明の概要】
【発明が解決しようとする課題】
【0004】
ペロブスカイト光電変換体の一部の層、特にペロブスカイト化合物を含む光電変換層は、材料溶液の塗工によって形成されることが一般的である。結晶シリコン太陽電池セルの一方の主面に塗工を行うと反対側の主面の外周部に塗工液が回り込み、生産設備の清掃が必要となったり、太陽電池の美観が低下するといった不都合を生じ得る。このような回り込みを防止するために、結晶シリコン太陽電池セルの外縁部に塗工を行わないマージンを設けることも考えられるが、シリコン半導体基板の面積は限られているため、マージンの比率が大きくなり過ぎ、製造コストが増大する。特に、結晶シリコン太陽電池セルに光の吸収率を向上するためにピラミッド状の凹凸を敷き詰めたテクスチャ構造を形成する場合、テクスチャ構造の谷を伝って塗工液が広がりやすく、反対側への回り込みが発生しやすくなる。
【0005】
このような実情に鑑みて、本発明は、塗工液の回り込みのない太陽電池および太陽電池製造方法と提供することを課題とする。
【課題を解決するための手段】
【0006】
本発明の一態様に係る太陽電池は、光電変換を行う半導体基板を有する第1光電変換体と、ペロブスカイト化合物を含むペロブスカイト層を有し、前記第1光電変換体の一方の側に積層される第2光電変換体と、を備え、前記半導体基板は、前記一方の側の主面に外縁に沿って形成される液留溝と、両側の主面に形成される凹凸構造と、を有する。
【0007】
上述の太陽電池において、前記凹凸構造は、前記液留溝の中にも形成されてもよい。
【0008】
上述の太陽電池において、前記第1光電変換体は、前記半導体基板の前記一方の側に積層される半導体層をさらに有し、前記半導体層は、前記液留溝の中にも積層されてもよい。
【0009】
上述の太陽電池において、前記液留溝の深さは、前記ペロブスカイト層の平均厚さよりも大きくてもよい。
【0010】
上述の太陽電池において、前記凹凸構造の算術平均粗さは、前記ペロブスカイト層の平均厚さの5倍よりも小さくてもよい。
(【0011】以降は省略されています)
この特許をJ-PlatPat(特許庁公式サイト)で参照する
関連特許
株式会社カネカ
断熱材
10日前
株式会社カネカ
カテーテル
1か月前
株式会社カネカ
カテーテル
1か月前
株式会社カネカ
カテーテル
1か月前
株式会社カネカ
カテーテル
1か月前
株式会社カネカ
カテーテル
1か月前
株式会社カネカ
シーリング材
1か月前
株式会社カネカ
通報システム
10日前
株式会社カネカ
重量物載置架台
1か月前
株式会社カネカ
積層体の製造方法
5日前
株式会社カネカ
可塑性油脂組成物
5日前
株式会社カネカ
太陽電池モジュール
1か月前
株式会社カネカ
自動車用バンパー芯材
1か月前
株式会社カネカ
気化装置及び製膜装置
1か月前
株式会社カネカ
透湿度測定用封止装置
1か月前
株式会社カネカ
多加水パン生地用改良剤
1か月前
株式会社カネカ
繊維、及び、繊維構造体
1か月前
株式会社カネカ
冷凍苺及びその製造方法
1か月前
株式会社カネカ
多加水パン生地用改良剤
1か月前
株式会社カネカ
積層体、及びその製造方法
5日前
株式会社カネカ
太陽電池パネルの検査装置
1か月前
株式会社カネカ
建材用太陽電池モジュール
1か月前
株式会社クラレ
樹脂組成物
1か月前
株式会社カネカ
除細動用カテーテルシステム
1か月前
株式会社カネカ
熱可塑性フィルムの製造方法
27日前
株式会社カネカ
コンクリート塗装用塗料組成物
1か月前
株式会社カネカ
基板カセットおよび基板処理装置
1か月前
株式会社カネカ
塩化ビニル樹脂凝集粒子の製造方法
1か月前
株式会社カネカ
メタクリル樹脂組成物及び樹脂フィルム
1か月前
株式会社カネカ
有機エレクトロルミネッセンスデバイス
27日前
株式会社カネカ
組織標本作製用の挿入具およびその利用
1か月前
株式会社カネカ
チルド麺類用油脂組成物及びチルド麺類
1か月前
株式会社カネカ
熱伝導シート及び熱伝導シートの製造方法
1か月前
株式会社カネカ
熱伝導シート及び熱伝導シートの製造方法
1か月前
株式会社カネカ
熱伝導シート及び熱伝導シートの製造方法
10日前
株式会社カネカ
熱伝導シート及び熱伝導シートの製造方法
10日前
続きを見る
他の特許を見る