TOP
|
特許
|
意匠
|
商標
特許ウォッチ
Twitter
他の特許を見る
公開番号
2025138360
公報種別
公開特許公報(A)
公開日
2025-09-25
出願番号
2024037403
出願日
2024-03-11
発明の名称
溶射装置
出願人
黒崎播磨株式会社
代理人
弁理士法人英和特許事務所
主分類
C23C
4/12 20160101AFI20250917BHJP(金属質材料への被覆;金属質材料による材料への被覆;化学的表面処理;金属質材料の拡散処理;真空蒸着,スパッタリング,イオン注入法,または化学蒸着による被覆一般;金属質材料の防食または鉱皮の抑制一般)
要約
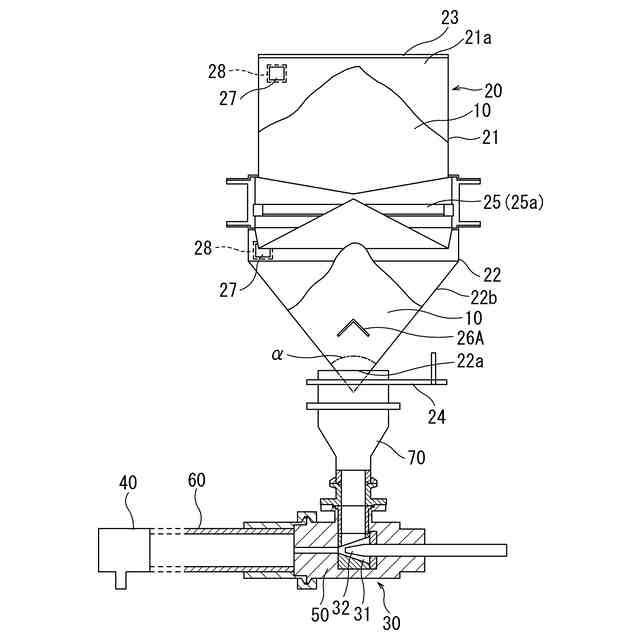
【課題】溶射施工中であってもホッパーへの原料粉体の投入を安全に行うことができ、かつ、ホッパーの高さを低減することのできる溶射装置を提供する。
【解決手段】耐火性粉体及び可燃性粉体を含む原料粉体10と、支燃性のキャリアガスとを混合した混合物を噴射し燃焼させて耐火組成物を形成する溶射装置において、ホッパー20内を、投入口21aを含む上部領域と払出口22aを含む下部領域とに開閉可能に仕切るチョークバルブ25を設けた。
【選択図】図1
特許請求の範囲
【請求項1】
耐火性粉体及び可燃性粉体を含む原料粉体と、支燃性のキャリアガスとを混合した混合物を噴射し燃焼させて耐火組成物を形成する溶射装置であって、
前記原料粉体を貯蔵し当該原料粉体を払い出すホッパーと、
前記ホッパーから払い出された原料粉体と前記キャリアガスとを混合し前記混合物として搬送する搬送手段と、
前記搬送された前記混合物を噴射する噴射手段と、を備え、
更に、前記ホッパー内を、投入口を含む上部領域と払出口を含む下部領域とに開閉可能に仕切るチョークバルブを備えることを特徴とする、溶射装置。
続きを表示(約 350 文字)
【請求項2】
前記チョークバルブの開閉部が難燃性繊維よりなるシート材によって構成されている、請求項1に記載の溶射装置。
【請求項3】
前記難燃性繊維がアラミド繊維である、請求項2に記載の溶射装置。
【請求項4】
前記ホッパーの前記下部領域は前記払出口へ向かうにしたがい縮径するテーパ部を含み、前記テーパ部のテーパ角度が40°以上70°以下である、請求項1又は2に記載の溶射装置。
【請求項5】
前記ホッパーの前記下部領域には、前記払出口の直上位置に、前記ホッパーの前記上部領域から前記チョークバルブを介して自然落下してくる原料粉体の流れを複数に分流する分流器又は前記原料粉体の流れの方向を変える変向器を備える、請求項1又は2に記載の溶射装置。
発明の詳細な説明
【技術分野】
【0001】
本発明は、耐火組成物を形成するための溶射装置に関する。
続きを表示(約 2,100 文字)
【背景技術】
【0002】
従来、耐火組成物を形成するための溶射装置として、可燃性粉体(例えば、金属粉末)と耐火性粉体(耐火性骨材)とを含む原料粉体を、支燃性のキャリアガス(酸素ガス)によって搬送し噴射して着火溶融することで耐火組成物を形成する溶射装置が知られている。かかる溶射装置においては、上述の通り、可燃性粉体と耐火性粉体とを含む原料粉体を、支燃性のキャリアガスによって搬送し噴射して着火溶融するので、噴射されて着火、燃焼している原料粉体とキャリアガスとの混合物の火炎が、原料粉体とキャリアガスとが流動している方向とは逆方向に移動し、原料粉体を貯蔵しているホッパーに達する、いわゆる「逆火」が発生するという問題があった。逆火が発生すると、ホッパー内部の圧力が異常上昇し、原料粉体がホッパー内で吹き上げる現象(以下「原料粉体の吹き上げ現象」という。)が発生し火災や爆発が生じることがあり、溶射における大きな問題となっていた。
【0003】
そこで、本発明者らは特許文献1において、ホッパーに貫通孔を設けると共に当該貫通孔を閉塞する閉塞部材を設け、更にホッパー内を、投入口を含む上部領域と払出口を含む下部領域とに開閉可能に仕切る仕切機構を備えた溶射装置を開示した。この溶射装置によれば、ホッパーの内の圧力が上昇したとしても、その圧力は貫通孔から放出される。これにより、原料粉体の吹き上げ現象をなくすことができる。更に、溶射施工中にホッパーに追加的に原料粉体を投入するときは、仕切機構である開閉ダンパーを閉にして、ホッパー内を、投入口を含む上部領域と払出口を含む下部領域とに仕切る。このようにホッパー内を上部領域と下部領域とに仕切ることで、溶射施工中に逆火等が発生したとしても原料粉体の吹き上げ現象は下部領域で食い止められ上部領域には及ばない。したがって、溶射施工中であってもホッパーへの原料粉体の投入を安全に行うことができる。
【先行技術文献】
【特許文献】
【0004】
特開2018-70939号公報
【発明の概要】
【発明が解決しようとする課題】
【0005】
溶射装置は、例えばコークス炉の施工現場のように、狭小な施工現場で使用される場合が多い。また、溶射装置の保管場所、及び施工現場までの通路も狭小であることが多い。更に、施工現場は通常、複数存在し、保管場所と高低差がある場合もある。このような場合、溶射装置を使用する際には、高低差がありかつ狭小な保管場所から、狭小な通路を通って狭小な施工現場まで人力で運搬する必要がある。このような事情から溶射装置には、特に小型化が望まれている。
【0006】
この点、特許文献1の溶射装置では、仕切機構として上下回転式の開閉ダンパーを使用している。そのため、特許文献1の溶射装置においてホッパーの容積としては、原料粉体が貯蔵される容積以外に、上下に回転する開閉ダンパーの可動範囲分の容積が必要となり、その分、ホッパーの高さが高くなり、結果として、溶射装置が大型化する。また、ホッパーの高さが高くなると、ホッパー上部の投入口の高さ位置も高くなることから、その投入口からホッパー内へ原料粉体を投入する作業の作業性が低下する。このように、特許文献1には、溶射装置の小型化、特にホッパーの高さ低減の観点において、解決すべき課題が残されていた。
【0007】
本発明が解決しようとする課題は、溶射施工中であってもホッパーへの原料粉体の投入を安全に行うことができ、かつ、ホッパーの高さを低減することのできる溶射装置を提供することにある。
【課題を解決するための手段】
【0008】
本発明の一観点によれば、次の溶射装置が提供される。
耐火性粉体及び可燃性粉体を含む原料粉体と、支燃性のキャリアガスとを混合した混合物を噴射し燃焼させて耐火組成物を形成する溶射装置であって、
前記原料粉体を貯蔵し当該原料粉体を払い出すホッパーと、
前記ホッパーから払い出された原料粉体と前記キャリアガスとを混合し前記混合物として搬送する搬送手段と、
前記搬送された前記混合物を噴射する噴射手段と、を備え、
更に、前記ホッパー内を、投入口を含む上部領域と払出口を含む下部領域とに開閉可能に仕切るチョークバルブを備えることを特徴とする、溶射装置。
【発明の効果】
【0009】
本発明の溶射装置によれば、溶射施工中であってもホッパーへの原料粉体の投入を安全に行うことができ、かつ、ホッパーの高さを低減することができる。
【図面の簡単な説明】
【0010】
本発明の一実施形態である溶射装置の要部の断面図である。
図1の溶射装置の内部構造(ホッパーの下部領域)を示す要部の概略斜視図である。
本発明の他の実施形態である溶射装置の内部構造(ホッパーの下部領域)を示す要部の概略斜視図である。
【発明を実施するための形態】
(【0011】以降は省略されています)
この特許をJ-PlatPat(特許庁公式サイト)で参照する
関連特許
黒崎播磨株式会社
溶射装置
1か月前
黒崎播磨株式会社
目地材のシール性評価方法
20日前
黒崎播磨株式会社
プレートれんがの製造方法
20日前
黒崎播磨株式会社
高炉出銑孔充填用マッド材
21日前
黒崎播磨株式会社
高炉出銑孔充填用マッド材
2か月前
黒崎播磨株式会社
シリカ質キャスタブル耐火物
27日前
黒崎播磨株式会社
不焼成塩基性れんがの製造方法
3か月前
黒崎播磨株式会社
連続鋳造用ストッパーの製造方法
22日前
黒崎播磨株式会社
真空脱ガス炉用マグネシアカーボンれんがの製造方法
1か月前
個人
フッ素樹脂塗装鋼板の保管方法
3か月前
株式会社カネカ
製膜装置
27日前
株式会社京都マテリアルズ
めっき部材
1か月前
株式会社カネカ
製膜装置
27日前
トヨタ自動車株式会社
治具
1日前
株式会社KSマテリアル
防錆組成物
3か月前
株式会社三愛工業所
アルミニウム材
5か月前
株式会社オプトラン
蒸着装置
6か月前
エドワーズ株式会社
真空排気システム
20日前
日本化学産業株式会社
複合めっき皮膜
2か月前
台灣晶技股ふん有限公司
無電解めっき法
1か月前
東京エレクトロン株式会社
成膜方法
1か月前
日東電工株式会社
積層体の製造方法
5か月前
株式会社カネカ
気化装置及び製膜装置
21日前
JFEスチール株式会社
鋼部品
3か月前
DOWAサーモテック株式会社
浸炭方法
5か月前
東京エレクトロン株式会社
基板処理装置
4か月前
住友重機械工業株式会社
成膜装置
4か月前
株式会社アルバック
マスクユニット
21日前
TOTO株式会社
構造部材
21日前
株式会社内村
防食具、防食具の設置方法
1か月前
住友重機械工業株式会社
成膜装置
3か月前
東京エレクトロン株式会社
基板処理装置
6か月前
信越半導体株式会社
真空蒸着方法
5か月前
株式会社アルバック
基板ステージ装置
28日前
黒崎播磨株式会社
溶射装置
1か月前
日本コーティングセンター株式会社
炭化ホウ素被膜
21日前
続きを見る
他の特許を見る