TOP
|
特許
|
意匠
|
商標
特許ウォッチ
Twitter
他の特許を見る
公開番号
2025141721
公報種別
公開特許公報(A)
公開日
2025-09-29
出願番号
2024059816
出願日
2024-03-14
発明の名称
めっき部材
出願人
株式会社京都マテリアルズ
代理人
主分類
C23C
2/06 20060101AFI20250919BHJP(金属質材料への被覆;金属質材料による材料への被覆;化学的表面処理;金属質材料の拡散処理;真空蒸着,スパッタリング,イオン注入法,または化学蒸着による被覆一般;金属質材料の防食または鉱皮の抑制一般)
要約
【課題】鋼材に高い耐食性を与えることができるめっき層を有するめっき部材を提供することを目的とする。
【解決手段】本発明のめっき層を有するめっき部材は、金属材料や鋼材からなる部材と、部材の表面上に形成されためっき層を備え、前記めっき層は亜鉛などの金属とアルカリ土類金属の化合物から基本的に構成されている。上記めっき部材において、前記めっき層は、亜鉛及び亜鉛合金からなる群から選択される少なくとも1種の金属を含むことができる。また、上記めっき層は、硫酸塩を含有することができる。本発明により、高い耐食性を与えることができるめっき層を有する部材を提供することができる。
【選択図】図1
特許請求の範囲
【請求項1】
金属あるいは合金からなる部材と、前記部材の表面上に形成された金属めっき層とを備え、前記金属めっき層はアルカリ土類金属の化合物を含有していることを特徴とする、めっき層を有する部材。
続きを表示(約 600 文字)
【請求項2】
前記金属めっき層は、亜鉛及び亜鉛合金からなる群から選択される少なくとも1種の金属を含む、請求項1に記載のめっき層を有する部材。
【請求項3】
前記アルカリ土類金属の化合物は、酸化カルシウム、水酸化カルシウム、酸化ストロンチウム、水酸化ストロンチウム、水酸化バリウム、酸化バリウムからなる群から選択される少なくとも1種の化合物を含む、請求項1又は2に記載のめっき層を有する部材。
【請求項4】
前記金属めっき層中のアルカリ土類金属の化合物の含有量は0.01~30質量%である、請求項1~3に記載のめっき層を有する部材。
【請求項5】
さらに、前記金属めっき層は、20℃の水100gに0.1g以上の溶解度を有する硫酸塩を含む、請求項1~4に記載のめっき層を有する部材。
【請求項6】
前記金属めっき層中の硫酸塩は、硫酸アルミニウム、硫酸マグネシウムからなる群から選択される少なくとも1種の硫酸塩を含む、請求項5に記載のめっき層を有する部材。
【請求項7】
前記金属めっき層中の硫酸塩の含有量は0.01~30質量%である、請求項5および6に記載のめっき層を有する部材。
【請求項8】
前記金属あるいは合金からなる部材は鋼材からなる部材である、請求項1~7に記載のめっき層を有する部材。
発明の詳細な説明
【発明の詳細な説明】
【】
【技術分野】
【0001】
本発明は高い耐食性を有するめっき部材およびめっき鋼材に関する。
続きを表示(約 2,000 文字)
【背景技術】
【0002】
金属材料や鋼材(以下併せて鋼材と呼称)の防食分野において、特許文献1及び2に開示されるように、鋼材上に種々の成分を含む膜を形成し、当該膜中あるいは当該膜と鋼材との界面に防食酸化物層を形成させ、この酸化物層によって鋼材の耐食性が高まることが知られている。
【先行技術文献】
【特許文献】
【0003】
特許第5681332号公報
特開2020-169380号公報
【発明の概要】
【発明が解決しようとする課題】
【0004】
しかし、このような防食酸化物層を形成させる思想は一定の大きさで鋼材の腐食を伴うものであり、さらに耐食性を向上させることが望まれている。本発明は、上記事情に鑑みてなされたものであり、鋼材に高い耐食性を与えることができるめっき層を有するめっき部材を提供することを目的とする。
【課題を解決するための手段】
【0005】
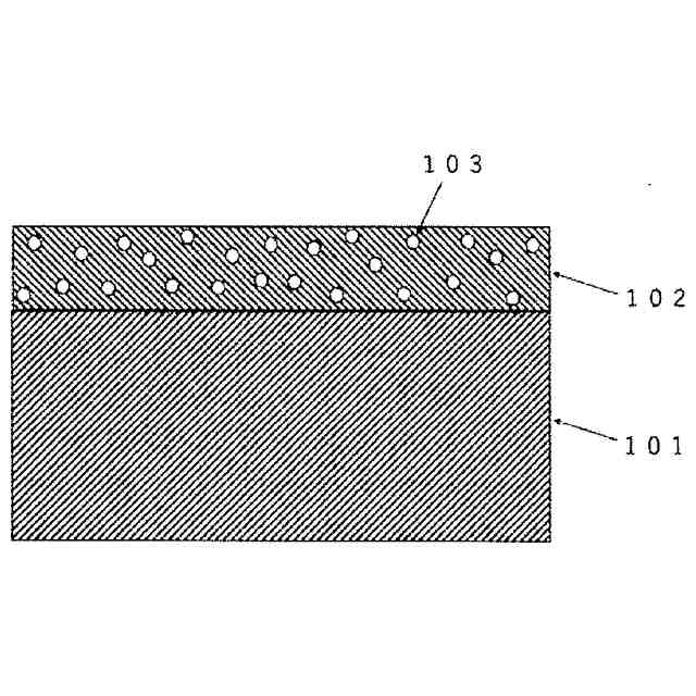
本発明のめっき層を有するめっき部材は、鋼材と、該鋼材の表面上に形成されためっき層、を備え、前記めっき層は、亜鉛などの金属めっき層と、その金属めっき層中に含まれるアルカリ土類金属の化合物の粒子から基本的に構成されている。
【0006】
上記めっき部材において、前記めっき層は、亜鉛及び亜鉛合金からなる群から選択される少なくとも1種の金属を含むことができる。
【0007】
また、上記めっき層は、硫酸塩を含有することができる。
【発明の効果】
【0008】
(鋼材)
本発明の鋼材の鋼種は特に限定されず、普通鋼材であってもよく、低合金鋼材であってもよく、高合金鋼材であってもよい。めっき層の耐食性がめっき部材の耐食性を発現させるため、鉄鋼材料ではない金属でも同様の効果を示すが、社会的に高い防食技術を施すべき要求対象の多くは鉄鋼材料である。
【0009】
(アルカリ土類金属の化合物および硫酸塩)
本発明によれば、鋼材を被覆するめっき層が腐食反応により溶解すると、めっき層中のアルカリ土類金属の化合物の粒子も溶解することで、めっき層表面のpHを中性よりもやや高めに維持することができるため高い耐食性を有するめっき部材を提供することができる。また、20℃の水100gに0.1g以上の溶解度を有する硫酸塩の粒子を同時に含有すると、上昇したpHを多少低下させ、中性に近づけるため、めっき層表面に溶解した各種イオンを緻密な酸化物として沈殿させ、めっき層表面に防食的な酸化物層を作ることができるとともに、アルカリ土類金属カチオンと硫酸イオンが反応し、難溶性の物質も新たに作るため、めっき層表面の防食的な酸化物層の欠陥を埋め、さらに耐食性が向上する。この効果をさらに高めるには、20℃の水100gに0.5g以上の溶解度を有する硫酸塩を含有すると良い。めっき層中にアルカリ土類金属の化合物や硫酸塩が含有されることにより、めっき層が消失する長い期間において継続的にそれらの効果が持続するため、塗装などで表面のみにそれらの化合物や硫酸塩を添加する方法に比べて、長期間の防食効果が得られる。アルカリ土類金属の化合物および硫酸塩の添加量は、めっき層中で0.01~30質量%が効果的であるが、0.03質量%以上望ましくは0.1質量%以上がより効果的で有り、20質量%以下にすることがめっき層の機械的性質低下を回避するためには良く、より望ましくは10質量%以下が良い。なお、アルカリ土類金属カチオンと硫酸イオンが反応し、難溶性の物質を効率よく生成するためには、アルカリ土類金属の化合物と硫酸塩の質量割合を、アルカリ土類金属化合物の質量/硫酸塩の質量=2±1に調整することが望ましく、より望ましくはアルカリ土類金属化合物の質量/硫酸塩の質量=2±0.5に調整するのが良い。なお、めっき層がアルカリ土類金属を含有せず硫酸塩のみ含有する場合は、硫酸塩が溶解し放出される金属カチオンの加水分解反応や、硫酸イオンの放出により、めっき層表面が酸性にシフトするため、むしろ耐食性には悪影響である。
【0010】
アルカリ土類金属の化合物の中で特に効果的であるのは、酸化カルシウム、水酸化カルシウム、酸化ストロンチウム、水酸化ストロンチウム、酸化バリウムである。市場価格や流通状況を考慮すると、酸化カルシウム、水酸化カルシウムは実用的である。また、特に効果的な硫酸塩はめっき層を構成する金属が腐食環境において電気化学的に溶解し防食的な酸化物として沈殿するプロセスでカチオンとして当該酸化物の結晶格子を置換しやすい硫酸アルミニウム、硫酸マグネシウムである。
(【0011】以降は省略されています)
この特許をJ-PlatPat(特許庁公式サイト)で参照する
関連特許
個人
フッ素樹脂塗装鋼板の保管方法
3か月前
株式会社京都マテリアルズ
めっき部材
1か月前
株式会社カネカ
製膜装置
28日前
株式会社カネカ
製膜装置
28日前
トヨタ自動車株式会社
治具
2日前
株式会社三愛工業所
アルミニウム材
5か月前
株式会社オプトラン
蒸着装置
6か月前
株式会社KSマテリアル
防錆組成物
3か月前
エドワーズ株式会社
真空排気システム
21日前
日本化学産業株式会社
複合めっき皮膜
2か月前
台灣晶技股ふん有限公司
無電解めっき法
1か月前
日東電工株式会社
積層体の製造方法
5か月前
東京エレクトロン株式会社
成膜方法
1か月前
JFEスチール株式会社
鋼部品
3か月前
株式会社カネカ
気化装置及び製膜装置
22日前
信越半導体株式会社
真空蒸着方法
5か月前
東京エレクトロン株式会社
基板処理装置
6か月前
東京エレクトロン株式会社
基板処理装置
4か月前
DOWAサーモテック株式会社
浸炭方法
5か月前
株式会社内村
防食具、防食具の設置方法
1か月前
TOTO株式会社
構造部材
22日前
株式会社アルバック
マスクユニット
22日前
東京エレクトロン株式会社
基板処理装置
6か月前
住友重機械工業株式会社
成膜装置
3か月前
住友重機械工業株式会社
成膜装置
4か月前
黒崎播磨株式会社
溶射装置
1か月前
株式会社アルバック
基板ステージ装置
29日前
株式会社デンソー
接合体
1か月前
日本コーティングセンター株式会社
炭化ホウ素被膜
22日前
フジタ技研株式会社
被覆部材、及び、表面被覆金型
1か月前
国立大学法人千葉大学
成膜装置及び成膜方法
1か月前
日本製鉄株式会社
スナウト装置
7か月前
川崎重工業株式会社
水素遮蔽膜
2か月前
株式会社アルバック
成膜装置、および搬送方法
2か月前
ケニックス株式会社
蒸発源装置
2か月前
黒崎播磨株式会社
溶射用ランス
5か月前
続きを見る
他の特許を見る