TOP
|
特許
|
意匠
|
商標
特許ウォッチ
Twitter
他の特許を見る
公開番号
2025151822
公報種別
公開特許公報(A)
公開日
2025-10-09
出願番号
2024053414
出願日
2024-03-28
発明の名称
マスクユニット
出願人
株式会社アルバック
代理人
弁理士法人青莪
主分類
C23C
14/04 20060101AFI20251002BHJP(金属質材料への被覆;金属質材料による材料への被覆;化学的表面処理;金属質材料の拡散処理;真空蒸着,スパッタリング,イオン注入法,または化学蒸着による被覆一般;金属質材料の防食または鉱皮の抑制一般)
要約
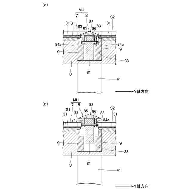
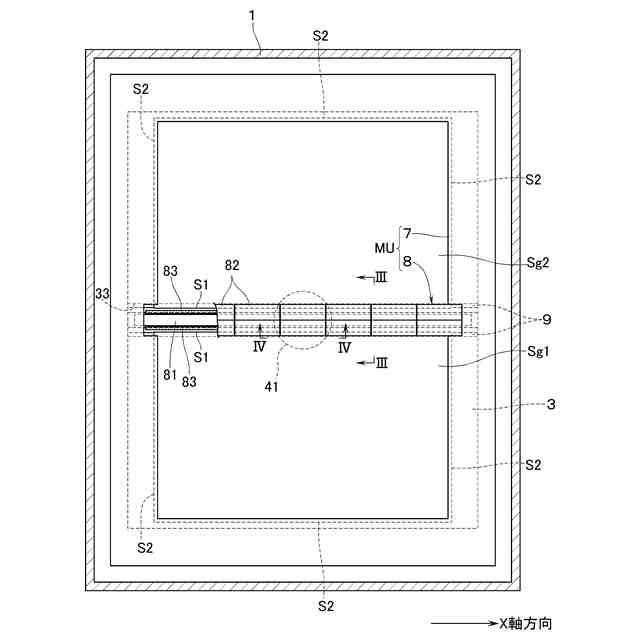
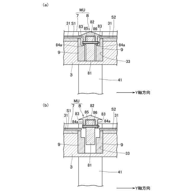
【課題】矩形の第1基板の設置を可能とするステージ本体3の基板設置面31に、第1基板よりサイズの小さい矩形の第2基板Sg1,Sg2の複数枚が間隔を存して並設されたときに、各第2基板に対する処理範囲を規制する、各第2基板の互いに向かう辺S1を除く他辺S2を夫々覆う枠部7と、各第2基板の互いに向かう辺を夫々覆う梁部8とを備えるマスクユニットはMUを熱反りに起因したシャドーエフェクトを可及的に抑制する構成とする。
【解決手段】梁部は、基板設置面に凹設した凹溝33に格納自在なベース板81と基板設置面から上方に突出するベース板の上端部分に梁部の長手方向に列設される複数個の梁板片82とを有する。各梁板片の下面に一対の取付板83が垂設され、両取付板を介してベース板と梁板片とが上下方向の隙間を存して連結される。
【選択図】図3
特許請求の範囲
【請求項1】
矩形の輪郭を持つ所定サイズの第1基板の設置を可能とするステージ本体の基板設置面に、矩形の輪郭を持つ第1基板よりサイズの小さい第2基板の複数枚が間隔を存して並設されたときに、基板設置面の上方に配置されて各第2基板に対する処理範囲を規制するマスクユニットであって、
各第2基板の互いに向かう辺を除く他辺を夫々覆う枠部と、各第2基板の互いに向かう辺を夫々覆う梁部とを備え、
梁部は、基板設置面に凹設した格納空間に格納自在なベース板と基板設置面から上方に突出するベース板の上端部分に梁部の長手方向に列設される複数個の梁板片とを有し、各梁板片の下面に一対の取付板が垂設され、両取付板を介してベース板と梁板片とが上下方向の隙間を存して連結されることを特徴とするマスクユニット。
続きを表示(約 330 文字)
【請求項2】
前記一対の取付板に長手方向に間隔を置いて2個の挿通孔が夫々形成されると共に、各挿通孔に一致する孔軸を持つ貫通孔が前記ベース板に形成され、一方の挿通孔を長手方向に長孔として、孔軸に沿って挿通孔と貫通孔とにピン部材を挿通することで前記ベース板と前各梁板片とが連結されることを特徴と請求項1記載のマスクユニット。
【請求項3】
前記梁板片は、上方に凸の山角状の輪郭を持つことを特徴とする請求項1または請求項2記載のマスクユニット。
【請求項4】
前記格納空間を画成する前記ステージ本体の部分に、前記ベース板の格納を許容する状態で防着部材が配置されることを特徴とする請求項1または請求項2記載のマスクユニット。
発明の詳細な説明
【技術分野】
【0001】
本発明は、マスクユニットに関し、より詳しくは、矩形の輪郭を持つ所定サイズの第1基板の設置を可能とするステージ本体の基板設置面に、矩形の輪郭を持つ第1基板よりサイズの小さい第2基板の複数枚が間隔を存して並設されたときに、基板設置面の上方に配置されて各第2基板に対する処理範囲を規制するものに関する。
続きを表示(約 2,400 文字)
【背景技術】
【0002】
フラットパネルディスプレイの製造工程においては、矩形の輪郭を持つガラス基板(以下、「基板」という)の表面に各種の薄膜を成膜する工程があり、このような成膜工程には、スパッタリング装置が従来から用いられている(例えば、特許文献1,2参照)。一方、成膜対象としての基板のサイズは、世代が進むにつれて大型化しており(例えば、G8.7世代では2300mm×2700mm)、その板厚も薄い(例えば、0.5mm)。このような基板に対して真空雰囲気の真空チャンバ内でターゲットをスパッタリングして所謂デポダウン式で成膜するような場合には、搬送ロボットで搬送される基板を真空チャンバ内に配置した基板ステージ(ステージ本体)の基板設置面へと受け渡すことになる。そのため、基板設置面の面積は基板サイズに応じて設定されるのが通常である。
【0003】
ところで、例えばスパッタリング装置の有効利用の観点から、所定サイズの基板を第1基板としてステージ本体の基板設置面に第1基板よりサイズの小さい第2基板の複数枚(例えば、G8.7世代の所謂ハーフサイズの場合には2枚)を並設して成膜することがある。このような場合、各第2基板の外周縁部を夫々覆って各第2基板に対する処理(成膜)範囲を夫々規制しておく必要があり、これには基板設置面の上方に配置されるマスクユニットが利用される。マスクユニットは、通常、各第2基板の互いに向かう辺を除く他の三辺を夫々覆う板状の枠部と、この枠部の互いに向かい辺を橋渡すように配置されて各第2基板の互いに向かう辺を夫々覆う板状の梁部とを備える。
【0004】
マスクユニットの梁部としては、ターゲットから所定の余弦則に従い飛散するスパッタ粒子の飛散経路を遮らないようにその板厚の比較的薄いものを使用せざるを得ない。そのため、ターゲットのスパッタリング中に輻射熱等で梁部が加熱されて熱反りが発生すると、本来梁部で遮蔽されるべき領域までスパッタ粒子が回り込んで付着してしまう(所謂シャドーエフェクト)という不具合が生じる。このことは、大面積の基板のハーフサイズのものを2枚並設して成膜するような場合、梁部の全長も長くなって熱反り量が梁部の長さの二乗に比例して多くなるため、より顕著になる。
【先行技術文献】
【特許文献】
【0005】
特開2017-133065号公報
特開2023-57218号公報
【発明の概要】
【発明が解決しようとする課題】
【0006】
本発明は、以上の点に鑑み、基板の間に配置される梁部の熱反りに起因したシャドーエフェクトを可及的に抑制することができるマスクユニットを提供することをその課題とするものである。
【課題を解決するための手段】
【0007】
上記課題を解決するために、矩形の輪郭を持つ所定サイズの第1基板の設置を可能とするステージ本体の基板設置面に、矩形の輪郭を持つ第1基板よりサイズの小さい第2基板の複数枚が間隔を存して並設されたときに、基板設置面の上方に配置されて各第2基板に対する処理範囲を規制する本発明のマスクユニットは、各第2基板の互いに向かう辺を除く他辺を夫々覆う枠部と、各第2基板の互いに向かう辺を夫々覆う梁部とを備え、梁部は、基板設置面に凹設した格納空間に格納自在なベース板と基板設置面から上方に突出するベース板の上端部分に梁部の長手方向に列設される複数個の梁板片とを有し、各梁板片の下面に一対の取付板が垂設され、両取付板を介してベース板と梁板片とが上下方向の隙間を存して連結されることを特徴とする。
【0008】
以上によれば、複数枚の第2基板を基板設置面に設置して成膜する場合、例えば、基板設置面の上方に位置させてマスクユニットをスパッタリング装置の真空チャンバ内に予め配置しておく。そして、基板設置面に第2基板を夫々設置した後、例えばステージ本体を所定の高さ位置まで上動させると、基板設置面の格納空間にベース板の下端部分が格納される。この状態では、各第2基板の外周縁部がマスクプレートの枠部及び梁部で上下方向の隙間を存して夫々覆われる。この状態で各第2基板に対し真空雰囲気の真空チャンバ内でターゲットをスパッタリングしてデポダウン式で成膜され、スパッタリング中には輻射熱等で梁部が加熱されることになる。
【0009】
本発明では、例えば、第2基板の互いに向かう辺の全長を複数に均等分割し、この分割した単位の長さを分割長さとし、分割長さと同等の梁板片をベース板の上端部分にその長手方向に列設する構成を採用することで、梁板片個々に生じる熱反り量を少なくできる。その結果、熱反りに起因したシャドーエフェクトを可及的に抑制することができる。しかも、基板設置面の格納空間にベース板部の下端部分が格納されるときに、擦れ等によりパーティクルを発生する虞があるが、当該箇所は基板の成膜面(上面)より下方に位置するため、パーティクルが基板に付着するといった不具合も生じ難い。
【0010】
本発明において、前記一対の取付板に長手方向に間隔を置いて2個の挿通孔が夫々形成されると共に、各挿通孔に一致する孔軸を持つ貫通孔が前記ベース板に形成され、一方の挿通孔を長手方向に長孔として、孔軸に沿って挿通孔と貫通孔とにピン部材を挿通することで前記ベース板と前各梁板片とが連結される構成を採用することができる。これによれば、ベース板部に連結される各梁板片の自由変形(熱変形)を抑制しない構造にでき、有利である。
(【0011】以降は省略されています)
この特許をJ-PlatPat(特許庁公式サイト)で参照する
関連特許
個人
フッ素樹脂塗装鋼板の保管方法
3か月前
株式会社京都マテリアルズ
めっき部材
1か月前
株式会社カネカ
製膜装置
29日前
株式会社カネカ
製膜装置
29日前
トヨタ自動車株式会社
治具
3日前
株式会社三愛工業所
アルミニウム材
5か月前
株式会社KSマテリアル
防錆組成物
3か月前
株式会社オプトラン
蒸着装置
6か月前
エドワーズ株式会社
真空排気システム
22日前
日本化学産業株式会社
複合めっき皮膜
2か月前
台灣晶技股ふん有限公司
無電解めっき法
1か月前
東京エレクトロン株式会社
成膜方法
1か月前
日東電工株式会社
積層体の製造方法
5か月前
株式会社カネカ
気化装置及び製膜装置
23日前
JFEスチール株式会社
鋼部品
3か月前
株式会社内村
防食具、防食具の設置方法
1か月前
TOTO株式会社
構造部材
23日前
株式会社アルバック
マスクユニット
23日前
DOWAサーモテック株式会社
浸炭方法
5か月前
住友重機械工業株式会社
成膜装置
3か月前
住友重機械工業株式会社
成膜装置
4か月前
東京エレクトロン株式会社
基板処理装置
4か月前
東京エレクトロン株式会社
基板処理装置
6か月前
信越半導体株式会社
真空蒸着方法
5か月前
株式会社アルバック
基板ステージ装置
1か月前
黒崎播磨株式会社
溶射装置
1か月前
フジタ技研株式会社
被覆部材、及び、表面被覆金型
1か月前
日本コーティングセンター株式会社
炭化ホウ素被膜
23日前
国立大学法人千葉大学
成膜装置及び成膜方法
1か月前
株式会社デンソー
接合体
1か月前
川崎重工業株式会社
水素遮蔽膜
2か月前
ケニックス株式会社
蒸発源装置
2か月前
黒崎播磨株式会社
溶射用ランス
5か月前
株式会社アルバック
成膜装置、および搬送方法
2か月前
株式会社神戸製鋼所
成膜方法
6か月前
東京エレクトロン株式会社
成膜方法及び成膜装置
1か月前
続きを見る
他の特許を見る