TOP
|
特許
|
意匠
|
商標
特許ウォッチ
Twitter
他の特許を見る
10個以上の画像は省略されています。
公開番号
2025133137
公報種別
公開特許公報(A)
公開日
2025-09-11
出願番号
2024030893
出願日
2024-03-01
発明の名称
成膜方法及び成膜装置
出願人
東京エレクトロン株式会社
代理人
個人
,
個人
主分類
C23C
16/04 20060101AFI20250904BHJP(金属質材料への被覆;金属質材料による材料への被覆;化学的表面処理;金属質材料の拡散処理;真空蒸着,スパッタリング,イオン注入法,または化学蒸着による被覆一般;金属質材料の防食または鉱皮の抑制一般)
要約
【課題】選択性と耐性と阻害性に優れた阻害膜を形成する、技術を提供する。
【解決手段】成膜方法は、第1膜と、前記第1膜とは異なる材料で形成される第2膜とを表面の異なる領域に有する基板を準備することと、前記第1膜の表面に対して前記第2膜の表面に選択的に、ボロン(B)を含有することで対象膜の形成を阻害する阻害膜を形成することと、前記阻害膜を用いて、前記第2膜の表面に対して前記第1膜の表面に選択的に前記対象膜を形成することと、を有する。前記阻害膜を形成することは、一分子中にB原子を3個以上含む有機ホウ素化合物を前記基板の表面に対して供給することを含む。前記有機ホウ素化合物は、前記第1膜の表面に対して前記第2膜の表面に選択的に吸着する官能基を1つ以上含む。
【選択図】図1
特許請求の範囲
【請求項1】
第1膜と、前記第1膜とは異なる材料で形成される第2膜とを表面の異なる領域に有する基板を準備することと、
前記第1膜の表面に対して前記第2膜の表面に選択的に、ボロン(B)を含有することで対象膜の形成を阻害する阻害膜を形成することと、
前記阻害膜を用いて、前記第2膜の表面に対して前記第1膜の表面に選択的に前記対象膜を形成することと、
を有し、
前記阻害膜を形成することは、一分子中にB原子を3個以上含む有機ホウ素化合物を前記基板の表面に対して供給することを含み、
前記有機ホウ素化合物は、前記第1膜の表面に対して前記第2膜の表面に選択的に吸着する官能基を1つ以上含む、成膜方法。
続きを表示(約 1,300 文字)
【請求項2】
前記有機ホウ素化合物は多面体構造を有し、前記多面体構造は少なくとも5個の頂点を有し、少なくとも3個の頂点にB原子を有する、請求項1に記載の成膜方法。
【請求項3】
前記多面体構造は20面体構造であって、多面体の各面が三角形状であって、多面体の頂点の数が12個であり、
前記多面体構造は、10個の頂点にB原子を有し、2つの頂点にC原子を有する、請求項2に記載の成膜方法。
【請求項4】
前記有機ホウ素化合物は多面体構造の少なくとも1つの頂点が欠けた構造を有し、前記構造は少なくとも4個の頂点を有し、少なくとも3個の頂点にB原子を有する、請求項1に記載の成膜方法。
【請求項5】
前記官能基は、前記多面体構造の頂点を構成する元素に結合している、請求項2~4のいずれか1項に記載の成膜方法。
【請求項6】
前記官能基は、チオール基(-SH)、ホスホン酸基(-P(=O)(OH)
2
)、カルボン酸基(-COOH)、ニトロ基(-NO
2
)、アリール基、メチルアミノ基(-NH
2
、-NH(CH
3
)、-N(CH
3
)
2
)、-SiCl
3
、-SiCl
2
H、-SiClH
2
、-SiH
3
、-SiH
2
(OCH
2
CH
3
)、-SiH(OCH
2
CH
3
)
2
、-Si(OCH
2
CH
3
)
3
、イソシアネート基(-NCO)、及びヒドロキシル基(-OH)のうち少なくとも1つを有する、請求項1~4のいずれか1項に記載の成膜方法。
【請求項7】
前記阻害膜を形成した後、前記対象膜を形成する前に、前記阻害膜をプラズマ又は熱で改質することを有する、請求項1~4のいずれか1項に記載の成膜方法。
【請求項8】
前記阻害膜を改質した後、前記対象膜を形成する前に、前記第1膜の表面に対して前記阻害膜の表面に選択的にB含有膜を形成することを有する、請求項7に記載の成膜方法。
【請求項9】
前記阻害膜を形成した後、前記対象膜を形成する前に、前記第1膜の表面に対して前記阻害膜の表面に選択的にB含有膜を形成することを有する、請求項1~4のいずれか1項に記載の成膜方法。
【請求項10】
前記基板を収容する処理容器と、
前記処理容器の内部で前記基板を保持する保持部と、
前記保持部に保持されている前記基板の前記表面に対してガスを供給する供給部と、
前記供給部を制御する制御部と、
を備え、
前記制御部は、請求項1~4に記載のいずれか1項に記載の成膜方法を実施する制御を行なう、成膜装置。
発明の詳細な説明
【技術分野】
【0001】
本開示は、成膜方法及び成膜装置に関する。
続きを表示(約 2,100 文字)
【背景技術】
【0002】
特許文献1に記載の成膜方法は、対象膜の形成を阻害する自己組織化単分子膜(Self-Assembled Monolayer:SAM)を基板の一部の領域に形成し、基板の残りの領域に対象膜を形成する。
【先行技術文献】
【特許文献】
【0003】
特開2022-91523号公報
【発明の概要】
【発明が解決しようとする課題】
【0004】
本開示の一態様は、選択性と耐性と阻害性に優れた阻害膜を形成することができる、技術を提供する。
【課題を解決するための手段】
【0005】
本開示の一態様の成膜方法は、第1膜と、前記第1膜とは異なる材料で形成される第2膜とを表面の異なる領域に有する基板を準備することと、前記第1膜の表面に対して前記第2膜の表面に選択的に、ボロン(B)を含有することで対象膜の形成を阻害する阻害膜を形成することと、前記阻害膜を用いて、前記第2膜の表面に対して前記第1膜の表面に選択的に前記対象膜を形成することと、を有する。前記阻害膜を形成することは、一分子中にB原子を3個以上含む有機ホウ素化合物を前記基板の表面に対して供給することを含む。前記有機ホウ素化合物は、前記第1膜の表面に対して前記第2膜の表面に選択的に吸着する官能基を1つ以上含む。
【発明の効果】
【0006】
本開示の一態様によれば、選択性と耐性と阻害性に優れた阻害膜を形成することができる。
【図面の簡単な説明】
【0007】
図1は、一実施形態に係る成膜方法を示すフローチャートである。
図2は、一実施形態に係る成膜方法を示す断面図である。
図3は、C
2
B
10
H
12
の2つのH原子を2つのチオール基(-SH)に置換した有機ホウ素化合物の一例を示す図である。
図4は、C
2
B
10
H
12
の3つの異性体の例を示す図である。
図5は、図3に示す有機ホウ素化合物の選択的な吸着の一例を示す断面図である。
図6は、C
2
B
10
H
12
の2つのH原子を1つのp-ベンザイン基(-C
6
H
4
)に置換した有機ホウ素化合物の一例を示す図である。
図7は、7,8-C
2
B
9
H
13
の構造の一例を示す図である。
図8は、5,6,7-C
3
B
7
H
13
の構造の一例を示す図である。
図9は、第1変形例に係る成膜方法を示すフローチャートである。
図10は、第1変形例に係る成膜方法を示す断面図である。
図11は、第2変形例に係る成膜方法を示すフローチャートである。
図12は、第2変形例に係る成膜方法を示す断面図である。
図13は、第3変形例に係る成膜方法を示すフローチャートである。
図14は、第3変形例に係る成膜方法を示す断面図である。
図15は、一実施形態に係る成膜装置を示す平面図である。
図16は、第1処理部の一例を示す断面図である。
【発明を実施するための形態】
【0008】
以下、本開示の実施形態について図面を参照して説明する。なお、各図面において同一の又は対応する構成には同一の符号を付し、説明を省略することがある。明細書中、数値範囲を示す「~」は、その前後に記載された数値を下限値及び上限値として含むことを意味する。数値範囲は、四捨五入した範囲を含む。
【0009】
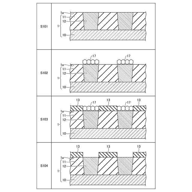
図1~図2を参照して、一実施形態に係る成膜方法について説明する。成膜方法は、例えば図1に示すステップS101~S105を有する。なお、成膜方法は、少なくともステップS101~S103を有すればよく、例えばステップS104~S105を有しなくてもよい。また、成膜方法は、図1に示すステップS101~S105以外のステップを有してもよい。例えば、成膜方法は、ステップS102の直前に、基板表面1aに付着した汚染物を除去することを有してもよい。また、S102での阻害膜の形成を促進するために、S102の直前に基板表面1aの改質処理を有してもよい。
【0010】
ステップS101は、図2に示すように、基板1を準備することを含む。基板1は、下地基板10を有する。下地基板10は、例えば、シリコンウェハ、化合物半導体ウェハ、又はガラス基板である。基板1は、基板表面1aの異なる領域に、第1膜11の表面と第2膜12の表面を有する。基板表面1aは、例えば基板1の上面である。第1膜11と第2膜12は、下地基板10の上に形成される。下地基板10と第1膜11との間、または下地基板10と第2膜12との間には、別の機能膜が形成されてもよい。
(【0011】以降は省略されています)
この特許をJ-PlatPat(特許庁公式サイト)で参照する
関連特許
個人
フッ素樹脂塗装鋼板の保管方法
3か月前
株式会社カネカ
製膜装置
1か月前
株式会社カネカ
製膜装置
1か月前
株式会社京都マテリアルズ
めっき部材
1か月前
トヨタ自動車株式会社
治具
21日前
株式会社KSマテリアル
防錆組成物
4か月前
日本化学産業株式会社
複合めっき皮膜
3か月前
エドワーズ株式会社
真空排気システム
1か月前
台灣晶技股ふん有限公司
無電解めっき法
2か月前
東京エレクトロン株式会社
成膜方法
2か月前
株式会社カネカ
気化装置及び製膜装置
1か月前
JFEスチール株式会社
鋼部品
3か月前
TOTO株式会社
構造部材
1か月前
東京エレクトロン株式会社
基板処理装置
5か月前
株式会社内村
防食具、防食具の設置方法
2か月前
住友重機械工業株式会社
成膜装置
4か月前
株式会社アルバック
マスクユニット
1か月前
住友重機械工業株式会社
成膜装置
5か月前
株式会社アルバック
基板ステージ装置
1か月前
黒崎播磨株式会社
溶射装置
1か月前
フジタ技研株式会社
被覆部材、及び、表面被覆金型
1か月前
日本コーティングセンター株式会社
炭化ホウ素被膜
1か月前
株式会社デンソー
接合体
2か月前
国立大学法人千葉大学
成膜装置及び成膜方法
2か月前
黒崎播磨株式会社
溶射用ランス
5か月前
ケニックス株式会社
蒸発源装置
2か月前
株式会社アルバック
成膜装置、および搬送方法
3か月前
川崎重工業株式会社
水素遮蔽膜
3か月前
信越化学工業株式会社
炭化金属被覆材料
今日
東京エレクトロン株式会社
成膜方法及び成膜装置
2か月前
株式会社日本テクノ
ガス浸炭方法、ガス浸炭装置
1か月前
学校法人静岡理工科大学
放電被覆装置及び放電被覆方法
2か月前
株式会社神戸製鋼所
成膜方法
3か月前
株式会社日本テクノ
ガス浸炭装置、浸炭室
1か月前
株式会社アルバック
真空蒸着装置、真空蒸着方法
3か月前
信越石英株式会社
電極装置及びその製造方法
5か月前
続きを見る
他の特許を見る