TOP
|
特許
|
意匠
|
商標
特許ウォッチ
Twitter
他の特許を見る
公開番号
2025179471
公報種別
公開特許公報(A)
公開日
2025-12-10
出願番号
2024086234
出願日
2024-05-28
発明の名称
耐食性部材
出願人
株式会社レゾナック
代理人
個人
,
個人
主分類
C23C
14/06 20060101AFI20251203BHJP(金属質材料への被覆;金属質材料による材料への被覆;化学的表面処理;金属質材料の拡散処理;真空蒸着,スパッタリング,イオン注入法,または化学蒸着による被覆一般;金属質材料の防食または鉱皮の抑制一般)
要約
【課題】腐食性ガスに対して優れた耐食性を有し、且つ金属元素が脱離しにくい耐食性部材を提供する。
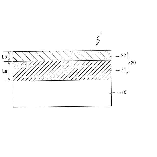
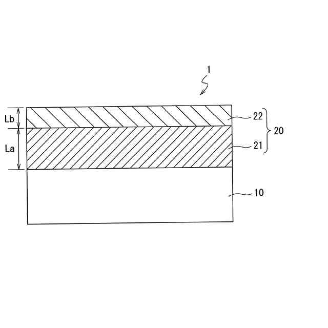
【解決手段】 耐食性部材1は、基材10と、基材10上の耐食性被膜20と、を備える。耐食性部材1において、耐食性被膜20は、マグネシウムフッ化物を含有するマグネシウムフッ化物層21と、アルミニウムフッ化物を含有するアルミニウムフッ化物層22と、を有している。また、マグネシウムフッ化物層21は、マグネシウムフッ化物層21の厚さLaに対するアルミニウムフッ化物層22の厚さLbの層厚比Lb/Laが0より大きく1以下であり、アルミニウムフッ化物層22の厚さLbが1nm以上200nm未満である。
【選択図】図1
特許請求の範囲
【請求項1】
基材と、前記基材上の耐食性被膜と、を備える耐食性部材であって、
前記耐食性被膜は、マグネシウムフッ化物を含有するマグネシウムフッ化物層と、アルミニウムフッ化物を含有するアルミニウムフッ化物層と、を有しており、前記マグネシウムフッ化物層は、前記アルミニウムフッ化物層よりも前記基材に近い側に配されており、
前記マグネシウムフッ化物層の厚さLaに対する前記アルミニウムフッ化物層の厚さLbの層厚比Lb/Laが0より大きく1以下であり、前記アルミニウムフッ化物層の厚さLbが1nm以上200nm未満である、耐食性部材。
続きを表示(約 250 文字)
【請求項2】
前記マグネシウムフッ化物がフッ化マグネシウムを含む、請求項1に記載の耐食性部材。
【請求項3】
前記アルミニウムフッ化物がフッ化アルミニウムを含む、請求項1又は請求項2に記載の耐食性部材。
【請求項4】
前記マグネシウムフッ化物層の厚さLaが10nm以上20000nm以下である、請求項1又は請求項2に記載の耐食性部材。
【請求項5】
前記耐食性被膜の厚さが11nm以上20200nm未満である、請求項1又は請求項2に記載の耐食性部材。
発明の詳細な説明
【技術分野】
【0001】
本開示は、耐食性部材に関する。
続きを表示(約 1,800 文字)
【背景技術】
【0002】
半導体製造プロセスにおいては、塩素ガス、フッ素ガス等の腐食性の強いガスが使用される場合があるため、半導体製造装置を構成する部材には耐食性が要求される。半導体製造装置を構成する部材の例としては、チャンバー、配管、ガス貯蔵装置、バルブ、サセプター、シャワーヘッド等が挙げられる。
【0003】
特許文献1には、半導体製造プロセスにおいて使用されるシャワーヘッド等の部材が開示されている。この部材は、フッ化アルミニウム及びフッ化マグネシウムの少なくとも一方からなる耐食性被膜によって被覆されたアルミニウム表面を有している。また、特許文献2には、基材の表面に耐食性被膜が形成されてなる真空チャンバー部材が開示されている。具体的には、耐食性被膜の表面側は、アルミニウム酸化物を主体とする層であるか、又は、アルミニウム酸化物とアルミニウムフッ化物を主体とする層であり、耐食性被膜の基材側は、マグネシウムフッ化物を主体とする層であるか、又は、マグネシウムフッ化物とアルミニウム酸化物を主体とする層である。
【先行技術文献】
【特許文献】
【0004】
特開2005-533368号公報
特開平11-61410号公報
【発明の概要】
【発明が解決しようとする課題】
【0005】
しかしながら、特許文献1及び2に開示された部材は、半導体製造プロセスにおいてウェハの金属汚染を引き起こすという問題点を有していた。半導体製造プロセスではメンテナンス等の目的で水を用いた洗浄を実施することがある。特に部材が水と接触すると、パーティクル等の形態で部材からアルミニウムやマグネシウムが脱離して、金属汚染の要因となる場合がある。このような金属汚染は、半導体製造プロセスにおいて半導体製造の歩留まりを低下させるため、低減することが求められている。
【0006】
したがって、本開示は、腐食性ガスに対して優れた耐食性を有し、且つ金属元素が脱離しにくい耐食性部材を提供することを課題とする。
【課題を解決するための手段】
【0007】
前記課題を解決するため、本開示の一態様は、以下の[1]~[5]の通りである。
[1] 基材と、前記基材上の耐食性被膜と、を備える耐食性部材であって、
前記耐食性被膜は、マグネシウムフッ化物を含有するマグネシウムフッ化物層と、アルミニウムフッ化物を含有するアルミニウムフッ化物層と、を有しており、前記マグネシウムフッ化物層は、前記アルミニウムフッ化物層よりも前記基材に近い側に配されており、
前記マグネシウムフッ化物層の厚さLaに対する前記アルミニウムフッ化物層の厚さLbの層厚比Lb/Laが0より大きく1以下であり、前記アルミニウムフッ化物層の厚さLbが1nm以上200nm未満である、耐食性部材。
[2] 前記マグネシウムフッ化物がフッ化マグネシウムを含む、[1]に記載の耐食性部材。
[3] 前記アルミニウムフッ化物がフッ化アルミニウムを含む、[1]又は[2]に記載の耐食性部材。
[4] 前記マグネシウムフッ化物層の厚さLaが10nm以上20000nm以下である、[1]~[3]のいずれか1項に記載の耐食性部材。
[5] 前記耐食性被膜の厚さが11nm以上20200nm未満である、[1]~[4]のいずれか1項に記載の耐食性部材。
【発明の効果】
【0008】
本開示によれば、腐食性ガスに対して優れた耐食性を有し、且つ金属元素が脱離しにくい耐食性部材を提供することができる。
【図面の簡単な説明】
【0009】
本開示の一実施形態に係る耐食性部材の構成を説明する模式的な断面図である。
【発明を実施するための形態】
【0010】
本開示の一実施形態について以下に説明する。なお、本実施形態は本開示の一例を示したものであって、本開示は本実施形態に限定されるものではない。また、本実施形態には種々の変更又は改良を加えることが可能であり、その様な変更又は改良を加えた形態も本開示に含まれ得る。
(【0011】以降は省略されています)
この特許をJ-PlatPat(特許庁公式サイト)で参照する
関連特許
個人
フッ素樹脂塗装鋼板の保管方法
4か月前
株式会社カネカ
製膜装置
2か月前
株式会社カネカ
製膜装置
2か月前
株式会社京都マテリアルズ
めっき部材
2か月前
トヨタ自動車株式会社
治具
1か月前
株式会社KSマテリアル
防錆組成物
5か月前
株式会社オプトラン
蒸着装置
7か月前
株式会社三愛工業所
アルミニウム材
7か月前
日本化学産業株式会社
複合めっき皮膜
4か月前
株式会社レゾナック
耐食性部材
今日
エドワーズ株式会社
真空排気システム
2か月前
台灣晶技股ふん有限公司
無電解めっき法
3か月前
東京エレクトロン株式会社
成膜方法
3か月前
日東電工株式会社
積層体の製造方法
6か月前
株式会社カネカ
気化装置及び製膜装置
2か月前
JFEスチール株式会社
鋼部品
4か月前
住友重機械工業株式会社
成膜装置
5か月前
株式会社アルバック
マスクユニット
2か月前
東京エレクトロン株式会社
基板処理装置
7か月前
DOWAサーモテック株式会社
浸炭方法
7か月前
TOTO株式会社
構造部材
2か月前
株式会社内村
防食具、防食具の設置方法
3か月前
住友重機械工業株式会社
成膜装置
6か月前
東京エレクトロン株式会社
基板処理装置
6か月前
信越半導体株式会社
真空蒸着方法
7か月前
黒崎播磨株式会社
溶射装置
2か月前
株式会社アルバック
基板ステージ装置
2か月前
株式会社デンソー
接合体
2か月前
国立大学法人千葉大学
成膜装置及び成膜方法
3か月前
フジタ技研株式会社
被覆部材、及び、表面被覆金型
2か月前
日本コーティングセンター株式会社
炭化ホウ素被膜
2か月前
川崎重工業株式会社
水素遮蔽膜
4か月前
信越化学工業株式会社
炭化金属被覆材料
21日前
ケニックス株式会社
蒸発源装置
3か月前
株式会社アルバック
成膜装置、および搬送方法
4か月前
黒崎播磨株式会社
溶射用ランス
6か月前
続きを見る
他の特許を見る