TOP
|
特許
|
意匠
|
商標
特許ウォッチ
Twitter
他の特許を見る
10個以上の画像は省略されています。
公開番号
2025063802
公報種別
公開特許公報(A)
公開日
2025-04-16
出願番号
2024006647
出願日
2024-01-19
発明の名称
成膜方法
出願人
株式会社神戸製鋼所
代理人
弁理士法人三協国際特許事務所
主分類
C23C
14/08 20060101AFI20250409BHJP(金属質材料への被覆;金属質材料による材料への被覆;化学的表面処理;金属質材料の拡散処理;真空蒸着,スパッタリング,イオン注入法,または化学蒸着による被覆一般;金属質材料の防食または鉱皮の抑制一般)
要約
【課題】基材に対して導電性を有する酸化イットリウム膜をアークイオンプレーティングPVD法によって安定して形成することが可能な成膜方法を提供する。
【解決手段】成膜方法は、チャンバ内に、イットリウムからなるターゲットと成膜を形成する対象である基材とを配置することと、前記チャンバ内に少なくとも酸素を導入することと、前記基材に所定のバイアス電圧を印加することと、前記ターゲットの表面を酸素中で蒸発させて、前記基材上に酸化イットリウム膜を成膜することと、前記蒸発時における前記チャンバ内の酸素分圧を、0.4Pa未満の圧力であって、前記基材上の前記酸化イットリウム膜中の酸素とイットリウムとの比であるO/Y比が1.5以下となるように設定することと、を備える。
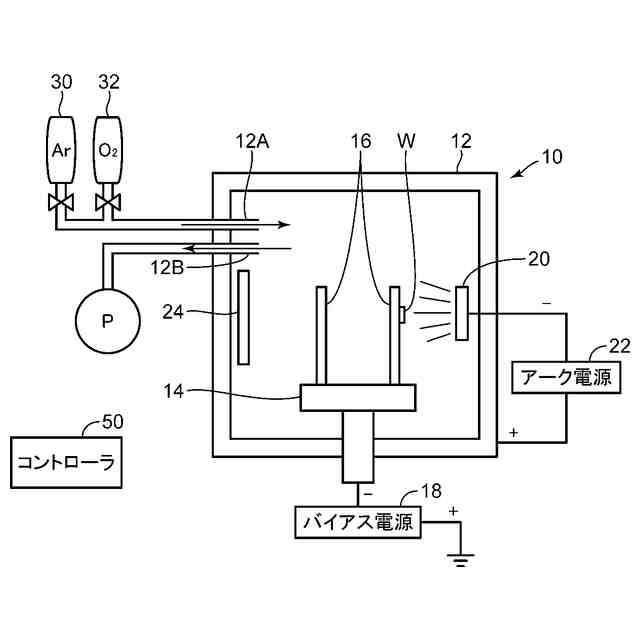
【選択図】図1
特許請求の範囲
【請求項1】
成膜を形成する対象である基材上にアークイオンプレーティング法によって酸化イットリウム膜を成膜する成膜方法であって、
チャンバ内に、イットリウムからなるターゲットと、前記基材とを配置することと、
前記チャンバ内に少なくとも酸素を導入することと、
前記基材に所定のバイアス電圧を印加することと、
前記ターゲットの表面を酸素中で蒸発させて、前記基材上に酸化イットリウム膜を成膜することと、
前記蒸発時における前記チャンバ内の酸素分圧を、0.4Pa未満の圧力であって、前記基材上の前記酸化イットリウム膜中の酸素とイットリウムとの比であるO/Y比が1.5以下となるような圧力に設定することと、
を備える、成膜方法。
続きを表示(約 580 文字)
【請求項2】
請求項1に記載の酸化イットリウム膜の成膜方法であって、
前記O/Y比が1.4未満となるように、前記蒸発時における前記チャンバ内の酸素分圧を設定することを更に備える、成膜方法。
【請求項3】
請求項2に記載の酸化イットリウム膜の成膜方法であって、
前記酸化イットリウム膜の電気抵抗が10000Ω以下となるように、前記チャンバ内の酸素分圧を設定することを更に備える、成膜方法。
【請求項4】
請求項1に記載の酸化イットリウム膜の成膜方法であって、
成膜時の放電電圧が20V以下となるように前記酸素分圧を設定することを更に備える、成膜方法。
【請求項5】
請求項1に記載の酸化イットリウム膜の成膜方法であって、
前記酸素分圧は0.17Pa以上であることを更に備える、成膜方法。
【請求項6】
請求項1乃至5の何れか1項に記載の酸化イットリウム膜の成膜方法であって、
前記チャンバ内に酸素に加えてアルゴンを導入することを更に備える、成膜方法。
【請求項7】
請求項1乃至5の何れか1項に記載の酸化イットリウム膜の成膜方法であって、
前記基材に前記バイアス電圧としてパルス電圧を印加することを更に備える、成膜方法。
発明の詳細な説明
【技術分野】
【0001】
本発明は、基材の表面に耐プラズマ性に優れた皮膜を形成する成膜方法に関する。
続きを表示(約 2,100 文字)
【背景技術】
【0002】
従来から、半導体製造装置のようにプラズマに晒される環境に使用される部材のために、耐プラズマ性に優れた材料が求められている。特許文献1には、このような材料を得るために、溶射法によって基材の表面に酸化イットリウム(Y
2
O
3
)膜を形成する技術が開示されている。当該技術では、Y
2
O
3
粉末を原料としたプラズマ溶射によって、プラズマによる損傷が問題となるような部材の表面に酸化イットリウムが膜状に形成される。
【0003】
一方、近年、真空成膜法(PVD法:Physical Vapor Deposition)によって、酸化イットリウム膜を基材上に形成することが検討されている。このようなPVD法ではイオン化した材料を用いて基材上に膜を形成するため、膜内に欠陥を有する可能性がある溶射法と比較して、緻密な皮膜を形成することが可能となる。一般的に、PVD法では蒸発させた原子のうちの一定の割合が電離し、イオンになることが知られている。そこで、成膜する基材に電圧(バイアス)を印加し、入射するイオンエネルギーを変化させることで、皮膜の緻密性や膜特性(結晶構造や機械特性)を制御することができる。
【0004】
PVD法の中でも、AIP(アークイオンプレーティング)法は、大電流(数十~数百A)かつ低電圧の条件下における真空アーク放電による、カソード物質の蒸発およびイオン化を原理とする成膜法である。この場合、酸化物などの絶縁物質を成膜する場合には、金属ターゲットを用いて酸素を含有する雰囲気中で、反応性成膜を行う必要がある。この際、カソードの放電面が酸化されることから、カソード表面でアーク放電が起こらないエリアがあると、その部分に酸化物が堆積し、そのエリアが広がることで放電の持続が困難になりやすい。この問題を解決するために、特許文献2は、3~50ガウスの弱い磁場を有する蒸発源を使用することで、安定に放電できることを開示している。特許文献3には、この手法を用いて双極性のパルスを印加し、純酸素中の条件下において酸化物を形成することが開示されている。また、同文献では、Zr、Cr、MoおよびAl、Si、Fe、Co、Ni、Yを含む酸化物を直流電流に、大電流パルスアーク重ね合わせた方法で成膜することが開示されている。
【先行技術文献】
【特許文献】
【0005】
特開2001-164354号公報
特許第5306198号公報
特許第5877147号公報
【発明の概要】
【発明が解決しようとする課題】
【0006】
本発明者は、特許文献2に開示された手法を用いて、酸素雰囲気下においてY
2
O
3
膜を形成することを鋭意試みたが、長時間の放電時にはターゲット表面に酸化物が形成し、やがて放電が不可能になるという課題があることがわかった。また、特許文献3に記載されたような、大電流パルスアークは通常のDC電源に比べて、電源システムが複雑で高価であることから、工業的には適用が難しいという問題がある。
【0007】
本発明の目的は、アークイオンプレーティング法を用いて基材に対して導電性を有する酸化イットリウム膜を安定して形成するにあたって、成膜時の放電を安定して維持することが可能な成膜方法を提供することである。
【課題を解決するための手段】
【0008】
上記の目的を達成するために、本願の発明者は、導電性を有する酸化イットリウム膜を形成するために、鋭意実験を繰り返した結果、新たな成膜方法を知見するに至った。
【0009】
本発明による成膜方法は、成膜を形成する対象である基材上にアークイオンプレーティング法によって酸化イットリウム膜を成膜する成膜方法であって、チャンバ内に、イットリウムからなるターゲットと前記基材とを配置することと、前記チャンバ内に少なくとも酸素を導入することと、前記基材に所定のバイアス電圧を印加することと、前記ターゲットの表面を酸素中で蒸発させて、前記基材上に酸化イットリウム膜を成膜することと、前記蒸発時における前記チャンバ内の酸素分圧を、0.4Pa未満の圧力であって、前記基材上の前記酸化イットリウム膜中の酸素とイットリウムとの比であるO/Y比が1.5以下となるような圧力に設定することと、を備える。
【0010】
本方法によれば、成膜時のチャンバ内の酸素分圧を制御して酸化イットリウム膜中の酸素量を変化させることで、膜の電気抵抗を低下させ導電性を有する酸化イットリウム膜を得ることができる。特に、酸素分圧が0.4Pa未満に設定されるため、ターゲット表面に酸化物が形成されにくく、放電電圧が上昇して放電の持続が困難になることを抑止することができる。
(【0011】以降は省略されています)
この特許をJ-PlatPat(特許庁公式サイト)で参照する
関連特許
株式会社神戸製鋼所
混練機
16日前
株式会社神戸製鋼所
輸送機構
1か月前
株式会社神戸製鋼所
混合装置
16日前
株式会社神戸製鋼所
混合装置
16日前
株式会社神戸製鋼所
混練装置
17日前
株式会社神戸製鋼所
混練装置
16日前
株式会社神戸製鋼所
遠心圧縮機
1か月前
株式会社神戸製鋼所
ボルト用鋼
11日前
株式会社神戸製鋼所
浸炭窒化鋼材
11日前
株式会社神戸製鋼所
密閉式混練機
26日前
株式会社神戸製鋼所
連続式押出機
1か月前
株式会社神戸製鋼所
アーク溶接方法
1か月前
株式会社神戸製鋼所
残留応力推定方法
26日前
株式会社神戸製鋼所
焼結鉱の製造方法
15日前
株式会社神戸製鋼所
溶銑の予備処理方法
1か月前
株式会社神戸製鋼所
アルミニウム合金押出材
10日前
株式会社神戸製鋼所
スラグ流出予兆検知方法
15日前
株式会社神戸製鋼所
Ni基合金フラックス入りワイヤ
26日前
株式会社神戸製鋼所
異種金属接合体及びその製造方法
9日前
株式会社神戸製鋼所
熱延鋼板の製造方法および熱延鋼板
22日前
株式会社神戸製鋼所
チタン板およびチタン板の製造方法
16日前
株式会社神戸製鋼所
水素供給システムおよび水素供給方法
3日前
株式会社神戸製鋼所
冷間加工用機械構造用鋼線とその製造方法
15日前
株式会社神戸製鋼所
ペールパック用押え板、及びペールパック
22日前
株式会社神戸製鋼所
移動機械システムおよび移動機械の運用方法
17日前
株式会社神戸製鋼所
アルミニウム合金熱間鍛造材及びその製造方法
8日前
株式会社神戸製鋼所
溶接用ワイヤ、溶接方法及び溶接金属の製造方法
1か月前
株式会社神戸製鋼所
多孔質炭素の製造方法および二酸化炭素分離方法
16日前
株式会社神戸製鋼所
形状解析システム、形状解析方法、及びプログラム
22日前
株式会社神戸製鋼所
ギアボックスの製造方法並びに回転機械の製造方法
22日前
株式会社神戸製鋼所
圧延機の板厚制御方法、および、圧延機板厚制御装置
26日前
株式会社神戸製鋼所
非調質鍛造用鋼、非調質鍛造鋼および非調質鍛造部品
22日前
株式会社神戸製鋼所
ガス供給システム改良方法及びガス供給システム改良装置
10日前
株式会社神戸製鋼所
サイドドア
11日前
株式会社神戸製鋼所
金型製作支援システム、金型製作支援方法、及びプログラム
1か月前
株式会社神戸製鋼所
二次精錬条件および連続鋳造条件の決定方法と鋼の製造方法
18日前
続きを見る
他の特許を見る