TOP
|
特許
|
意匠
|
商標
特許ウォッチ
Twitter
他の特許を見る
公開番号
2025088609
公報種別
公開特許公報(A)
公開日
2025-06-11
出願番号
2023203418
出願日
2023-11-30
発明の名称
電極装置及びその製造方法
出願人
信越石英株式会社
代理人
個人
,
個人
,
個人
主分類
C23C
4/11 20160101AFI20250604BHJP(金属質材料への被覆;金属質材料による材料への被覆;化学的表面処理;金属質材料の拡散処理;真空蒸着,スパッタリング,イオン注入法,または化学蒸着による被覆一般;金属質材料の防食または鉱皮の抑制一般)
要約
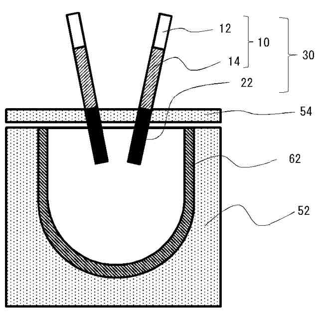
【課題】 支持体からの汚染を抑制し、使用する黒鉛電極を短くして製造コストを下げることができる電極装置を提供する。
【解決手段】 石英るつぼを製造するためのアーク放電に用いられる黒鉛電極を接合して保持する支持体を有する電極装置であって、前記支持体の表面のうち、前記支持体を前記黒鉛電極と接合した際に前記黒鉛電極と隣接する部位の最表面層に防汚性薄膜を有するものであることを特徴とする電極装置。
【選択図】 図1
特許請求の範囲
【請求項1】
石英るつぼを製造するためのアーク放電に用いられる黒鉛電極を接合して保持する支持体を有する電極装置であって、
前記支持体の表面のうち、前記支持体を前記黒鉛電極と接合した際に前記黒鉛電極と隣接する部位の最表面層に防汚性薄膜を有するものであることを特徴とする電極装置。
続きを表示(約 860 文字)
【請求項2】
前記防汚性薄膜は、溶射膜であることを特徴とする請求項1に記載の電極装置。
【請求項3】
前記防汚性薄膜は、前記支持体の表面のうち、少なくとも、前記石英るつぼを製造する際に用いられる型枠の内部に挿入される部位を被覆しているものであることを特徴とする請求項1に記載の電極装置。
【請求項4】
前記防汚性薄膜は、セラミック溶射膜又は合金溶射膜であることを特徴とする請求項1に記載の電極装置。
【請求項5】
前記防汚性薄膜の材質は、アルミナ、ジルコニア、ムライト、クロミア、イットリア、チタニア、セリア、及び、これらを含む合金、並びに、ニッケルを含む合金、の少なくともいずれか1種であることを特徴とする請求項1に記載の電極装置。
【請求項6】
前記支持体の材質として、金、銀、銅及びアルミニウムの少なくとも1種を含むことを特徴とする請求項1に記載の電極装置。
【請求項7】
前記防汚性薄膜は、前記支持体の表面に1層又は複数層の下地薄膜を介して形成されているものであることを特徴とする請求項1に記載の電極装置。
【請求項8】
請求項1から請求項7のいずれか1項に記載の電極装置と、前記黒鉛電極を接合したものであることを特徴とする電極。
【請求項9】
前記黒鉛電極の棒状部分の長さが50mm以上500mm以下であることを特徴とする請求項8に記載の電極。
【請求項10】
石英るつぼを製造するためのアーク放電に用いられる黒鉛電極を接合して保持する支持体を有する電極装置を製造する方法であって、
前記電極装置を準備するステップと、
前記準備した電極装置の支持体の表面のうち、前記支持体を前記黒鉛電極と接合した際に前記黒鉛電極と隣接する部位の最表面層に、防汚性薄膜を形成するステップと
を有することを特徴とする電極装置の製造方法。
(【請求項11】以降は省略されています)
発明の詳細な説明
【技術分野】
【0001】
本発明は、電極装置及びその製造方法に関し、特に、石英るつぼの製造に用いる電極装置及びその製造方法に関する。
続きを表示(約 1,600 文字)
【背景技術】
【0002】
単結晶半導体材料の基板として用いられるシリコン単結晶の多くは、シリコン多結晶を石英るつぼ中で溶融し、それを種結晶に接触させた後に結晶成長させて製造するといういわゆるチョクラルスキー法によって製造されている。このシリコン単結晶の製造方法に用いられる石英るつぼは、その製造方法によって幾通りかの種類がある。実用的には、回転可能な中空の型の内周面に沿って二酸化ケイ素粉末(原料石英粉)を充填し、該型を回転させながら二酸化ケイ素粉末を、黒鉛電極を用いたアーク放電により加熱溶融して製造した石英るつぼが用いられている。石英るつぼを製造するためのアーク放電に用いられる黒鉛電極については、多くの態様が開示されている(例えば、特許文献1~特許文献3)。この黒鉛電極は、通電するための電極装置(例えば銅製の支持体を有するもの)と接続されて用いられている(例えば、特許文献4)。
【0003】
従来、石英るつぼの製法であるアーク回転溶融法では金属製の支持体が熱源に近くなると汚染が生じるという問題があった。そのため、例えば、上記の特許文献4には、アーク回転溶融法による石英ガラスルツボの製造方法において、型内に挿入する炭素電極(黒鉛電極)を炭素からなる棒状部分とその支持体で構成する例が記載されており、炭素からなる棒状部分の少なくとも一部を型内の高温雰囲気の上方に延長すること、及び、その先端に接合した支持体を前記高温雰囲気から隔離することが記載されている。このように、黒鉛電極を長くすることで接合する支持体を高温雰囲気から隔離することが開示されている。また、特許文献4には、支持体の隔離には炭素棒状部分の長さを20cm~2.5mとするのがよいと開示されている。
【先行技術文献】
【特許文献】
【0004】
特開2016-011238号公報
特開2017-065962号公報
特開2009-161362号公報
特開平8-34628号公報
【発明の概要】
【発明が解決しようとする課題】
【0005】
上記のように、特許文献4には、黒鉛電極を長くすることで接合する支持体を高温雰囲気から隔離することが開示されている。しかしながら黒鉛電極が長くなることで黒鉛による製造コストが高くなっているという問題があった。
【0006】
本発明は、上記した事情に鑑みなされたもので、支持体からの汚染を抑制し、使用する黒鉛電極を短くして製造コストを下げることができる電極装置を提供することを目的とする。また、そのような電極装置を製造することができる電極装置の製造方法を提供することを目的とする。
【課題を解決するための手段】
【0007】
本発明は、上記課題を解決するためになされたもので、石英るつぼを製造するためのアーク放電に用いられる黒鉛電極を接合して保持する支持体を有する電極装置であって、前記支持体の表面のうち、前記支持体を前記黒鉛電極と接合した際に前記黒鉛電極と隣接する部位の最表面層に防汚性薄膜を有するものであることを特徴とする電極装置を提供する。
【0008】
本発明の電極装置は、支持体の表面のうち、黒鉛電極と隣接する部位の最表面層に防汚性薄膜を有するものであることにより、アーク溶融においても支持体からの汚染を抑制することができる。
【0009】
このとき、前記防汚性薄膜は、溶射膜であることが好ましい。また、前記溶射膜は、セラミック溶射膜又は合金溶射膜であることが好ましい。
【0010】
このようなセラミック溶射膜又は合金溶射膜は、簡便に、防汚性、耐熱性、耐衝撃性、絶縁性を有する薄膜とすることができる。そのため、このような薄膜を有する電極装置は、より効果的に、アーク溶融における支持体からの汚染を抑制することができる。
(【0011】以降は省略されています)
特許ウォッチbot のツイートを見る
この特許をJ-PlatPat(特許庁公式サイト)で参照する
関連特許
個人
フッ素樹脂塗装鋼板の保管方法
3か月前
株式会社京都マテリアルズ
めっき部材
1か月前
株式会社カネカ
製膜装置
1か月前
株式会社カネカ
製膜装置
1か月前
トヨタ自動車株式会社
治具
22日前
エドワーズ株式会社
真空排気システム
1か月前
日本化学産業株式会社
複合めっき皮膜
3か月前
台灣晶技股ふん有限公司
無電解めっき法
2か月前
東京エレクトロン株式会社
成膜方法
2か月前
株式会社カネカ
気化装置及び製膜装置
1か月前
JFEスチール株式会社
鋼部品
3か月前
株式会社内村
防食具、防食具の設置方法
2か月前
TOTO株式会社
構造部材
1か月前
株式会社アルバック
マスクユニット
1か月前
黒崎播磨株式会社
溶射装置
1か月前
株式会社アルバック
基板ステージ装置
1か月前
フジタ技研株式会社
被覆部材、及び、表面被覆金型
1か月前
日本コーティングセンター株式会社
炭化ホウ素被膜
1か月前
国立大学法人千葉大学
成膜装置及び成膜方法
2か月前
株式会社デンソー
接合体
2か月前
川崎重工業株式会社
水素遮蔽膜
3か月前
ケニックス株式会社
蒸発源装置
3か月前
株式会社アルバック
成膜装置、および搬送方法
3か月前
信越化学工業株式会社
炭化金属被覆材料
1日前
株式会社日本テクノ
ガス浸炭方法、ガス浸炭装置
1か月前
株式会社日本テクノ
ガス浸炭装置、浸炭室
1か月前
学校法人静岡理工科大学
放電被覆装置及び放電被覆方法
2か月前
東京エレクトロン株式会社
成膜方法及び成膜装置
2か月前
株式会社アルバック
真空蒸着装置、真空蒸着方法
3か月前
芝浦機械株式会社
表面処理装置
2か月前
株式会社豊田中央研究所
プラズマCVD装置
1か月前
大陽日酸株式会社
気相成長装置
2か月前
大陽日酸株式会社
インジェクター
2か月前
メック株式会社
エッチング液、補給液及び銅配線の形成方法
2か月前
株式会社レゾナック・ハードディスク
成膜装置
2か月前
株式会社SEELS
有刺鉄線および有刺鉄線の製造方法
3か月前
続きを見る
他の特許を見る