TOP
|
特許
|
意匠
|
商標
特許ウォッチ
Twitter
他の特許を見る
公開番号
2025145074
公報種別
公開特許公報(A)
公開日
2025-10-03
出願番号
2024045066
出願日
2024-03-21
発明の名称
プラズマCVD装置
出願人
株式会社豊田中央研究所
代理人
個人
,
個人
,
個人
主分類
C23C
16/50 20060101AFI20250926BHJP(金属質材料への被覆;金属質材料による材料への被覆;化学的表面処理;金属質材料の拡散処理;真空蒸着,スパッタリング,イオン注入法,または化学蒸着による被覆一般;金属質材料の防食または鉱皮の抑制一般)
要約
【課題】プラズマCVDを安定して行える装置を提供する。
【解決手段】本発明は、キャリアガス(g
0
)から生成したプラズマ(p)を供給するプラズマヘッド(2)と、プラズマと反応させて化学気相成長させる原料ガス(g
m
)を供給する原料ガスヘッド(3)とを備える。プラズマヘッドは、キャリアガスが供給される上流側から積層された第1電極(221)、中間絶縁体(212)および第2電極(222)と、第1電極、中間絶縁体および第2電極を貫通してキャリアガスを流動させる連通穴(20)と、連通穴の下流開口側にある細長いプラズマ吐出孔(23)とを有する。原料ガスヘッドは、プラズマ吐出孔付近に長手方向に略平行して配設される細長い原料ガス吐出孔(33)を有する。
【選択図】図2
特許請求の範囲
【請求項1】
キャリアガスから生成したプラズマを供給するプラズマヘッドと、該プラズマと反応させて化学気相成長させる原料ガスを供給する原料ガスヘッドとを備え、
該プラズマヘッドは、
該キャリアガスが供給される上流側から積層された第1電極、中間絶縁体および第2電極と、
該第1電極、該中間絶縁体および該第2電極を貫通して該キャリアガスを流動させる連通穴と、
該連通穴の下流開口側にある細長いプラズマ吐出孔とを有し、
該原料ガスヘッドは、
該プラズマ吐出孔付近に長手方向に略平行して配設される細長い原料ガス吐出孔を有するプラズマCVD装置。
続きを表示(約 600 文字)
【請求項2】
前記プラズマヘッドは、少なくとも前記プラズマ吐出孔付近の過熱を抑制する冷却機構を備える請求項1に記載のプラズマCVD装置。
【請求項3】
前記冷却機構は、冷媒の流路からなり、
該冷媒は、前記キャリアガスと同種である請求項2に記載のプラズマCVD装置。
【請求項4】
前記プラズマ吐出孔と前記原料ガス吐出孔は、幅に対する長さの比率が10以上ある請求項1に記載のプラズマCVD装置。
【請求項5】
前記原料ガス吐出孔は、前記プラズマ吐出孔から流出するプラズマの下流側に向けて前記原料ガスを流出させ、該原料ガスを前記第1電極と前記第2電極の間へ流入させない請求項1に記載のプラズマCVD装置。
【請求項6】
前記原料ガス吐出孔は、被処理面より該プラズマ吐出孔寄りにある請求項1に記載のプラズマCVD装置。
【請求項7】
前記化学気相成長は、準大気圧雰囲気下でなされる請求項1に記載のプラズマCVD装置。
【請求項8】
前記原料ガスは、モノマーガスであり、
該モノマーガスは、前記化学気相成長により重合される請求項1または7に記載のプラズマCVD装置。
【請求項9】
前記キャリアガスは、一種以上の不活性ガスからなる請求項1に記載のプラズマCVD装置。
発明の詳細な説明
【技術分野】
【0001】
本発明は、プラズマにより原料ガスを化学気相成長(CVD:Chemical Vapor Deposition)させるプラズマCVD装置等に関する。
続きを表示(約 1,400 文字)
【背景技術】
【0002】
気体の分子(原子)が主に陽イオンと電子(両者を併せて「荷電粒子」という。)に電離した状態となるプラズマは、様々な分野で、種々の処理や加工に利用される。例えば、グロー放電により得られる低温プラズマは、制御性に優れ、化学気相成長(CVD)による薄膜形成等に利用されている。このようなプラズマCVD装置に関する記載が、例えば、下記の特許文献1にある。
【先行技術文献】
【特許文献】
【0003】
特開2021-82491
特開2021-82491
特開2022-127786
【発明の概要】
【発明が解決しようとする課題】
【0004】
特許文献1のような成膜装置は、高真空下でCVDを行なっており、設備が大型で複雑化し、高価である。装置の簡素化や処理環境の緩和(例えば(準)大気圧下での処理)が図られると、プラズマCVDの利用範囲(用途)が格段に拡がり、より効率的に多様な処理を行えるようになる。
【0005】
大気圧付近の雰囲気下でもプラズマ処理を可能にする装置が、特許文献2、3で提案されている。もっとも特許文献2、3は、プラズマ自体の供給装置を提案しているに留まり、CVD装置に関して具体的な構成を開示していない。
【0006】
本発明はこのような事情に鑑みて為されたものであり、新たなプラズマCVD装置等を提供することを目的とする。
【課題を解決するための手段】
【0007】
本発明者はこの課題を解決すべく鋭意研究した結果、原料ガスを間接的にプラズマ化することを着想し、プラズマCVDを安定的に行える装置を具現化した。この成果を発展させることにより、以降に述べる本発明を完成するに至った。
【0008】
《プラズマCVD装置》
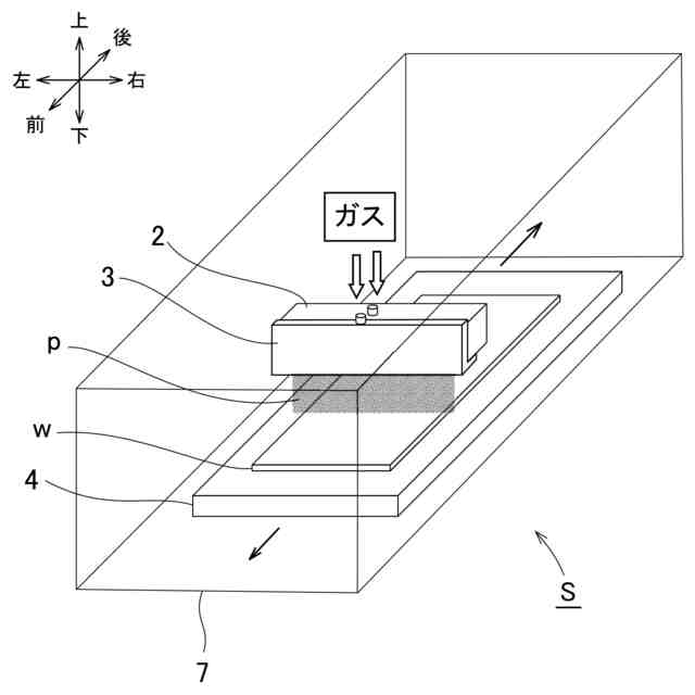
(1)本発明は、キャリアガスから生成したプラズマを供給するプラズマヘッドと、該プラズマと反応させて化学気相成長させる原料ガスを供給する原料ガスヘッドとを備え、該プラズマヘッドは、該キャリアガスが供給される上流側から積層された第1電極、中間絶縁体および第2電極と、該第1電極、該中間絶縁体および該第2電極を貫通して該キャリアガスを流動させる連通穴と、該連通穴の下流開口側にある細長いプラズマ吐出孔とを有し、該原料ガスヘッドは、該プラズマ吐出孔付近に長手方向に略平行して配設される細長い原料ガス吐出孔を有するプラズマCVD装置である。
【0009】
(2)本発明のプラズマCVD装置(単に「装置」ともいう。)によれば、先ず、プラズマヘッドの連通穴内で露出した第1電極の内壁面と第2電極の内壁面との間で、放電(グロー放電またはアーク放電)が生じて、流動するキャリアガス(少なくともその一部)からプラズマ(電子、ラジカル、イオン等)が生成(励起)される。このプラズマは、キャリアガスの流動にのって、プラズマ吐出孔から流出(噴出等を含む)する。
【0010】
次に、原料ガスヘッドの原料ガス吐出孔がそのプラズマ吐出孔の付近(下流側)に配設されており、原料ガス吐出孔から流出した原料ガスは、プラズマ吐出孔から流出したプラズマと接触(合流)して、間接的に反応(プラズマ化)する。こうして得られた原料ガスの反応物が、例えば、被処理物の表面に堆積して膜を形成したり、その表面を改質したりする。
(【0011】以降は省略されています)
この特許をJ-PlatPat(特許庁公式サイト)で参照する
関連特許
他の特許を見る