TOP
|
特許
|
意匠
|
商標
特許ウォッチ
Twitter
他の特許を見る
10個以上の画像は省略されています。
公開番号
2025158593
公報種別
公開特許公報(A)
公開日
2025-10-17
出願番号
2024061286
出願日
2024-04-05
発明の名称
ガス浸炭装置、浸炭室
出願人
株式会社日本テクノ
代理人
個人
,
個人
,
個人
主分類
C23C
8/22 20060101AFI20251009BHJP(金属質材料への被覆;金属質材料による材料への被覆;化学的表面処理;金属質材料の拡散処理;真空蒸着,スパッタリング,イオン注入法,または化学蒸着による被覆一般;金属質材料の防食または鉱皮の抑制一般)
要約
【課題】先行するワークが処理中でも次のワークに対する処理を行うことができるガス浸炭装置を提供する。
【解決手段】本発明は、ワークが一時的に配置される前室と、前室よりもワークの搬送方向の下流側に配置され、浸炭ガスの供給及び常圧下でワークを加熱する浸炭室と、浸炭室よりも搬送方向の下流側に配置され、ワークに焼入処理を行う焼入室と、ワークを前室から浸炭室に移動する浸炭室搬送装置と、浸炭室内のワークを搬送方向に移動させるワーク移動機構と、浸炭処理済みのワークを浸炭室から焼入室に移動する焼入室搬送装置と、浸炭室にキャリアガス及び浸炭ガスを供給する原料ガス供給装置とを備え、浸炭室には、複数のワークが搬送方向に列状に配置可能に構成され、ワーク移動機構は、浸炭室搬送装置による前室から浸炭室へのワークの移動の度に、浸炭室で列状に並ぶワークを搬送方向にまとめて移動させる。
【選択図】 図2
特許請求の範囲
【請求項1】
ワークが一時的に配置される前室と、
前記前室よりもワークの搬送方向の下流側に配置され、浸炭ガスが供給されると共に、常圧又は常圧よりも高圧下でワークを加熱して、ワークに対して浸炭処理を行う浸炭室と、
前記浸炭室よりも前記搬送方向の下流側に配置され、ワークに対して焼入処理を行う焼入室と、
ワークを前記前室から前記浸炭室に移動する浸炭室搬送装置と、
前記浸炭室内のワークを前記搬送方向に移動させるワーク移動機構と、
前記浸炭処理済みのワークを前記浸炭室から前記焼入室に移動する焼入室搬送装置と、
前記浸炭室に、キャリアガス、及び、該キャリアガスよりもワークに吸着しやすい鎖式不飽和炭化水素を含む前記浸炭ガスを供給する原料ガス供給装置と、
を備え、
前記浸炭室には、複数のワークが前記搬送方向に列状に配置可能に構成され、
前記ワーク移動機構は、前記浸炭室搬送装置による前記前室から前記浸炭室へのワークの移動の度に、前記浸炭室で列状に連続して並ぶワークを前記搬送方向にまとめて移動させることを特徴とする、
ガス浸炭装置。
続きを表示(約 1,600 文字)
【請求項2】
前記浸炭室は、上流から下流に向かって、
前記前室から搬送されたワークを予め設定された浸炭温度に昇温する昇温処理を行うための昇温区間と、
前記昇温区間を通過したワークに、前記キャリアガス及び前記浸炭ガスを供給する浸炭区間と、
前記浸炭区間を通過したワークに侵入した炭素を拡散させ、ワークに所望の厚みの硬化層を形成するための拡散処理を行うための拡散区間と、
を有しており、
前記昇温区間、前記浸炭区間、及び前記拡散区間のそれぞれにワークが同時に配置可能であることを特徴とする、
請求項1に記載のガス浸炭装置。
【請求項3】
前記浸炭室は、前記浸炭区間よりも上流側及び下流側において、前記浸炭室の内部の気体を排気するための排気路を有しており、
前記排気路による前記気体の排気によって、前記浸炭区間に供給される前記キャリアガス及び前記浸炭ガスによってワークを浸炭した後の残留ガスが、前記昇温区間及び前記拡散区間に流れ込むことを特徴とする、
請求項2に記載のガス浸炭装置。
【請求項4】
前記浸炭室は、
前記拡散区間を通過したワークを予め設定された焼入保持温度に降温する降温処理を行うための降温区間を有しており、
前記昇温区間、前記浸炭区間、前記拡散区間、及び前記降温区間のそれぞれにワークが同時に配置可能であることを特徴とする、
請求項2に記載のガス浸炭装置。
【請求項5】
前記キャリアガスが窒素を含み、
前記鎖式不飽和炭化水素がアセチレンを含むことを特徴とする、
請求項1に記載のガス浸炭装置。
【請求項6】
前記浸炭室内の雰囲気に含まれる前記アセチレンの濃度は、0.25体積%以下であることを特徴とする、
請求項5に記載のガス浸炭装置。
【請求項7】
前記浸炭室内の雰囲気に含まれる前記アセチレンの濃度は、0.10体積%以上であることを特徴とする、
請求項5に記載のガス浸炭装置。
【請求項8】
前記ワーク移動機構は、
前記浸炭室で列状に連続して並ぶ複数のワーク(以下、先行ワーク列と呼ぶ。)を搬送するための搬送路と、
前記浸炭室搬送装置と、
を有し、
前記浸炭室搬送装置により前記前室から前記浸炭室へワーク(以下、後続ワークと呼ぶ。)が移動する度に、該後続ワークにより前記先行ワーク列は前記搬送方向に押されて、前記搬送方向に移動することを特徴とする、
請求項1に記載のガス浸炭装置。
【請求項9】
前記先行ワーク列のそれぞれのワークは、予め設定された待機位置に配置され、
前記ワーク移動機構は、前記浸炭室搬送装置により前記前室から前記浸炭室へ前記後続ワークが移動する度に、前記先行ワーク列のそれぞれのワークを、隣接する前記搬送方向の下流側の前記待機位置に移動させるようになっており、
前記浸炭室は、上流から下流に向かって、
前記前室から搬送されたワークを予め設定された浸炭温度に昇温する昇温処理を行うための昇温区間と、
前記昇温区間を通過したワークに、前記キャリアガス及び前記浸炭ガスを供給する浸炭区間と、
前記浸炭区間を通過したワークに侵入した炭素を拡散させ、ワークに所望の厚みの硬化層を形成するための拡散処理を行うための拡散区間と、を有しており、
前記昇温区間には、前記待機位置が第一の数含まれ、
前記浸炭区間には、前記待機位置が第二の数含まれ、
前記拡散区間には、前記待機位置が第三の数含まれることを特徴とする、
請求項8に記載のガス浸炭装置。
【請求項10】
前記第一の数よりも、前記第二の数が大きいことを特徴とする、
請求項9に記載のガス浸炭装置。
(【請求項11】以降は省略されています)
発明の詳細な説明
【技術分野】
【0001】
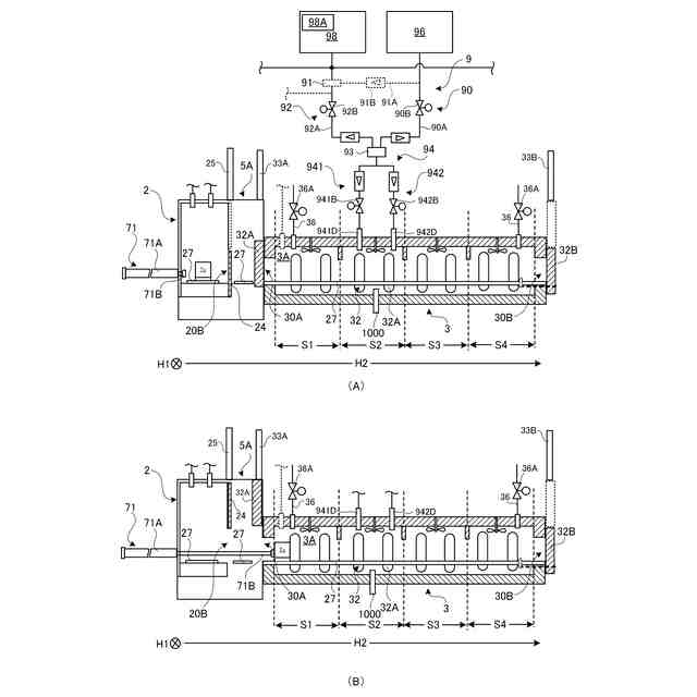
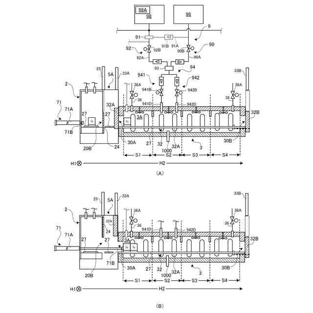
本発明は、ガス浸炭装置及び浸炭室に関する。
続きを表示(約 1,900 文字)
【背景技術】
【0002】
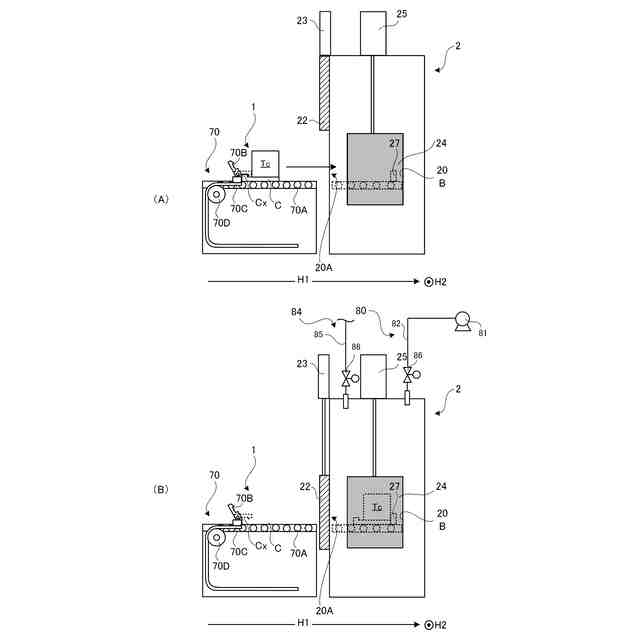
従来、鋼等の金属の表面層の硬化を目的として浸炭が行われている。そして、浸炭を行うガス浸炭装置として、例えば、外部領域、前室、前室の下方に設けられる油槽、前室よりも搬入経路の奥側に配置される浸炭室を備えるものが提案されている(例えば、特許文献1参照)。このガス浸炭装置では、浸炭対象となるワークを外部領域、前室、浸炭室、前室、油槽、外部領域の順に搬送する。この間に、浸炭室で浸炭処理が行われ、その後に、前室及び油槽で焼入処理が行われる。
【先行技術文献】
【特許文献】
【0003】
特願2023―066198号
【発明の概要】
【発明が解決しようとする課題】
【0004】
特許文献1の上記ガス浸炭装置では、先行するワークに対する浸炭処理及び焼入処理等の一連の処理が完了しないと、次のワークに対する一連の処理を行うことができない。
【0005】
本発明は、斯かる実情に鑑み、先行するワークが処理中でも次のワークに対する処理を行うことができるガス浸炭装置及び浸炭室を提供しようとするものである。
【課題を解決するための手段】
【0006】
本発明のガス浸炭装置は、ワークが一時的に配置される前室と、前記前室よりもワークの搬送方向の下流側に配置され、浸炭ガスが供給されると共に、常圧又は常圧よりも高圧下でワークを加熱してワークに対して浸炭処理を行う浸炭室と、前記浸炭室よりも前記搬送方向の下流側に配置され、ワークに対して焼入処理を行う焼入室と、ワークを前記前室から前記浸炭室に移動する浸炭室搬送装置と、前記浸炭室内のワークを前記搬送方向に移動させるワーク移動機構と、前記浸炭処理済みのワークを前記浸炭室から前記焼入室に移動する焼入室搬送装置と、前記浸炭室に、キャリアガス、及び、該キャリアガスよりもワークに吸着しやすい鎖式不飽和炭化水素を含む前記浸炭ガスを供給する原料ガス供給装置と、を備え、前記浸炭室には、複数のワークが前記搬送方向に列状に配置可能に構成され、前記ワーク移動機構は、前記浸炭室搬送装置による前記前室から前記浸炭室へのワークの移動の度に、前記浸炭室で列状に連続して並ぶワークを前記搬送方向にまとめて移動させることを特徴とする。
【0007】
また、本発明のガス浸炭装置は、更に、前記焼入室よりも前記搬送方向の下流側に配置されるワーク搬出領域と、焼入処理済みのワークを前記焼入室から前記ワーク搬出領域に移動する搬出装置と、前記前室の内部気体を吸引して負圧状態とする前室負圧生成装置と、負圧状態となる前記前室にパージガスを供給して、前記前室を常圧又は常圧よりも高圧下に復圧状態とするパージガス供給装置と、前記焼入室の内部気体を吸引して負圧状態とする焼入室負圧生成装置と、負圧状態となる前記焼入室にパージガスを供給して、前記焼入室を常圧又は常圧よりも高圧下に復圧状態とする焼入室パージガス供給装置と、を備えることを特徴とする。
【0008】
本発明のガス浸炭装置において、前記浸炭室は、上流から下流に向かって、前記前室から搬送されたワークを予め設定された浸炭温度に昇温する昇温処理を行うための昇温区間と、前記昇温区間を通過したワークに、前記キャリアガス及び前記浸炭ガスを供給する浸炭区間と、前記浸炭区間を通過したワークに侵入した炭素を拡散させ、ワークに所望の厚みの硬化層を形成するための拡散処理を行うための拡散区間と、を有しており、前記昇温区間、前記浸炭区間、及び前記拡散区間のそれぞれにワークが同時に配置可能であることを特徴とする。
【0009】
本発明のガス浸炭装置において、前記浸炭室は、前記浸炭区間よりも上流側及び下流側において、前記浸炭室の内部の気体を排気するための排気路を有しており、前記排気路による前記気体の排気によって、前記浸炭区間に供給される前記キャリアガス及び前記浸炭ガスによってワークを浸炭した後の残留ガスが、前記昇温区間及び前記拡散区間に流れ込むことを特徴とする。
【0010】
本発明のガス浸炭装置において、前記浸炭室は、前記拡散区間を通過したワークを予め設定された焼入保持温度に降温する降温処理を行うための降温区間を有しており、前記昇温区間、前記浸炭区間、前記拡散区間、及び前記降温区間のそれぞれにワークが同時に配置可能であることを特徴とする。
(【0011】以降は省略されています)
この特許をJ-PlatPat(特許庁公式サイト)で参照する
関連特許
株式会社日本テクノ
ガス浸炭方法、ガス浸炭装置
1か月前
個人
フッ素樹脂塗装鋼板の保管方法
3か月前
株式会社カネカ
製膜装置
1か月前
株式会社京都マテリアルズ
めっき部材
1か月前
株式会社カネカ
製膜装置
1か月前
トヨタ自動車株式会社
治具
21日前
株式会社KSマテリアル
防錆組成物
4か月前
株式会社三愛工業所
アルミニウム材
6か月前
日本化学産業株式会社
複合めっき皮膜
3か月前
エドワーズ株式会社
真空排気システム
1か月前
台灣晶技股ふん有限公司
無電解めっき法
2か月前
東京エレクトロン株式会社
成膜方法
2か月前
日東電工株式会社
積層体の製造方法
6か月前
株式会社カネカ
気化装置及び製膜装置
1か月前
JFEスチール株式会社
鋼部品
3か月前
住友重機械工業株式会社
成膜装置
5か月前
株式会社内村
防食具、防食具の設置方法
2か月前
TOTO株式会社
構造部材
1か月前
株式会社アルバック
マスクユニット
1か月前
住友重機械工業株式会社
成膜装置
4か月前
東京エレクトロン株式会社
基板処理装置
5か月前
東京エレクトロン株式会社
基板処理装置
6か月前
信越半導体株式会社
真空蒸着方法
6か月前
DOWAサーモテック株式会社
浸炭方法
6か月前
黒崎播磨株式会社
溶射装置
1か月前
株式会社アルバック
基板ステージ装置
1か月前
日本コーティングセンター株式会社
炭化ホウ素被膜
1か月前
国立大学法人千葉大学
成膜装置及び成膜方法
2か月前
フジタ技研株式会社
被覆部材、及び、表面被覆金型
1か月前
株式会社デンソー
接合体
2か月前
株式会社アルバック
成膜装置、および搬送方法
3か月前
川崎重工業株式会社
水素遮蔽膜
3か月前
黒崎播磨株式会社
溶射用ランス
5か月前
ケニックス株式会社
蒸発源装置
2か月前
キヤノントッキ株式会社
成膜装置
6か月前
株式会社日本テクノ
ガス浸炭装置、浸炭室
1か月前
続きを見る
他の特許を見る