TOP
|
特許
|
意匠
|
商標
特許ウォッチ
Twitter
他の特許を見る
10個以上の画像は省略されています。
公開番号
2025133504
公報種別
公開特許公報(A)
公開日
2025-09-11
出願番号
2024031498
出願日
2024-03-01
発明の名称
表面処理装置
出願人
芝浦機械株式会社
代理人
弁理士法人酒井国際特許事務所
主分類
C23C
14/00 20060101AFI20250904BHJP(金属質材料への被覆;金属質材料による材料への被覆;化学的表面処理;金属質材料の拡散処理;真空蒸着,スパッタリング,イオン注入法,または化学蒸着による被覆一般;金属質材料の防食または鉱皮の抑制一般)
要約
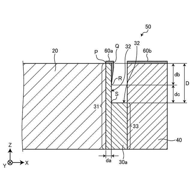
【課題】ターゲットとケースとの間に設けられた絶縁材の表面への着膜による、ターゲットとケースとの導通を防止して、電流リークの発生を抑制することが可能な表面処理装置を提供すること。
【解決手段】マグネトロンスパッタリング装置(表面処理装置)は、成膜する粒子を放出するターゲットと、ターゲットの外周縁に接触する絶縁材と、絶縁材の外周縁を保持して接地電位をなすケース(保持部材)と、ターゲットと対向する位置に設けられて、ターゲットが放出した粒子によって成膜される被処理材と、を備える。そして、絶縁材は、ターゲットの外周縁に接触する第1領域と、ケースと接触する側のうち、被処理材に面する側が、ケースの全周に亘って所定の段差深さで切り欠かれた第2領域と、ケースの内周縁に接触する第3領域とを有する。
【選択図】図5
特許請求の範囲
【請求項1】
成膜する粒子を放出するターゲットと、
前記ターゲットの外周縁に接触する絶縁材と、
前記絶縁材の外周縁を保持して接地電位をなす保持部材と、
前記ターゲットと対向する位置に設けられて、前記ターゲットが放出した粒子によって成膜される被処理材と、を備えて、
前記絶縁材は、前記ターゲットの外周縁に接触する第1領域と、前記保持部材と接触する側のうち、前記被処理材に面する側が、前記保持部材の全周に亘って所定の段差深さで切り欠かれた第2領域と、前記保持部材の内周縁に接触する第3領域と、を有する、
表面処理装置。
続きを表示(約 410 文字)
【請求項2】
前記段差深さは、前記ターゲットによって前記被処理材に成膜を行った際に、前記第2領域に生成される薄膜の回り込み量よりも深く設定される、
請求項1に記載の表面処理装置。
【請求項3】
成膜する粒子を放出するターゲットと、
前記ターゲットの外周縁に接触する絶縁材と、
前記絶縁材の外周縁を保持して接地電位をなす保持部材と、
前記ターゲットと対向する位置に設けられて、前記ターゲットが放出した粒子によって成膜される被処理材と、を備えて、
前記保持部材の、前記絶縁材と接触する側のうち、前記被処理材に面する側は、前記保持部材の内周縁の全周に亘って所定の段差で切り欠かれる、
表面処理装置。
【請求項4】
前記表面処理装置は、プラズマ処理またはスパッタリング処理を行うものである、
請求項1または請求項2に記載の表面処理装置。
発明の詳細な説明
【技術分野】
【0001】
本発明は、樹脂あるいはガラス等の被処理材に成膜を行う表面処理装置に関する。
続きを表示(約 1,900 文字)
【背景技術】
【0002】
マグネトロンスパッタリング法による成膜装置において,スパッタリングターゲット(以下、単にターゲットと呼ぶ)を備えた電極が用いられる(例えば、特許文献1)。
【先行技術文献】
【特許文献】
【0003】
特開2023-183725号公報
【発明の概要】
【発明が解決しようとする課題】
【0004】
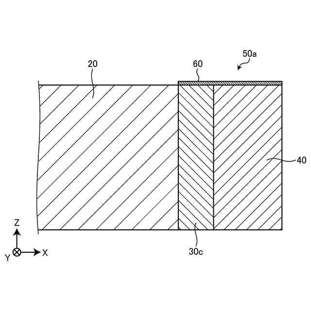
マグネトロンスパッタリングを行う場合、成膜を行うチャンバー内において、高電圧が印加されるターゲットと、接地された状態でターゲットを保持するケースと、の間では絶縁性が保たれる必要がある。そのため、ターゲットとケースとの間に絶縁材を設置することで絶縁を保つ構造が採用される。しかし、成膜プロセス中に、ターゲットから叩き出された粒子(例えば銅など)が絶縁材の表面に堆積して、導電性を持つ薄膜を形成する場合がある(図7参照)。これは、ターゲット表面の同一の場所から放出される粒子は、その放出角度に分布を持つため、放出された粒子の全てが、成膜対象である被処理材へと向かうわけではなく、周辺に散って被処理材以外にも付着するためである。このように、ターゲットとケースとを絶縁するために設けられた絶縁材に、導電性の膜が形成されると、この膜を通じてターゲットからケースに電流が流れてしまう、いわゆる電流リークが発生する。また、このとき電流路の厚さ(膜厚)は非常に薄いため、電流密度が高くなり異常放電の発生要因となる。成膜プロセス中にこのような異常放電が発生すると、形成される膜質も安定しなくなるため、品質のばらつきが発生する。
【0005】
本発明は上記に鑑みてなされたものであって、ターゲットとケースとの間に設けられた絶縁材の表面への着膜による、ターゲットとケースとの導通を防止して、電流リークの発生を抑制することが可能な表面処理装置を提供することを目的とする。
【課題を解決するための手段】
【0006】
上記した課題を解決し、目的を達成するために、本発明に係る表面処理装置は、成膜する粒子を放出するターゲットと、前記ターゲットの外周縁に接触する絶縁材と、前記絶縁材の外周縁を保持して接地電位をなす保持部材と、前記ターゲットと対向する位置に設けられて、前記ターゲットが放出した粒子によって成膜される被処理材と、を備えて、前記絶縁材は、前記ターゲットの外周縁に接触する第1領域と、前記保持部材に接触する側のうち、前記被処理材に面する側が、前記保持部材の全周に亘って所定の段差深さで切り欠かれた第2領域と、前記保持部材の内周縁に接触する第3領域と、を有することを特徴とする。
【発明の効果】
【0007】
本発明に係る表面処理装置は、ターゲットとケースとの間に設けられた絶縁材の表面への着膜を防止して、電流リークの発生を抑制することができる、という効果を奏する。
【図面の簡単な説明】
【0008】
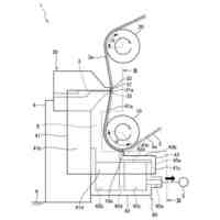
図1は、マグネトロンスパッタリング装置の概略構成の一例を示す図である。
図2は、実施形態のマグネトロンスパッタリング装置で用いられるターゲット電極の一例を示す斜視図である。
図3は、ターゲット電極の構造の一例を示す断面図である。
図4は、ターゲット電極における各部の締結に使用されるボルトの構造を示す図である。
図5は、ターゲット電極が備える絶縁材の形状の一例を示す図である。
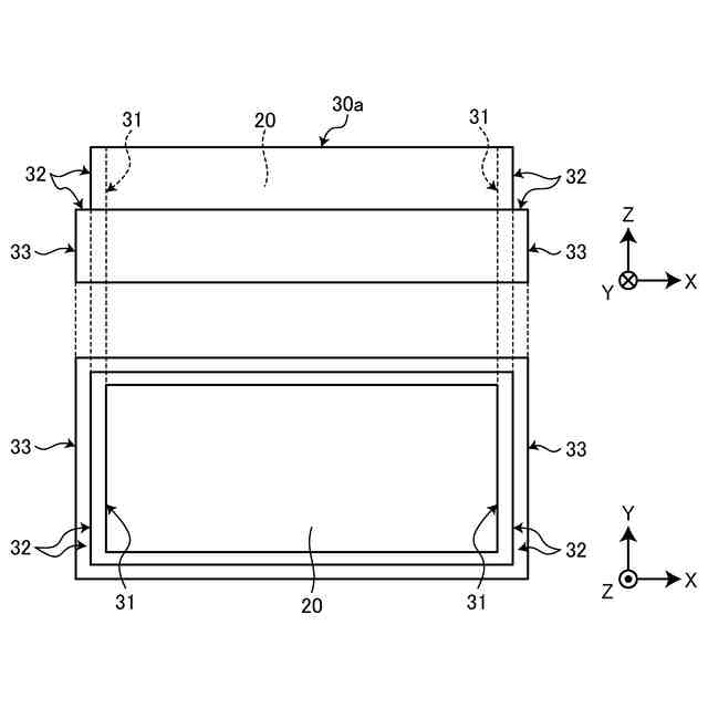
図6は、ターゲットとターゲットを取り囲む絶縁材の全体形状の一例を示す側面図および上面図である。
図7は、比較例のターゲット電極が備える絶縁材の形状の一例を示す図である。
図8は、絶縁材の段差深さのシミュレーション結果の一例を示す図である。
図9は、ターゲットの保持構造の変形例を示す図である。
【発明を実施するための形態】
【0009】
以下に、本開示に係る表面処理装置の実施形態を図面に基づいて詳細に説明する。なお、この実施形態によりこの発明が限定されるものではない。また、下記実施形態における構成要素には、当業者が置換可能、且つ、容易に想到できるもの、或いは実質的に同一のものが含まれる。
【0010】
(マグネトロンスパッタリング装置の概略構成)
図1を用いて、本開示の実施形態であるマグネトロンスパッタリング装置10の概略構成を説明する。図1は、マグネトロンスパッタリング装置の概略構成の一例を示す図である。
(【0011】以降は省略されています)
この特許をJ-PlatPat(特許庁公式サイト)で参照する
関連特許
芝浦機械株式会社
搬送装置及び搬送方法
5日前
芝浦機械株式会社
搬送装置及び搬送方法
5日前
芝浦機械株式会社
インゴット予熱装置及び溶解保持炉
1か月前
個人
フッ素樹脂塗装鋼板の保管方法
4か月前
株式会社京都マテリアルズ
めっき部材
2か月前
株式会社カネカ
製膜装置
2か月前
株式会社カネカ
製膜装置
2か月前
トヨタ自動車株式会社
治具
1か月前
株式会社KSマテリアル
防錆組成物
5か月前
株式会社三愛工業所
アルミニウム材
6か月前
株式会社オプトラン
蒸着装置
7か月前
エドワーズ株式会社
真空排気システム
1か月前
日本化学産業株式会社
複合めっき皮膜
4か月前
台灣晶技股ふん有限公司
無電解めっき法
3か月前
日東電工株式会社
積層体の製造方法
6か月前
東京エレクトロン株式会社
成膜方法
2か月前
株式会社カネカ
気化装置及び製膜装置
2か月前
JFEスチール株式会社
鋼部品
4か月前
TOTO株式会社
構造部材
2か月前
株式会社アルバック
マスクユニット
2か月前
信越半導体株式会社
真空蒸着方法
6か月前
DOWAサーモテック株式会社
浸炭方法
7か月前
住友重機械工業株式会社
成膜装置
6か月前
東京エレクトロン株式会社
基板処理装置
8か月前
東京エレクトロン株式会社
基板処理装置
6か月前
東京エレクトロン株式会社
基板処理装置
7か月前
住友重機械工業株式会社
成膜装置
5か月前
株式会社内村
防食具、防食具の設置方法
3か月前
株式会社アルバック
基板ステージ装置
2か月前
黒崎播磨株式会社
溶射装置
2か月前
株式会社デンソー
接合体
2か月前
フジタ技研株式会社
被覆部材、及び、表面被覆金型
2か月前
国立大学法人千葉大学
成膜装置及び成膜方法
3か月前
日本コーティングセンター株式会社
炭化ホウ素被膜
2か月前
信越化学工業株式会社
炭化金属被覆材料
19日前
株式会社アルバック
成膜装置、および搬送方法
4か月前
続きを見る
他の特許を見る