TOP
|
特許
|
意匠
|
商標
特許ウォッチ
Twitter
他の特許を見る
10個以上の画像は省略されています。
公開番号
2025135017
公報種別
公開特許公報(A)
公開日
2025-09-17
出願番号
2025115221,2021149154
出願日
2025-07-08,2021-09-14
発明の名称
射出成形機
出願人
芝浦機械株式会社
代理人
弁理士法人酒井国際特許事務所
主分類
B29C
45/17 20060101AFI20250909BHJP(プラスチックの加工;可塑状態の物質の加工一般)
要約
【課題】ノズルタッチロッドの付け外しの手間を生じさせることなく射出装置を旋回させることのできる射出成形機を提供すること。
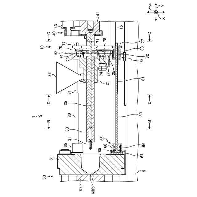
【解決手段】射出シリンダ30内で溶融した樹脂材料をノズル31から射出する射出装置10と、射出装置10が配置される基台15に対して、射出装置10を旋回自在に接続する旋回ピン25と、ノズル31から射出した樹脂材料の成形を行う金型63が取り付けられる固定ダイ61と、ノズル31から金型63に樹脂材料を射出する状態における射出シリンダ30の延在方向に平行に配置されて一端が固定ダイ61における射出装置10側の面に連結される複数のノズルタッチロッド80と、固定ダイ61から離間して配置されると共に固定ダイ61から離れた位置で複数のノズルタッチロッド80が接続され、且つ、旋回ピン25の軸線上に配置される接続ピン74により射出装置10が回動自在に接続されるハウジング70と、を備える。
【選択図】図5
特許請求の範囲
【請求項1】
内側にスクリュが配置される射出シリンダ内で樹脂材料を溶融し、溶融した前記樹脂材料をノズルから射出する射出装置と、
前記射出装置が配置される基台に対して、前記射出装置を旋回自在に接続する旋回ピンと、
前記ノズルから射出した前記樹脂材料の成形を行う金型が取り付けられる固定ダイと、
前記ノズルから前記金型に前記樹脂材料を射出する状態における前記射出シリンダの延在方向に平行に配置されて一端が前記固定ダイにおける前記射出装置側の面に連結される複数のノズルタッチロッドと、
前記固定ダイから離間して配置されると共に前記固定ダイから離れた位置で複数の前記ノズルタッチロッドが接続され、且つ、前記旋回ピンの軸線上に配置される接続ピンにより前記射出装置が回動自在に接続されるハウジングと、
を備え、
複数の前記ノズルタッチロッドは、前記射出シリンダよりも上側の位置と下側の位置とに配置されることを特徴とする射出成形機。
続きを表示(約 500 文字)
【請求項2】
複数の前記ノズルタッチロッドのそれぞれに形成されるねじ部と、
前記ノズルタッチロッドの前記ねじ部に螺合すると共に前記ハウジングに回転自在に支持され、前記ねじ部に対して回転することにより前記ハウジングと一体で前記ノズルタッチロッドの軸方向に移動する複数のナットと、
前記ナットと一体となって回転可能に複数の前記ナットのそれぞれに取り付けられる複数のプーリと、
前記ハウジングに取り付けられる駆動用電動機と、
複数の前記プーリに掛け回され、前記駆動用電動機から駆動力を各前記プーリに伝達することにより前記プーリを回転させる伝動ベルトと、
を備える請求項1に記載の射出成形機。
【請求項3】
前記ノズルタッチロッドを前記固定ダイに対して前記ノズルタッチロッドの延在方向に相対移動可能に連結するロッド連結部を備え、
前記ロッド連結部は、前記ノズルタッチロッドの延在方向における前記射出装置が位置する側から前記固定ダイが位置する側への付勢力を前記ノズルタッチロッドに付与する付勢部材を有する請求項1または2に記載の射出成形機。
発明の詳細な説明
【技術分野】
【0001】
本発明は、射出成形機に関する。
続きを表示(約 2,000 文字)
【背景技術】
【0002】
射出シリンダ内で溶融した樹脂を金型内に射出することにより成形を行う射出成形機の中には、溶融した樹脂を金型に対して射出する部分であるノズルを、金型に対して適切に接触させるノズルタッチ機構を備えているものがある。例えば、特許文献1に記載された射出成形機は、リアプラテン上に射出ユニット機を支持する複数のノズルタッチ用ガイドロッドを、エアシリンダを介して立設することにより、エアシリンダによってノズルタッチやスプルーブレイク動作を行わせている。
【0003】
また、射出成形機では、射出シリンダが水平方向に延びる形態のものもあるが、射出シリンダが水平方向に射出成形機の中には、高いメンテナンス性を考慮して構成されているものがある。例えば、特許文献2に記載された射出成形機は、基台と射出装置とを接続する支持ピンを中心として射出装置を旋回させることが可能になっており、これにより、溶融した樹脂を射出するノズルの確認時やメンテナンス時には、射出装置を旋回させることができる。
【先行技術文献】
【特許文献】
【0004】
特開平10-100199号公報
特開2010-111020号公報
【発明の概要】
【発明が解決しようとする課題】
【0005】
ここで、ノズルタッチ機構のノズルタッチ用のロッドは、射出シリンダが水平方向に延びる形態の射出成形機においても配置することがある。この場合、射出成形機に配置する複数のノズルタッチ用のロッドは、金型が取り付けられる固定ダイに対してロッドからの力が均等に作用するように、射出シリンダの延在方向に見た場合におけるノズルを中心とする同一円周上の均等の位置に、射出装置と固定ダイとの間に亘ってロッドは配置される。
【0006】
しかし、射出装置の旋回動作が可能な射出成形機にノズルタッチ用のロッドを配置する場合は、射出装置を旋回させる際に、射出装置と固定ダイとの間に配置されるロッドを取り外す必要があるが、射出装置を旋回させる際にロッドを取り外すのは、手間となってしまう。このため、射出装置の旋回が可能な射出成形機に、射出装置の旋回時におけるロッドの付け外しの手間を発生させることなくノズルタッチ用のロッドであるノズルタッチロッドを配置するのは、大変困難なものとなっていた。
【0007】
本発明は、上記に鑑みてなされたものであって、ノズルタッチロッドの付け外しの手間を生じさせることなく射出装置を旋回させることのできる射出成形機を提供することを目的とする。
【課題を解決するための手段】
【0008】
上述した課題を解決し、目的を達成するために、本発明に係る射出成形機は、内側にスクリュが配置される射出シリンダ内で樹脂材料を溶融し、溶融した前記樹脂材料をノズルから射出する射出装置と、前記射出装置が配置される基台に対して、前記射出装置を旋回自在に接続する旋回ピンと、前記ノズルから射出した前記樹脂材料の成形を行う金型が取り付けられる固定ダイと、前記ノズルから前記金型に前記樹脂材料を射出する状態における前記射出シリンダの延在方向に平行に配置されて一端が前記固定ダイにおける前記射出装置側の面に連結される複数のノズルタッチロッドと、前記固定ダイから離間して配置されると共に前記固定ダイから離れた位置で複数の前記ノズルタッチロッドが接続され、且つ、前記旋回ピンの軸線上に配置される接続ピンにより前記射出装置が回動自在に接続されるハウジングと、を備え、複数の前記ノズルタッチロッドは、前記射出シリンダよりも上側の位置と下側の位置とに配置される。
【発明の効果】
【0009】
本発明に係る射出成形機は、ノズルタッチロッドの付け外しの手間を生じさせることなく射出装置を旋回させることができる、という効果を奏する。
【図面の簡単な説明】
【0010】
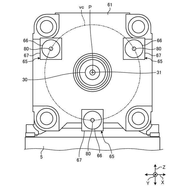
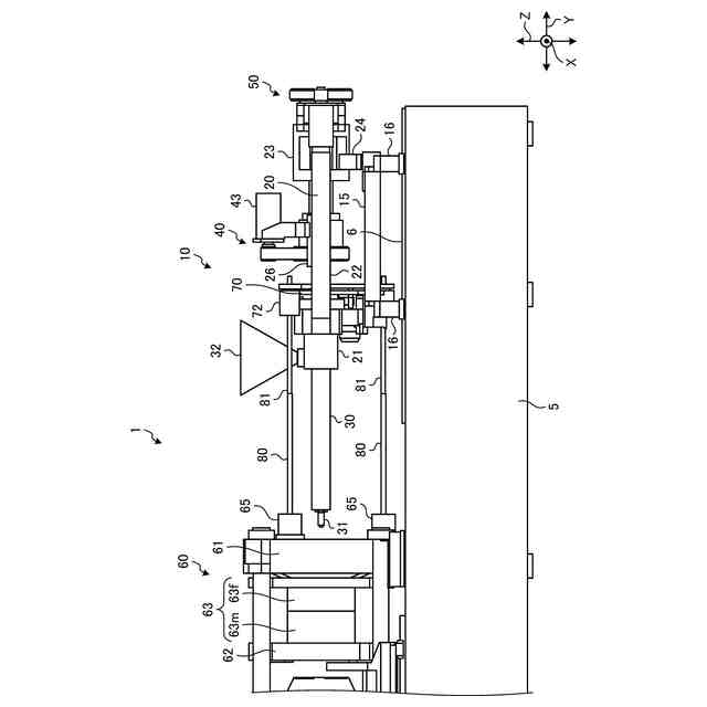
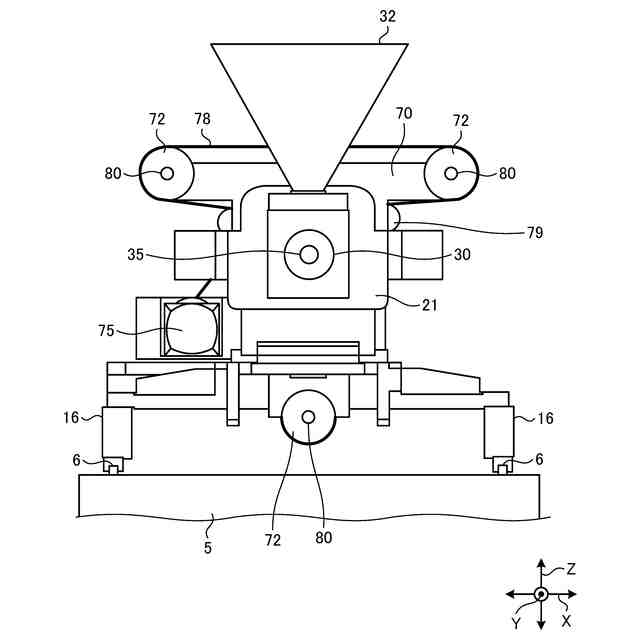
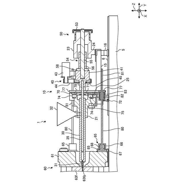
図1は、実施形態に係る射出成形機の要部斜視図である。
図2は、実施形態に係る射出成形機の要部側面図である。
図3は、実施形態に係る射出成形機の要部平面図である。
図4は、図3のA-A断面図である。
図5は、図4に示す射出ブラケット周りの詳細図である。
図6は、図5のB-B断面図である。
図7は、図5のC-C断面図である。
図8は、図5のD-D断面図である。
図9は、図4に示す射出装置を前進させた状態を示す説明図である。
図10は、旋回ピンと接続ピンを中心として射出装置を旋回させた状態を示す平面図である。
【発明を実施するための形態】
(【0011】以降は省略されています)
この特許をJ-PlatPat(特許庁公式サイト)で参照する
関連特許
芝浦機械株式会社
溶解保持炉
4日前
芝浦機械株式会社
成形システム
23日前
芝浦機械株式会社
インゴット予熱装置
2日前
芝浦機械株式会社
局部変圧装置及び成形機
18日前
芝浦機械株式会社
球状黒鉛鋳鉄製品の製造方法
11日前
芝浦機械株式会社
成形機用コントローラ及び成形機
18日前
芝浦機械株式会社
ガラス成形装置及び金型洗浄方法
1か月前
芝浦機械株式会社
ガラス成形装置及び金型洗浄方法
1か月前
芝浦機械株式会社
インゴット予熱装置及び溶解保持炉
2日前
芝浦機械株式会社
射出装置、成形機及び成形システム
23日前
芝浦機械株式会社
給湯装置、給湯システム及び成形システム
23日前
個人
気泡緩衝材減容装置
1か月前
東レ株式会社
吹出しノズル
11か月前
豊田鉄工株式会社
金型
3か月前
CKD株式会社
型用台車
10か月前
シーメット株式会社
光造形装置
10か月前
東レ株式会社
フィルムの製造方法
7か月前
東レ株式会社
フィルムの製造方法
4か月前
グンゼ株式会社
ピン
11か月前
東レ株式会社
フィルムの製造方法
4か月前
株式会社エフピコ
賦形シート
4日前
東レ株式会社
フィルムの製造方法。
3か月前
東レ株式会社
複合成形体の製造方法
26日前
個人
樹脂可塑化方法及び装置
9か月前
株式会社カワタ
計量混合装置
5か月前
株式会社FTS
ロッド
9か月前
日機装株式会社
加圧システム
6か月前
東レ株式会社
樹脂フィルムの製造方法
5か月前
NOK株式会社
樹脂ゴム複合体
2か月前
株式会社漆原
シートの成形方法
5か月前
株式会社FTS
成形装置
10か月前
トヨタ自動車株式会社
射出装置
8か月前
株式会社不二越
射出成形機
5か月前
株式会社FTS
セパレータ
9か月前
株式会社不二越
射出成形機
2か月前
株式会社不二越
射出成形機
7か月前
続きを見る
他の特許を見る