TOP
|
特許
|
意匠
|
商標
特許ウォッチ
Twitter
他の特許を見る
10個以上の画像は省略されています。
公開番号
2025166879
公報種別
公開特許公報(A)
公開日
2025-11-07
出願番号
2024071048
出願日
2024-04-25
発明の名称
インゴット予熱装置及び溶解保持炉
出願人
芝浦機械株式会社
代理人
個人
,
個人
,
個人
主分類
F27B
9/39 20060101AFI20251030BHJP(炉,キルン,窯;レトルト)
要約
【課題】エネルギー消費量を低減するインゴット予熱装置を提供する。
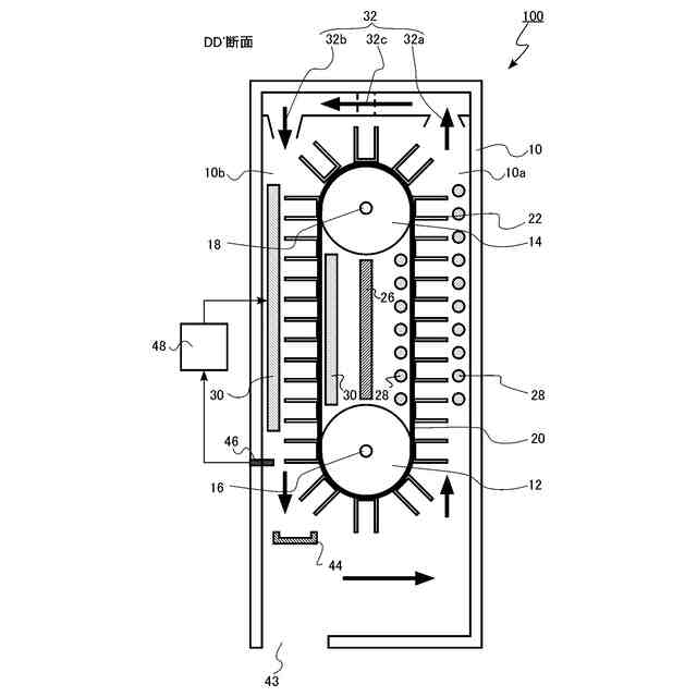
【解決手段】実施形態のインゴット予熱装置は、筐体と、筐体の中の下部に設けられた下部スプロケットと、筐体の中の上部に設けられた上部スプロケットと、筐体の中に設けられ、下部スプロケット及び上部スプロケットと組み合わされたチェーンと、チェーンに固定され、それぞれがインゴットを載置可能な複数のインゴット保持部と、下部スプロケット又は上部スプロケットを回転させる回転機構と、複数のインゴット保持部に載置されたインゴットを加熱するヒータと、筐体の下部の側面に設けられ、チェーンが上昇する筐体の中の第1の領域にインゴットを搬入可能なインゴット搬入口と、筐体の底面に設けられ、チェーンが下降する筐体の中の第2の領域から予熱されたインゴットを搬出可能なインゴット搬出口と、を備える。
【選択図】図1
特許請求の範囲
【請求項1】
筐体と、
前記筐体の中の下部に設けられた下部スプロケットと、
前記筐体の中の上部に設けられた上部スプロケットと、
前記筐体の中に設けられ、前記下部スプロケット及び前記上部スプロケットと組み合わされたチェーンと、
前記チェーンに固定され、それぞれがインゴットを載置可能な複数のインゴット保持部と、
前記下部スプロケット又は前記上部スプロケットを回転させる回転機構と、
前記複数のインゴット保持部に載置されたインゴットを加熱するヒータと、
前記筐体の下部の側面に設けられ、前記チェーンが上昇する前記筐体の中の第1の領域にインゴットを搬入可能なインゴット搬入口と、
前記筐体の底面に設けられ、前記チェーンが下降する前記筐体の中の第2の領域から予熱されたインゴットを搬出可能なインゴット搬出口と、
を備えることを特徴とするインゴット予熱装置。
続きを表示(約 1,000 文字)
【請求項2】
前記第2の領域の下部に設けられ、前記複数のインゴット保持部の中の一つから落下する前記予熱されたインゴットを受け止め、前記予熱されたインゴットを受け止めた後に傾斜して、前記インゴット搬出口から前記予熱されたインゴットを搬出する傾斜板を、更に備えることを特徴とする請求項1記載のインゴット予熱装置。
【請求項3】
前記傾斜板は、前記予熱されたインゴットの自重により傾斜することを特徴とする請求項2記載のインゴット予熱装置。
【請求項4】
前記チェーンの内側に設けられ、前記第1の領域と前記第2の領域とに区分する仕切り板と、
前記仕切り板の前記第1の領域の側に設けられ、前記ヒータの一部である第1のヒータと、
前記仕切り板の前記第2の領域の側に設けられ、前記ヒータの一部であり、前記第1のヒータと独立して制御可能な第2のヒータと、
前記筐体の中の上部に設けられ、前記第1の領域の上部に設けられた空気吸込口と、前記第2の領域の上部に設けられた空気吹出口とを有し、前記筐体の中の空気を循環させる空気循環機構と、
を更に備えることを特徴とする請求項1記載のインゴット予熱装置。
【請求項5】
前記第1のヒータは、電磁誘導加熱ヒータ又は近赤外線ヒータであることを特徴とする請求項4記載のインゴット予熱装置。
【請求項6】
前記第2のヒータは、抵抗加熱ヒータであることを特徴とする請求項5記載のインゴット予熱装置。
【請求項7】
前記下部スプロケットと前記上部スプロケットとの間の距離は、前記下部スプロケットの直径よりも大きいことを特徴とする請求項1記載のインゴット予熱装置。
【請求項8】
前記空気吹出口は、前記第2の領域の上部から前記第2の領域の下部に向けて空気を吹き出すことを特徴とする請求項4記載のインゴット予熱装置。
【請求項9】
前記第2の領域の下部の温度を測定する温度計を、更に備えることを特徴とする請求項4記載のインゴット予熱装置。
【請求項10】
制御回路を更に含み、前記制御回路は前記温度計による測定結果に基づき、前記第2のヒータに投入する電力を制御することを特徴とする請求項9記載のインゴット予熱装置。
(【請求項11】以降は省略されています)
発明の詳細な説明
【技術分野】
【0001】
本発明は、インゴットを溶解する前に予熱するインゴット予熱装置及び溶解保持炉に関する。
続きを表示(約 1,600 文字)
【背景技術】
【0002】
ダイカストマシンは、型締装置を用いて型締めされた金型の空洞に、射出装置を用いてインゴットを溶解して得られる溶湯を充填することで、ダイカスト品を製造する。ダイカスト品を製造する際に、最もエネルギー消費の大きい工程が、インゴットの溶解及び溶湯を保持する工程であるとされている。したがって、カーボンニュートラルを目指す現代社会において、インゴットの溶解及び溶湯を保持する工程におけるエネルギー消費量を低減することが望まれる。
【0003】
例えば、インゴットを溶解する前に予熱することで、インゴットを溶解する溶解炉又は保持炉の容量を小さくすることができる。溶解炉又は保持炉の容量を小さくすることで、インゴットの溶解や溶湯の保持に要するエネルギー消費量を低減できる。
【0004】
特許文献1には、水平方向にインゴットを搬送する際に、上下に設けられたヒータでインゴットを加熱するインゴット予熱装置が記載されている。例えば、特許文献1に記載のインゴット予熱装置では、加熱効率が必ずしも高くなく、インゴットの予熱の際に生じるエネルギー消費量が大きくなるおそれがある。
【先行技術文献】
【特許文献】
【0005】
特開2009-208107号公報
【発明の概要】
【発明が解決しようとする課題】
【0006】
本発明が解決しようとする課題は、エネルギー消費量を低減するインゴット予熱装置及び溶解保持炉を提供することである。
【課題を解決するための手段】
【0007】
本発明の一態様のインゴット予熱装置は、筐体と、前記筐体の中の下部に設けられた下部スプロケットと、前記筐体の中の上部に設けられた上部スプロケットと、前記筐体の中に設けられ、前記下部スプロケット及び前記上部スプロケットと組み合わされたチェーンと、前記チェーンに固定され、それぞれがインゴットを載置可能な複数のインゴット保持部と、前記下部スプロケット又は前記上部スプロケットを回転させる回転機構と、前記複数のインゴット保持部に載置されたインゴットを加熱するヒータと、前記筐体の下部の側面に設けられ、前記チェーンが上昇する前記筐体の中の第1の領域にインゴットを搬入可能なインゴット搬入口と、前記筐体の底面に設けられ、前記チェーンが下降する前記筐体の中の第2の領域から予熱されたインゴットを搬出可能なインゴット搬出口と、を備える。
【0008】
上記態様のインゴット予熱装置において、前記第2の領域の下部に設けられ、前記複数のインゴット保持部の中の一つから落下する前記予熱されたインゴットを受け止め、前記予熱されたインゴットを受け止めた後に傾斜して、前記インゴット搬出口から前記予熱されたインゴットを搬出する傾斜板を、更に備えることが好ましい。
【0009】
上記態様のインゴット予熱装置において、前記傾斜板は、前記予熱されたインゴットの自重により傾斜することが好ましい。
【0010】
上記態様のインゴット予熱装置において、前記チェーンの内側に設けられ、前記第1の領域と前記第2の領域とに区分する仕切り板と、前記仕切り板の前記第1の領域の側に設けられ、前記ヒータの一部である第1のヒータと、前記仕切り板の前記第2の領域の側に設けられ、前記ヒータの一部であり、前記第1のヒータと独立して制御可能な第2のヒータと、前記筐体の中の上部に設けられ、前記第1の領域の上部に設けられた空気吸込口と、前記第2の領域の上部に設けられた空気吹出口とを有し、前記筐体の中の空気を循環させる空気循環機構と、を更に備えることが好ましい。
(【0011】以降は省略されています)
この特許をJ-PlatPat(特許庁公式サイト)で参照する
関連特許
芝浦機械株式会社
溶解保持炉
16日前
芝浦機械株式会社
成形システム
1か月前
芝浦機械株式会社
インゴット予熱装置
14日前
芝浦機械株式会社
局部変圧装置及び成形機
1か月前
芝浦機械株式会社
球状黒鉛鋳鉄製品の製造方法
23日前
芝浦機械株式会社
成形機用コントローラ及び成形機
1か月前
芝浦機械株式会社
ガラス成形装置及び金型洗浄方法
1か月前
芝浦機械株式会社
ガラス成形装置及び金型洗浄方法
1か月前
芝浦機械株式会社
インゴット予熱装置及び溶解保持炉
14日前
芝浦機械株式会社
射出装置、成形機及び成形システム
1か月前
芝浦機械株式会社
給湯装置、給湯システム及び成形システム
1か月前
株式会社サンコー
浸漬ヒーター
2か月前
東京窯業株式会社
セッター
5か月前
中外炉工業株式会社
熱処理炉
1か月前
ノリタケ株式会社
冷却炉
1か月前
ノリタケ株式会社
加熱炉
1か月前
株式会社プロテリアル
スラグ除滓装置
11か月前
中外炉工業株式会社
処理炉
5か月前
株式会社クマガワ
加熱炉システム
1か月前
ノリタケ株式会社
連続加熱炉
7か月前
ファーネス重工株式会社
熱風循環炉
7か月前
ノリタケ株式会社
熱処理装置
4か月前
ノリタケ株式会社
熱処理装置
4か月前
ノリタケ株式会社
熱処理装置
3か月前
有限会社ヨコタテクニカ
リフロー炉
3か月前
株式会社不二越
搬送システム
6か月前
ノリタケ株式会社
連続加熱炉
7か月前
ノリタケ株式会社
連続加熱炉
7か月前
ノリタケ株式会社
熱処理装置
6か月前
中外炉工業株式会社
ダスト処理設備
22日前
ノリタケ株式会社
サヤ
5か月前
ノリタケ株式会社
熱処理装置
4か月前
ノリタケ株式会社
熱処理装置
4か月前
成都大学
合金粉末酸化防止熱処理装置
8か月前
中外炉工業株式会社
連続処理炉
6か月前
DiV株式会社
赤外線加熱装置
6か月前
続きを見る
他の特許を見る