TOP
|
特許
|
意匠
|
商標
特許ウォッチ
Twitter
他の特許を見る
公開番号
2025122674
公報種別
公開特許公報(A)
公開日
2025-08-22
出願番号
2024018225
出願日
2024-02-09
発明の名称
熱処理装置
出願人
ノリタケ株式会社
代理人
個人
,
個人
主分類
F27B
9/30 20060101AFI20250815BHJP(炉,キルン,窯;レトルト)
要約
【課題】ベルト間のシートの受け渡しを安定させる。
【解決手段】熱処理装置10は、第1ベルト30と、加熱炉20と、ローラ31と、第2ベルト40と、エア吹付装置50とを備えている。第1ベルト30は、予め定められた走行経路に沿って走行しシートAを搬送する。加熱炉20は、第1ベルト30の走行経路の一部を覆う。ローラ31は、走行経路において加熱炉20よりも下流側に設けられている。ローラ31は、第1ベルト30を折り返す。第2ベルト40は、ローラ31によって第1ベルト30が折り返される折り返し領域30aに近接して配置されている。エア吹付装置50は、折り返し領域30aにエアを吹き付ける。
【選択図】図2
特許請求の範囲
【請求項1】
予め定められた走行経路に沿って走行しシートを搬送する第1ベルトと、
前記第1ベルトの前記走行経路の一部を覆う加熱炉と、
前記走行経路において前記加熱炉よりも下流側に設けられ、前記第1ベルトを折り返すローラと、
前記ローラによって前記第1ベルトが折り返される折り返し領域に近接して配置された第2ベルトと、
前記折り返し領域にエアを吹き付けるエア吹付装置と
を備える、
熱処理装置。
続きを表示(約 920 文字)
【請求項2】
除電装置をさらに備え、
前記除電装置は、前記加熱炉の出口と、前記エア吹付装置がエアを吹き付ける位置との間において、前記シートおよび前記第1ベルトを除電する、請求項1に記載された熱処理装置。
【請求項3】
前記除電装置は、前記エアが吹き付けられる位置よりも上流側の前記折り返し領域において前記シートおよび前記第1ベルトを除電する、請求項2に記載された熱処理装置。
【請求項4】
前記除電装置は、前記第1ベルトの外側面に除電エアを送風する、請求項2または3に記載された熱処理装置。
【請求項5】
前記第1ベルトと前記第2ベルトの間には、隙間が形成されており、
前記エア吹付装置は、前記ローラの下方に配置されており、前記隙間に向かってエアを吹き付ける、請求項1~3のいずれか一項に記載された熱処理装置。
【請求項6】
前記エア吹付装置は、前記ローラに折り返される前記第1ベルトに沿って前記折り返し領域にエアを吹き付ける、請求項1~3のいずれか一項に記載された熱処理装置。
【請求項7】
前記エア吹付装置は、前記ローラに折り返される前記第1ベルトと交差する方向から前記折り返し領域にエアを吹き付ける、請求項1~3のいずれか一項に記載された熱処理装置。
【請求項8】
前記エア吹付装置は、前記ローラの内側に設けられており、前記ローラの内側から外側に向かって前記折り返し領域にエアを吹き付ける、請求項1~3のいずれか一項に記載された熱処理装置。
【請求項9】
前記加熱炉の出口と、前記エア吹付装置がエアを吹き付ける位置との間には、前記シートの通過を検知するセンサが設けられており、
前記エア吹付装置は、前記センサが検知する前記シートの通過に応じて間欠的に前記折り返し領域にエアを吹き付ける、請求項1~3のいずれか一項に記載された熱処理装置。
【請求項10】
前記第2ベルトは、前記ローラの回転軸の軸中心よりも下方に配置されている、請求項1~3のいずれか一項に記載された熱処理装置。
発明の詳細な説明
【技術分野】
【0001】
本開示は、熱処理装置に関する。
続きを表示(約 1,700 文字)
【背景技術】
【0002】
特開2006-077272号公報には、加熱炉と、炉内ガス導出経路と、燃焼室と、再生ガス導入経路と、ガス分析計とを備えた、金属多孔質焼結体の製造装置が開示されている。同公報に開示されている製造装置では、加熱炉の入口部から出口部に向けてグリーンシートを移動させるメッシュベルトが設けられている。
【先行技術文献】
【特許文献】
【0003】
特開2006-077272号公報
【発明の概要】
【発明が解決しようとする課題】
【0004】
ベルト上を搬送されつつ加熱処理されたシートは、加熱後に別のベルトに受け渡される場合がある。
【課題を解決するための手段】
【0005】
ここで開示される熱処理装置は、第1ベルトと、加熱炉と、ローラと、第2ベルトと、エア吹付装置とを備えている。第1ベルトは、予め定められた走行経路に沿って走行しシートを搬送する。加熱炉は、第1ベルトの走行経路の一部を覆う。ローラは、走行経路において加熱炉よりも下流側に設けられている。ローラは、第1ベルトを折り返す。第2ベルトは、ローラによって第1ベルトが折り返される折り返し領域に近接して配置されている。エア吹付装置は、折り返し領域にエアを吹き付ける。かかる熱処理では、ベルト間のシートの受け渡しが安定する。
【図面の簡単な説明】
【0006】
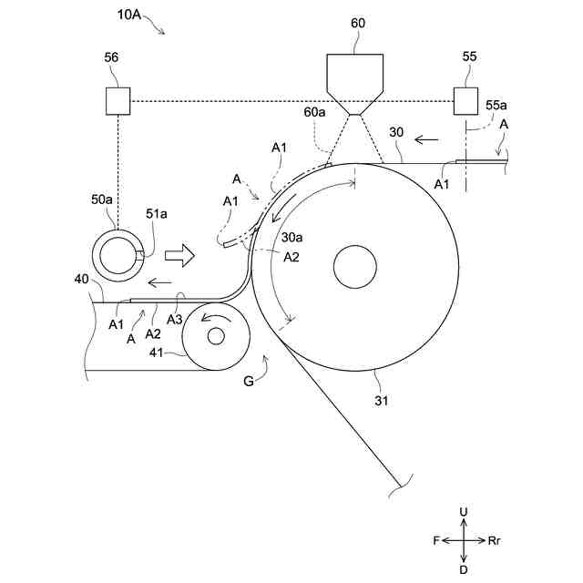
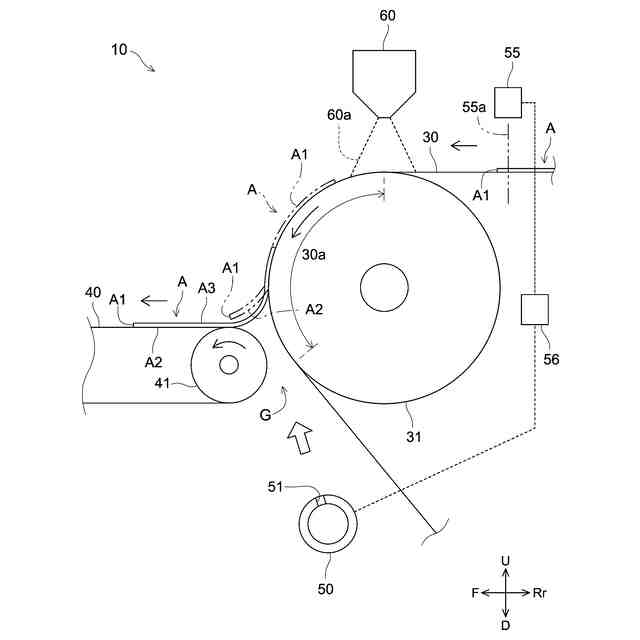
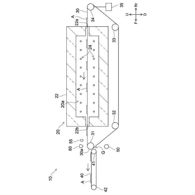
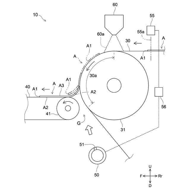
図1は、熱処理装置10を示す模式図である。
図2は、熱処理装置10を示す模式図である。
図3は、他の実施形態にかかる熱処理装置10Aの模式図である。
図4は、他の実施形態にかかる熱処理装置10Bの模式図である。
【発明を実施するための形態】
【0007】
以下、本開示における実施形態の1つについて、図面を参照しつつ詳細に説明する。なお、以下の図面においては、同じ作用を奏する部材・部位には同じ符号を付して説明している。また、各図における寸法関係(長さ、幅、厚み等)は実際の寸法関係を反映するものではない。上、下、左、右、前、後の向きは、図中、U、D、L、R、F、Rrの矢印でそれぞれ表されている。ここで、上、下、左、右、前、後の向きは、説明の便宜上、定められているに過ぎず、特に言及されない限りにおいて本願発明を限定しない。
【0008】
図1および図2は、熱処理装置10を示す模式図である。図1および図2では、シートAが搬送される方向は、矢印で示されている。図2では、第1ベルト30から第2ベルト40にシートAが受け渡される様子を示す模式的に示されている。図2では、エア吹付装置50から吹き付けられるエアの方向は、白抜き矢印で示されている。
【0009】
〈熱処理装置10〉
熱処理装置10は、図1に示されているように、第1ベルト30と、加熱炉20と、ローラ31と、第2ベルト40と、エア吹付装置50とを備えている。熱処理装置10は、除電装置60さらに備えている。熱処理装置10は、シート状の被処理物(以下、単に「シート」とも称する。)を搬送しつつ加熱処理するための装置である。熱処理装置10では、複数のシートAが順次搬送され、連続的に処理される。
【0010】
熱処理装置10で処理されるシート状の被処理物は、特に限定されない。シート状の被処理物は、例えば、樹脂成分を含んだ樹脂組成物でありうる。樹脂組成物は、例えば、シリコン樹脂、ポリイミド樹脂等であってもよい。樹脂組成物は、樹脂成分以外の材料を含んでいてもよい。樹脂組成物は、樹脂成分以外の材料として、例えば、無機フィラー、セラミック粉末等を含みうる。シートAの厚みは、特に限定されない。シートAの厚みは、例えば、10mm以下であり、1.0mm以下であってもよく、0.3mm以下であってもよい。シートAの厚みは、例えば、10μm以上であり、30μm以上であってもよく、50μm以上であってもよい。
(【0011】以降は省略されています)
この特許をJ-PlatPat(特許庁公式サイト)で参照する
関連特許
ノリタケ株式会社
洗浄装置
28日前
ノリタケ株式会社
焼成用治具
29日前
ノリタケ株式会社
焼成用治具
29日前
ノリタケ株式会社
熱処理容器
28日前
ノリタケ株式会社
棒材切断機
28日前
ノリタケ株式会社
研磨パッド
28日前
ノリタケ株式会社
担体構造体
29日前
ノリタケ株式会社
焼成用治具
29日前
ノリタケ株式会社
熱伝導シート
28日前
ノリタケ株式会社
導電性ペースト
28日前
ノリタケ株式会社
超砥粒ホイール
28日前
ノリタケ株式会社
焼成冷却システム
21日前
ノリタケ株式会社
静電容量タッチパネル
29日前
ノリタケ株式会社
静電容量タッチパネル
29日前
ノリタケ株式会社
封止用グリーンシート
28日前
ノリタケ株式会社
砥材及びその製造方法
29日前
ノリタケ株式会社
電気化学セル用ペースト
1か月前
ノリタケ株式会社
触媒材料およびその利用
29日前
ノリタケ株式会社
触媒材料およびその利用
29日前
ノリタケ株式会社
触媒材料およびその利用
29日前
ノリタケ株式会社
ガラス接合材及びその利用
28日前
ノリタケ株式会社
焼成用治具およびフレーム
29日前
ノリタケ株式会社
ガラス接合材及びその利用
28日前
ノリタケ株式会社
研磨パッド粗材の加工装置
28日前
ノリタケ株式会社
平面研削用レジンボンド砥石
28日前
ノリタケ株式会社
ロータリーキルン用の炉心管
29日前
ノリタケ株式会社
ガラス接合材およびその利用
28日前
ノリタケ株式会社
組立体の製造方法および組立体
28日前
ノリタケ株式会社
研磨パッド及びウェハ研磨方法
28日前
ノリタケ株式会社
研磨パッド及びウェハ研磨方法
28日前
ノリタケ株式会社
ロールコンパクション成形装置
28日前
ノリタケ株式会社
ロールコンパクション成形装置
28日前
ノリタケ株式会社
自動計量装置および自動計量方法
28日前
ノリタケ株式会社
半導体基板の研磨液及び研磨方法
28日前
ノリタケ株式会社
スラリーアイス洗浄装置用の管状部品
28日前
ノリタケ株式会社
研磨パッド及びウェハのノッチ研磨方法
28日前
続きを見る
他の特許を見る