TOP
|
特許
|
意匠
|
商標
特許ウォッチ
Twitter
他の特許を見る
公開番号
2025078255
公報種別
公開特許公報(A)
公開日
2025-05-20
出願番号
2023190691
出願日
2023-11-08
発明の名称
熱処理装置
出願人
ノリタケ株式会社
代理人
個人
,
個人
主分類
F27D
7/02 20060101AFI20250513BHJP(炉,キルン,窯;レトルト)
要約
【課題】被処理物を加熱処理する際の均熱性を向上させる。
【解決手段】熱処理装置10は、炉体20と、エア供給口30と、分散部材40とを備えている。炉体20は、一対の側壁23,24を有している。一対の側壁23,24は、被処理物Aが搬送されまたは置かれる処理空間20aを挟んで対向している。エア供給口30は、側壁23,24に設けられている。分散部材40は、複数の吹出孔41を有している。分散部材40は、エア供給口30から供給されたエアを分散させて、炉体20の処理空間20aに供給させる。
【選択図】図5
特許請求の範囲
【請求項1】
被処理物が搬送されまたは置かれる処理空間を挟んで対向する一対の側壁を有する炉体と、
前記側壁に設けられたエア供給口と、
複数の吹出孔を有し、前記エア供給口から供給されたエアを分散させて、前記炉体の前記処理空間に供給させる分散部材と
を備えた、
熱処理装置。
続きを表示(約 680 文字)
【請求項2】
前記分散部材と前記側壁の間には、前記エア供給口からエアが供給される供給空間が設けられている、請求項1に記載された熱処理装置。
【請求項3】
前記分散部材は、前記側壁の面方向に沿った供給面を備え、
前記複数の吹出孔は、前記供給面に形成されている、請求項1または2に記載された熱処理装置。
【請求項4】
前記エア供給口は、前記供給面と対向している、請求項3に記載された熱処理装置。
【請求項5】
前記複数の吹出孔は、前記エア供給口とは対向しない位置に設けられている、請求項4に記載された熱処理装置。
【請求項6】
前記供給面において、前記エア供給口と対向する対向位置の外側には、前記対向位置を囲うように前記吹出孔の開口密度が高い領域が設けられている、請求項5に記載された熱処理装置。
【請求項7】
前記側壁には、前記分散部材が配置される窪みが設けられており、
前記供給面は、前記側壁に沿って配置される、請求項3に記載された熱処理装置。
【請求項8】
前記複数の吹出孔は、前記被処理物が処理される領域と対向する範囲に設けられている、請求項1または2に記載された熱処理装置。
【請求項9】
前記側壁は、断熱材または耐火物から構成されている、請求項1または2に記載された熱処理装置。
【請求項10】
前記処理空間では、前記被処理物が置かれた状態で処理される、請求項1または2に記載された熱処理装置。
発明の詳細な説明
【技術分野】
【0001】
本開示は、熱処理装置に関する。
続きを表示(約 2,000 文字)
【背景技術】
【0002】
特開2010-216753号公報には、炉体の第1の側面側および第2の側面側のそれぞれに循環ファン、加熱ヒータおよび耐熱フィルタが配置された熱処理装置が開示されている。循環ファンは、循環熱風を発生させるように構成されている。加熱ヒータは、循環熱風を加熱するように構成されている。耐熱フィルタは、循環熱風を清浄化するように構成されている。耐熱フィルタとワークとの間には、熱風整流手段が配置されている。熱風整流手段は、第1の側面側からワークに供給される熱風の風量と、第2の側面側からワークに供給される熱風の風量とをそれぞれ調整するように構成されている。かかる熱処理装置では、第1の側面側からワークに供給される熱風の風量が、第2の側面側からワークに供給される熱風の風量と同じにならないように風量が調整されることによって、ワークの幅方向の中央部において温度が低下することが防止されるとされている。
【0003】
特開2020-190339号公報には、ハウジングと、メイン送風部と、熱風供給ユニットとを備える熱風加熱装置が開示されている。メイン送風部は、炉内に循環風を発生させる。熱風供給ユニットは、炉内を雰囲気加熱するヒータ部、メイン送風部とは別に設けられている。熱風供給ユニットは、被処理部材の加熱部位に対して熱風を送風可能に炉内に設けられる。熱風供給ユニットは、ヒータ部を通過する風の風速、風量、及び温度の少なくともいずれかを可変とする。かかる熱風加熱装置によると、熱風加熱装置全体としての消費エネルギーが低減されるとされている。
【先行技術文献】
【特許文献】
【0004】
特開2010-216753号公報
特開2020-190339号公報
【発明の概要】
【発明が解決しようとする課題】
【0005】
本発明者は、被処理物を加熱処理する際の均熱性を向上させたいと考えている。
【課題を解決するための手段】
【0006】
ここで開示される熱処理装置は、炉体と、エア供給口と、分散部材とを備えている。炉体は、被処理物が搬送されまたは置かれる処理空間を挟んで対向する一対の側壁を有している。エア供給口は、側壁に設けられている。分散部材は、複数の吹出孔を有している。分散部材は、エア供給口から供給されたエアを分散させて、炉体の処理空間に供給させる。かかる熱処理装置では、被処理物を加熱処理する際の均熱性が向上する。
【図面の簡単な説明】
【0007】
図1は、熱処理装置10を示す模式図である。
図2は、熱処理装置10を示す模式図である。
図3は、熱処理装置10の内部を示す模式図である。
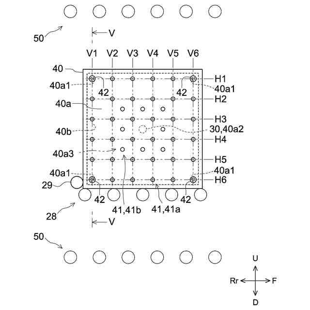
図4は、分散部材40の模式図である。
図5は、図4のV-V線に沿った断面図である。
【発明を実施するための形態】
【0008】
以下、本開示における実施形態の1つについて、図面を参照しつつ詳細に説明する。なお、以下の図面においては、同じ作用を奏する部材・部位には同じ符号を付して説明している。また、各図における寸法関係(長さ、幅、厚み等)は実際の寸法関係を反映するものではない。上、下、左、右、前、後の向きは、図中、U、D、L、R、F、Rrの矢印でそれぞれ表されている。ここで、上、下、左、右、前、後の向きは、説明の便宜上、定められているに過ぎず、特に言及されない限りにおいて本願発明を限定しない。
【0009】
図1および図2は、熱処理装置10を示す模式図である。図1では、後方から前方に向かって見た熱処理装置10の断面が模式的に示されている。図2では、上方から下方に向かって見た炉体20の断面が模式的に示されている。図2では、扉25aが開かれた状態は、破線で示されている。図2では、ヒータ50の図示は省略されている。図3は、熱処理装置10の内部を示す模式図である。図3では、左側から右側に向かって見た熱処理装置10の内部が模式的に示されている。
【0010】
〈熱処理装置10〉
熱処理装置10は、図1に示されているように、炉体20と、エア供給口30と、分散部材40とを備えている。熱処理装置10は、被処理物Aを加熱処理するための装置である。熱処理装置10では、シート状の被処理物Aが加熱処理される。熱処理装置10は、被処理物Aが処理される際に、被処理物Aが搬送されまたは置かれる処理空間20aが設けられた炉体20を備えている。熱処理装置10は、炉体20内で被処理物Aを加熱処理できる装置である限りにおいて、特に限定されない。この実施形態では、熱処理装置10は、いわゆるバッチ式の熱処理装置である。この実施形態では、処理空間20aでは、被処理物Aが置かれた状態で処理される。
(【0011】以降は省略されています)
この特許をJ-PlatPat(特許庁公式サイト)で参照する
関連特許
ノリタケ株式会社
洗浄装置
1か月前
ノリタケ株式会社
熱処理容器
1か月前
ノリタケ株式会社
棒材切断機
1か月前
ノリタケ株式会社
研磨パッド
1か月前
ノリタケ株式会社
熱伝導シート
1か月前
ノリタケ株式会社
超砥粒ホイール
1か月前
ノリタケ株式会社
導電性ペースト
1か月前
ノリタケ株式会社
焼成冷却システム
1か月前
ノリタケ株式会社
砥材及びその製造方法
2か月前
ノリタケ株式会社
封止用グリーンシート
1か月前
ノリタケ株式会社
ガラス接合材及びその利用
1か月前
ノリタケ株式会社
ガラス接合材及びその利用
1か月前
ノリタケ株式会社
研磨パッド粗材の加工装置
1か月前
ノリタケ株式会社
平面研削用レジンボンド砥石
1か月前
ノリタケ株式会社
ガラス接合材およびその利用
1か月前
ノリタケ株式会社
電動式コンクリートカッター
26日前
ノリタケ株式会社
研磨パッド及びウェハ研磨方法
1か月前
ノリタケ株式会社
ロールコンパクション成形装置
1か月前
ノリタケ株式会社
組立体の製造方法および組立体
1か月前
ノリタケ株式会社
ロールコンパクション成形装置
1か月前
ノリタケ株式会社
研磨パッド及びウェハ研磨方法
1か月前
ノリタケ株式会社
自動計量装置および自動計量方法
1か月前
ノリタケ株式会社
半導体基板の研磨液及び研磨方法
1か月前
ノリタケ株式会社
スラリーアイス洗浄装置用の管状部品
1か月前
ノリタケ株式会社
研磨パッド及びウェハのノッチ研磨方法
1か月前
ノリタケ株式会社
熱伝導体、ヒートスプレッダおよび放熱構造体
2か月前
ノリタケ株式会社
熱伝導体、ヒートスプレッダおよび放熱構造体
2か月前
ノリタケ株式会社
燃料極の評価方法および電気化学セルの製造方法
1か月前
ノリタケ株式会社
ウェハ研磨装置、研磨パッド及びウェハ研磨方法
1か月前
ノリタケ株式会社
固体酸化物形水電解セルの酸素極およびその製造方法
1か月前
ノリタケ株式会社
電気化学スタックの製造方法および電気化学スタック
1か月前
ノリタケ株式会社
放熱基板用接合材、放熱基板の製造方法および放熱基板
2か月前
ノリタケ株式会社
スラリーアイス洗浄装置およびスラリーアイス洗浄方法
1か月前
ノリタケ株式会社
スラリーアイス洗浄装置およびスラリーアイス洗浄方法
1か月前
ノリタケ株式会社
スラリーアイス洗浄装置およびスラリーアイス洗浄方法
1か月前
ノリタケ株式会社
銀粉末の評価方法、および該評価方法を含む銀粉末の製造方法
1か月前
続きを見る
他の特許を見る