TOP
|
特許
|
意匠
|
商標
特許ウォッチ
Twitter
他の特許を見る
公開番号
2025071825
公報種別
公開特許公報(A)
公開日
2025-05-09
出願番号
2023182169
出願日
2023-10-24
発明の名称
回転炉の異物検出装置
出願人
大同特殊鋼株式会社
代理人
個人
主分類
F27B
9/40 20060101AFI20250430BHJP(炉,キルン,窯;レトルト)
要約
【課題】バッフルと干渉するような大きさの異物のみを正確に検出することが可能な回転炉の異物検出装置を提供する。
【解決手段】回転移動する炉床42上に被処理物を載置して回転方向の適宜位置に設置されたバッフル411~415によって区画された複数の各ゾーンで必要な熱処理を行うようにした回転炉において、被処理物の抽出口44が設けられたゾーン内で、当該抽出口44よりも下流側に位置するバッフル415との間の空間を撮影するカメラ1と、当該カメラ1で得られた画像1aから通過物体の画像5aを取得する物体検出用AI部31と、通過物体までの距離を検出する距離検出器2と、検出された距離に基づき上記通過物体の画像5aからその高さPを検出し当該高さPが所定の閾値Th以上の時に上記通過物体を異物と判定する異物判定部32とを備える。
【選択図】 図1
特許請求の範囲
【請求項1】
回転移動する炉床上に被処理物を載置して回転方向の適宜位置に設置されたバッフルによって区画された複数の各ゾーンで必要な熱処理を行うようにした回転炉において、前記被処理物の抽出口が設けられたゾーン内で、当該抽出口よりも下流側に位置するバッフルとの間の空間を撮影する撮像手段と、当該撮像手段で得られた画像から通過物体の画像を取得する物体検出用AI部と、通過物体までの距離を検出する距離検出手段と、検出された距離に基づき前記通過物体の画像からその高さを検出し当該高さが所定の閾値以上の時に前記通過物体を異物と判定する異物判定部とを備える回転炉の異物検出装置。
続きを表示(約 160 文字)
【請求項2】
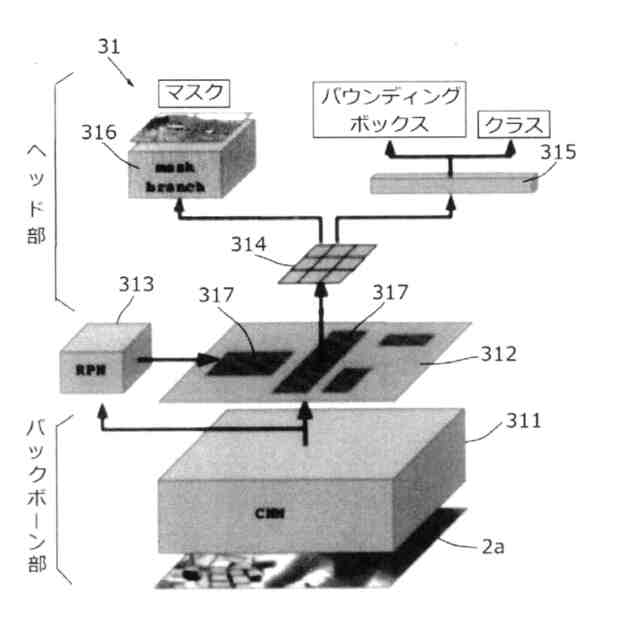
前記物体検出用AI部をMask R-CNNで構成した請求項1に記載の回転炉の異物検出装置。
【請求項3】
前記異物判定手段は、前記通過物体の画像の、高さ方向のピクセル値が所定の閾値以上の時に前記通過物体を異物と判定するものである請求項1又は2に記載の回転炉の異物検出装置。
発明の詳細な説明
【技術分野】
【0001】
本発明は回転炉の異物検出装置に関し、特に炉床上に落下した耐火物等の異物を検出する異物検出装置に関する。
続きを表示(約 1,800 文字)
【背景技術】
【0002】
回転炉の一例を図8に示す。図8は回転炉4の概略水平断面図で、環状の炉体41内は周方向へ複数のバッフル(ガラス繊維製の仕切り壁)411~415によって、それぞれ異なる熱処理を行う複数のゾーンに区画されている。被処理物は回転移動する炉床42上に載置されて各ゾーンを通過し、この間に必要な熱処理がなされる。回転方向の隣接したゾーンの一方に装入口43が設けられ、他方に抽出口44が設けられて、被処理物が挿入口43から炉内へ挿入され、回転炉床42に載置されて一周し抽出口44から取り出される。
【0003】
各バッフル411~414はその下方の炉床42との間に被処理物が通過するに十分な隙間が確保されているが、抽出ゾーンと装入ゾーンを区画するバッフル(以下、隔離バッフルという)415の下方は被処理物が通過しないために炉床42との間の隙間が小さくなっており、移動する炉床42上に落下した比較的大きい耐火物等の異物が隔離バッフル415に衝突してこれを破損することがあった。そこで、特許文献1に示されるような監視カメラを設けて炉内の監視をしている。
【先行技術文献】
【特許文献】
【0004】
特開2015-169365
【発明の概要】
【発明が解決しようとする課題】
【0005】
しかし、炉内は温度変化が大きい上に、移動炉床42上に飛散スケールが堆積する等によってカメラ画像の輝度が大きく変動するため、隔離バッフル415と干渉するような大きさの異物のみを正確に検出することは困難であるという問題があった。
【0006】
そこで、本発明はこのような課題を解決するもので、バッフルと干渉するような大きさの異物のみを正確に検出することが可能な回転炉の異物検出装置を提供することを目的とする。
【課題を解決するための手段】
【0007】
上記目的を達成するために、本発明では、回転移動する炉床(42)上に被処理物を載置して回転方向の適宜位置に設置されたバッフル(411~415)によって区画された複数の各ゾーンで必要な熱処理を行うようにした回転炉において、前記被処理物の抽出口(44)が設けられたゾーン内で、当該抽出口(44)よりも下流側に位置するバッフル(415)との間の空間を撮影する撮像手段(1)と、当該撮像手段(1)で得られた画像(1a)から通過物体の画像(5a)を取得する物体検出用AI部(31)と、通過物体までの距離を検出する距離検出手段(2)と、検出された距離に基づき前記通過物体の画像(5a)からその高さ(P)を検出し当該高さ(P)が所定の閾値(Th)以上の時に前記通過物体を異物と判定する異物判定部(32)とを備える。
ここで、前記物体検出用AI部をMask R-CNNで構成するのが好ましいが、これに限られるものではない。
また、前記異物判定手段(32)は、前記通過物体の画像(5a)の、高さ方向のピクセル値(P)が所定の閾値(Th)以上の時に前記通過物体を異物と判定するものであることが好ましい。
【0008】
上記カッコ内の符号は、後述する実施形態に記載の具体的手段との対応関係を参考的に示すものである。
【発明の効果】
【0009】
以上のように、本発明に係る回転炉の異物検出装置は、バッフルと干渉するような大きさの異物のみを正確に検出して報知することにより、バッフルの損傷等を未然に防止することができる。
【図面の簡単な説明】
【0010】
異物検出装置の全体構成を示す図である。
回転炉の炉体に対するカメラとレーザ式距離測定器の配置を示す概略垂直断面図である。
Mask R-CNNの概念的構成を示す図である。
Mask R-CNNの学習過程を示すフローチャートである。
訓練データの一例を示す図である。
異物検出装置の処理装置の処理手順を示すフローチャートである。
物体画像の一例を示す図である
回転炉の概略水平断面図である。
【発明を実施するための形態】
(【0011】以降は省略されています)
この特許をJ-PlatPat(特許庁公式サイト)で参照する
関連特許
大同特殊鋼株式会社
放熱材料
1か月前
大同特殊鋼株式会社
軟磁性合金
2か月前
大同特殊鋼株式会社
疵判定方法
2か月前
大同特殊鋼株式会社
軟磁性材料
19日前
大同特殊鋼株式会社
棒材計数方法
2か月前
大同特殊鋼株式会社
炉蓋の支持構造
2か月前
大同特殊鋼株式会社
介在物評価方法
2か月前
大同特殊鋼株式会社
超音波探傷方法
3か月前
大同特殊鋼株式会社
超音波検査方法
1か月前
大同特殊鋼株式会社
電磁攪拌制御方法
1か月前
大同特殊鋼株式会社
丸棒体の本数計数方法
1か月前
大同特殊鋼株式会社
金属碑及びその製造方法
1か月前
大同特殊鋼株式会社
含クロム溶鋼の精錬方法
1か月前
大同特殊鋼株式会社
マルエージング鋼及び粉末
4日前
大同特殊鋼株式会社
熱処理設備および浸炭焼入れ方法
2か月前
大同特殊鋼株式会社
アレイ探触子の振動子劣化検出方法
13日前
大同特殊鋼株式会社
計測データ入力方法及びそのシステム
1か月前
大同特殊鋼株式会社
軟磁性合金および軟磁性合金の製造方法
4日前
大同特殊鋼株式会社
軟磁性合金および軟磁性合金の製造方法
4日前
大同特殊鋼株式会社
連続鋳造装置のブレークアウト弁別方法
1か月前
大同特殊鋼株式会社
結晶組織評価方法および結晶組織評価装置
1か月前
大同特殊鋼株式会社
浸炭時の粗大粒防止特性に優れた肌焼鋼材
1か月前
大同特殊鋼株式会社
レーザ積層造形用粉末およびその製造方法
2か月前
大同特殊鋼株式会社
高強度高熱伝導率鉄基合金積層造形体の製造方法
1か月前
大同特殊鋼株式会社
変位量測定治具およびピーリングマシンにおける芯出し方法
2か月前
株式会社サンコー
浸漬ヒーター
2か月前
東京窯業株式会社
セッター
6か月前
中外炉工業株式会社
熱処理炉
2か月前
株式会社プロテリアル
スラグ除滓装置
11か月前
ノリタケ株式会社
加熱炉
2か月前
ノリタケ株式会社
冷却炉
2か月前
中外炉工業株式会社
処理炉
5か月前
株式会社クマガワ
加熱炉システム
1か月前
ノリタケ株式会社
熱処理装置
4か月前
ノリタケ株式会社
熱処理装置
4か月前
ノリタケ株式会社
サヤ
5か月前
続きを見る
他の特許を見る