TOP
|
特許
|
意匠
|
商標
特許ウォッチ
Twitter
他の特許を見る
10個以上の画像は省略されています。
公開番号
2025152133
公報種別
公開特許公報(A)
公開日
2025-10-09
出願番号
2024053883
出願日
2024-03-28
発明の名称
熱処理設備および浸炭焼入れ方法
出願人
大同特殊鋼株式会社
代理人
個人
,
個人
,
個人
主分類
C21D
1/00 20060101AFI20251002BHJP(鉄冶金)
要約
【課題】多段積み状態で一度に浸炭処理された被処理品群をガス焼入れもしくはプレスクエンチする場合の問題点を解消もしくは軽減することが可能な熱処理設備を提供する。
【解決手段】熱処理設備1は、真空チャンバ2と、真空チャンバ2の内部に並設された複数の浸炭室5と、被処理品Wを収容し所定の温度で保持する焼入前保持室7と、焼入前保持室7に隣接する搬送室8と、搬送室8に隣接するガス焼入室9と、を備えている。真空チャンバ2の内部に設けられた第1被処理品搬送機構64は、トレー61を介して複数段に重ねられた状態の被処理品Wを浸炭室5および焼入前保持室7に搬送する。搬送室8の内部に設けられた第2被処理品搬送機構74は、焼入前保持室7にて複数段に重ねられた状態の被処理品Wをトレー毎に分離して、ガス焼入室9に搬送する。
【選択図】 図1
特許請求の範囲
【請求項1】
金属製の被処理品の熱処理を行う熱処理設備であって、
真空チャンバと、
該真空チャンバの内部に並設された複数の浸炭室と、
前記被処理品を収容し所定の温度で保持する焼入前保持室と、
前記焼入前保持室に隣接する搬送室と、
前記搬送室に隣接するガス焼入室または復圧室と、
前記真空チャンバの内部に設けられ、前記浸炭室および前記焼入前保持室との間で前記被処理品を受渡しする第1被処理品搬送機構と、
前記搬送室の内部に設けられ、前記焼入前保持室、および、前記ガス焼入室または復圧室との間で前記被処理品を受渡しする第2被処理品搬送機構と、
を備え、
前記第1被処理品搬送機構は、トレーを介して複数段に重ねられた状態の前記被処理品を前記浸炭室および前記焼入前保持室に搬送するための動作制御を行う第1制御部を有し、
前記第2被処理品搬送機構は、前記焼入前保持室にて複数段に重ねられた状態の前記被処理品をトレー毎に分離して、前記ガス焼入室または復圧室に搬送するための動作制御を行う第2制御部を有する、熱処理設備。
続きを表示(約 290 文字)
【請求項2】
加熱手段および冷却手段を有し、前記浸炭室で処理された前記被処理品に対し熱処理を行なう第2加熱室が前記真空チャンバの内部に更に設けられている、請求項1に記載の熱処理設備。
【請求項3】
請求項1に記載の熱処理設備を用いて浸炭焼入れを行う方法であって、
トレーを介して複数段に重ねられた状態の前記被処理品を前記浸炭室に装入し、真空浸炭処理を施すステップと、
前記真空浸炭処理の後、複数段に重ねられた状態の前記被処理品をトレー毎に分離して順次前記ガス焼入室または前記復圧室に搬送するステップと、を備えている、浸炭焼入れ方法。
発明の詳細な説明
【技術分野】
【0001】
この発明は金属製の被処理品の熱処理を行う熱処理設備およびこの熱処理設備を用いた浸炭焼入れ方法に関する。
続きを表示(約 2,300 文字)
【背景技術】
【0002】
近年、歪低減や後洗浄工程の省略によるコストダウンを目的として、不活性ガスを用いたガス焼入れが採用されている。例えば、下記特許文献1ではトレー上に載せた被処理品(鋼部品材料等)に対し浸炭からガス焼入れまでの一連の処理を行なう真空焼入れ処理設備が開示されている。ガス焼入れについては、従来の油焼入れ対比で焼入れ性が劣るため、ガス焼入れを適用できる被処理品が限定されてしまう問題があり、下記特許文献1ではガス冷却室と液冷却室の両方を備え、ガス焼入れもしくは油焼入れの何れかを選択して実施できるように構成されている。
【先行技術文献】
【特許文献】
【0003】
特開2015-209554号公報
【発明の概要】
【発明が解決しようとする課題】
【0004】
ところで焼入れ処理の上流工程である浸炭処理においては、多くの被処理品を複数段に重ねた状態で一度に処理することが製造効率を高める観点から有効である。しかしながら浸炭処理の場合と同様の多段積み状態でガス焼入れを実施した場合には、十分な冷却速度が得られず焼入れ性の低下を招いてしまう。
また浸炭処理に続く焼入れとしてプレスクエンチを実施する場合もあるが、プレスクエンチを実施するには被処理品を1個ずつ流して焼入れする必要があり、多くの被処理品を一度に浸炭処理した場合は、プレスクエンチ装置に順次搬送されるのを待つ過程で被処理品Wが外気に晒される時間が長くなり、プレスクエンチ実施前の被処理品に脱炭や温度分布のばらつきといった不具合が生じてしまう。
【0005】
本発明は以上のような事情を背景とし、多段積み状態で一度に浸炭処理された被処理品群をガス焼入れもしくはプレスクエンチする場合の問題点を解消もしくは軽減することが可能な熱処理設備を提供することを目的とする。
【課題を解決するための手段】
【0006】
而してこの発明の第1の局面の熱処理設備は次のように規定される。即ち、
金属製の被処理品の熱処理を行う熱処理設備であって、
真空チャンバと、
該真空チャンバの内部に並設された複数の浸炭室と、
前記被処理品を収容し所定の温度で保持する焼入前保持室と、
前記焼入前保持室に隣接する搬送室と、
前記搬送室に隣接するガス焼入室または復圧室と、
前記真空チャンバの内部に設けられ、前記浸炭室および前記焼入前保持室との間で前記被処理品を受渡しする第1被処理品搬送機構と、
前記搬送室の内部に設けられ、前記焼入前保持室、および、前記ガス焼入室または復圧室との間で前記被処理品を受渡しする第2被処理品搬送機構と、
を備え、
前記第1被処理品搬送機構は、トレーを介して複数段に重ねられた状態の前記被処理品を前記浸炭室および前記焼入前保持室に搬送するための動作制御を行う第1制御部を有し、
前記第2被処理品搬送機構は、前記焼入前保持室にて複数段に重ねられた状態の前記被処理品をトレー毎に分離して、前記ガス焼入室または復圧室に搬送するための動作制御を行う第2制御部を有する。
【0007】
このように規定された第1の局面の熱処理設備では、多段積み状態で一度に浸炭処理された被処理品群を、第2被処理品搬送機構を用いてトレー毎に分離させて、1つのトレーに載っている少量の被処理品を順次下流側のガス焼入室または復圧室に供給することができるため、多段積み状態で一度に浸炭処理された被処理品群をガス焼入れもしくはプレスクエンチする場合の問題点を解消もしくは軽減することができる。
【0008】
ここで、加熱手段および冷却手段を有し、前記浸炭室(第1加熱室)で処理された前記被処理品に対し熱処理を行なう第2加熱室を、前記真空チャンバの内部に更に設けることができる(第2の局面)。このようにすれば、浸炭された被処理品に対する中間冷却および再加熱を引き続き実行することができる。
【0009】
この発明の第3の局面の浸炭焼入れ方法は次のように規定される。即ち、
第1の局面に記載の熱処理設備を用いて浸炭焼入れを行う方法であって、
トレーを介して複数段に重ねられた状態の前記被処理品を前記浸炭室に装入し、真空浸炭処理を施すステップと、
前記真空浸炭処理の後、複数段に重ねられた状態の前記被処理品をトレー毎に分離して順次前記ガス焼入室または前記復圧室に搬送するステップと、を備えている。
このように規定された第3の局面の浸炭焼入れ方法によれば、第1の局面と同等の効果を奏する。
【図面の簡単な説明】
【0010】
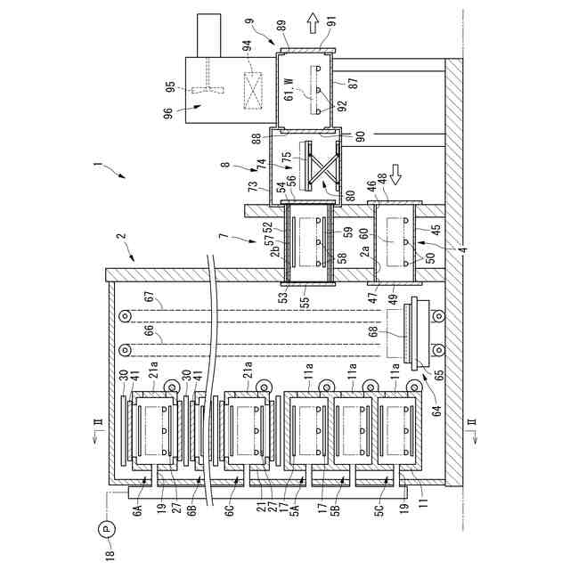
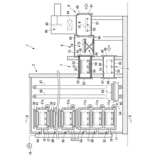
本発明の一実施形態の熱処理設備の概略全体構成を示した図である。
図1の熱処理設備におけるII-II断面図である。
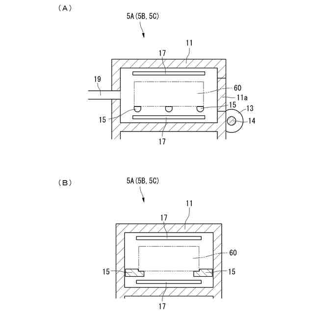
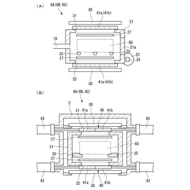
(A)は図1の浸炭室を拡大して示した図である。(B)は図2の浸炭室を拡大して示した図である。
(A)は図1の第2加熱室を拡大して示した図である。(B)は図2の第2加熱室を拡大して示した図である。
複数の被処理品Wを保持するトレー積層体を示した図である。
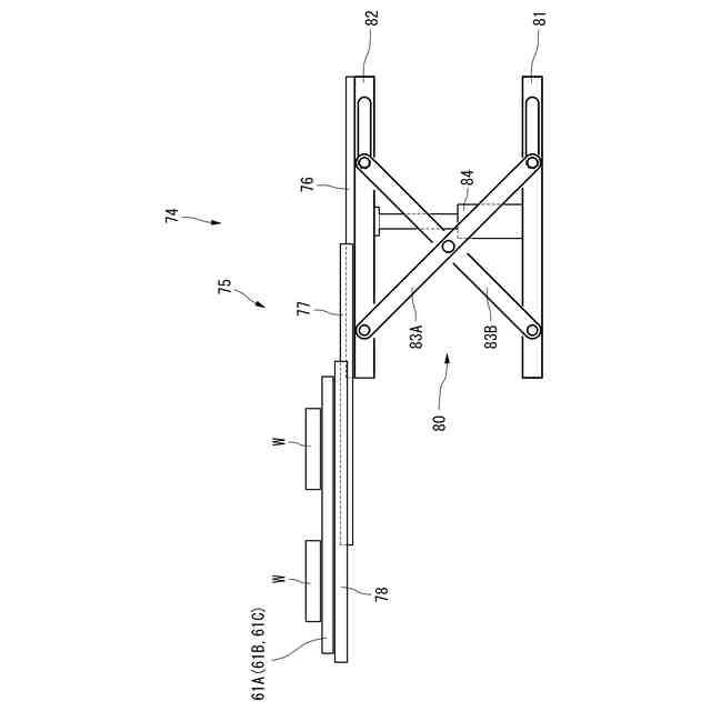
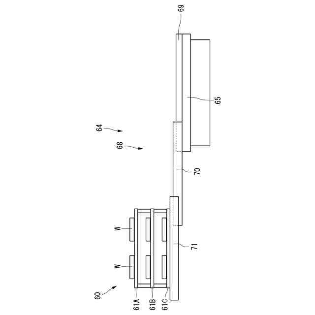
第1被処理品搬送機構についての説明図である。
第2被処理品搬送機構についての説明図である。
浸炭焼入れのヒートパターンの一例を示した図である。
ガス焼入室に代えて復圧室を設けた変形例についての説明図である。
【発明を実施するための形態】
(【0011】以降は省略されています)
この特許をJ-PlatPat(特許庁公式サイト)で参照する
関連特許
大同特殊鋼株式会社
触媒合金
2か月前
大同特殊鋼株式会社
放熱材料
16日前
大同特殊鋼株式会社
軟磁性合金
24日前
大同特殊鋼株式会社
疵判定方法
1か月前
大同特殊鋼株式会社
棒材計数方法
24日前
大同特殊鋼株式会社
鋼材及び金型
2か月前
大同特殊鋼株式会社
炉蓋の支持構造
1か月前
大同特殊鋼株式会社
雰囲気熱処理炉
2か月前
大同特殊鋼株式会社
超音波探傷方法
1か月前
大同特殊鋼株式会社
介在物評価方法
24日前
大同特殊鋼株式会社
電磁攪拌制御方法
11日前
大同特殊鋼株式会社
丸棒体の本数計数方法
19日前
大同特殊鋼株式会社
金属粉末の定量評価方法
2か月前
大同特殊鋼株式会社
金属碑及びその製造方法
3日前
大同特殊鋼株式会社
含クロム溶鋼の精錬方法
6日前
大同特殊鋼株式会社
連続式真空ホットプレス装置
1か月前
大同特殊鋼株式会社
熱処理設備および浸炭焼入れ方法
24日前
大同特殊鋼株式会社
磁性線材および磁性線材の製造方法
2か月前
大同特殊鋼株式会社
磁性線材および磁性線材の製造方法
2か月前
大同特殊鋼株式会社
計測データ入力方法及びそのシステム
10日前
大同特殊鋼株式会社
連続鋳造装置のブレークアウト弁別方法
3日前
大同特殊鋼株式会社
レーザ積層造形用粉末およびその製造方法
24日前
大同特殊鋼株式会社
結晶組織評価方法および結晶組織評価装置
17日前
大同特殊鋼株式会社
浸炭時の粗大粒防止特性に優れた肌焼鋼材
17日前
大同特殊鋼株式会社
溶解原料予熱装置および予熱装置付きアーク溶解炉
3か月前
大同特殊鋼株式会社
変位量測定治具およびピーリングマシンにおける芯出し方法
1か月前
大同特殊鋼株式会社
合金特性予測補助方法、合金特性予測補助装置、合金特性予測補助プログラム
2か月前
個人
バイオ水素製鉄方法
2か月前
新和環境株式会社
炉システム
7か月前
新和環境株式会社
炉システム
7か月前
株式会社戸畑製作所
高炉用羽口
9か月前
日本製鉄株式会社
転炉精錬方法
1か月前
日本製鉄株式会社
転炉精錬方法
7か月前
日本製鉄株式会社
溶鉄の製造方法
25日前
日本製鉄株式会社
溶鋼の製造方法
8か月前
日本製鉄株式会社
溶銑の脱硫方法
9か月前
続きを見る
他の特許を見る