TOP
|
特許
|
意匠
|
商標
特許ウォッチ
Twitter
他の特許を見る
公開番号
2025144725
公報種別
公開特許公報(A)
公開日
2025-10-03
出願番号
2024044555
出願日
2024-03-21
発明の名称
炉蓋の支持構造
出願人
大同特殊鋼株式会社
代理人
弁理士法人むつきパートナーズ
主分類
F27D
1/18 20060101AFI20250926BHJP(炉,キルン,窯;レトルト)
要約
【課題】 信頼性の高い取鍋精錬炉の炉蓋の支持構造の提供。
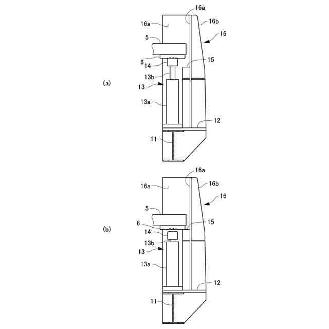
【解決手段】 取鍋精錬炉の取鍋の上部開口に炉蓋を配置させる支持構造である。取鍋の側周部から離間した位置にて鉛直方向に上下動するシリンダロッドと、シリンダロッドの移動経路外にあって炉蓋の下限移動位置を規定する係止片と、を含み、シリンダロッドは係止片と一組として取鍋の側周部近傍の複数位置に設けられ、シリンダロッドの頂部に炉蓋の周縁部に設けた受部を載置させて、炉蓋を取鍋の上部開口の鉛直線上にて上下移動を可能とさせ、受部を係止片の上に載置させるとともにシリンダロッドの頂部を受部の下方に離間させたときに、取鍋の上部開口の上側に所定間隔を設けた位置に炉蓋を配置させる。
【選択図】 図1
特許請求の範囲
【請求項1】
取鍋精錬炉の取鍋の上部開口に炉蓋を配置させる支持構造であって、
前記取鍋の側周部から離間した位置にて鉛直方向に上下動するシリンダロッドと、前記シリンダロッドの移動経路外にあって前記炉蓋の下限移動位置を規定する係止片と、を含み、
前記シリンダロッドは前記係止片と一組として前記取鍋の前記側周部近傍の複数位置に設けられ、前記シリンダロッドの頂部に前記炉蓋の周縁部に設けた受部を載置させて、前記炉蓋を前記取鍋の前記上部開口の鉛直線上にて上下移動を可能とさせ、前記受部を前記係止片の上に載置させるとともに前記シリンダロッドの前記頂部を前記受部の下方に離間させたときに、前記取鍋の前記上部開口の上側に所定間隔を設けた位置に前記炉蓋を配置させることを特徴とする取鍋精錬炉の炉蓋の支持構造。
続きを表示(約 180 文字)
【請求項2】
前記シリンダロッド及び前記係止片は前記取鍋と電気的に絶縁された基台の上に設けられていることを特徴とする請求項1記載の取鍋精錬炉の炉蓋の支持構造。
【請求項3】
前記係止片は前記所定間隔を調整するように上下固定位置を可変として前記基台の上に取り付けられていることを特徴とする請求項2記載の取鍋精錬炉の炉蓋の支持構造。
発明の詳細な説明
【技術分野】
【0001】
本発明は、取鍋精錬炉の炉蓋の支持構造に関する。
続きを表示(約 1,600 文字)
【背景技術】
【0002】
取鍋精錬炉(LF)は、脱酸、脱硫、非金属介在物の除去などを目的とした還元精錬を行うための装置である。鍋状の炉本体部(取鍋)の上部開口から溶鋼を出し入れするとともに、精錬時にあっては上部開口に炉蓋を配置させ、該炉蓋に設けた穴から電極棒を差し入れて溶鋼の精錬を行うのである。そのため、炉本体部に炉蓋を配置させる装置が必要となる。
【0003】
例えば、特許文献1では、2つのシリンダの同期作動により上蓋を水平状態で昇降させる取鍋精錬炉の炉蓋の昇降装置が開示されている。炉蓋の外周面に沿って離れた位置に炉蓋の昇降を案内する複数の案内部材を設置するとともに、該案内部材に縦向きに嵌挿して案内される部材を上蓋に設ける。そして、上蓋の両側部にチェーンの一端を取付け、他端をシリンダのロッドに取付けることで、チェーンを駆動し上蓋を案内部材に沿って上下に昇降させ得るのである。
【先行技術文献】
【特許文献】
【0004】
特開昭62-250114号公報
【発明の概要】
【発明が解決しようとする課題】
【0005】
取鍋精錬炉の精錬操業時においてはアーク放電により溶解金属のスプラッシュが発生し、炉蓋の内部に飛翔し、凝固、付着する。このため、炉本体に炉蓋を載せて完全に密着させてしまうと、密着部に沿って溶融金属が付着して凝固し、炉蓋が開かなくなってしまう。また、炉蓋が開くとしても、凝固金属が溶融金属の上に落下して成分組成を変化させてしまう。そこで、炉蓋は炉本体とわずかに間隙を開けて保持された状態で操業が行うことが好ましい。このとき、シリンダ機構で炉蓋を下支えする支持機構においては、シリンダに重量物である炉蓋の荷重が負荷され続け、シリンダの耐久性の低下、そして、破損等の危険があって、操業に大きな支障をもたらし得る。
【0006】
本発明は、以上のような状況に鑑みてなされたものであって、その目的とするところは、信頼性の高い取鍋精錬炉の炉蓋の支持構造を提供することにある。
【課題を解決するための手段】
【0007】
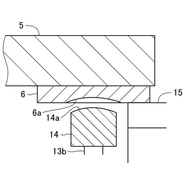
本発明は、取鍋精錬炉の取鍋の上部開口に炉蓋を配置させる支持構造であって、前記取鍋の側周部から離間した位置にて鉛直方向に上下動するシリンダロッドと、前記シリンダロッドの移動経路外にあって前記炉蓋の下限移動位置を規定する係止片と、を含み、前記シリンダロッドは前記係止片と一組として前記取鍋の前記側周部近傍の複数位置に設けられ、前記シリンダロッドの頂部に前記炉蓋の周縁部に設けた受部を載置させて、前記炉蓋を前記取鍋の前記上部開口の鉛直線上にて上下移動を可能とさせ、前記受部を前記係止片の上に載置させるとともに前記シリンダロッドの前記頂部を前記受部の下方に離間させたときに、前記取鍋の前記上部開口の上側に所定間隔を設けた位置に前記炉蓋を配置させることを特徴とする。
【0008】
かかる特徴によれば、シリンダロッドに過大な負荷を掛けることなく、取鍋に対して炉蓋を所定位置に安定的に配置させ得て、高い信頼性を得られるのである。
【0009】
上記した発明において、前記シリンダロッド及び前記係止片は前記取鍋と電気的に絶縁された基台の上に設けられていることを特徴としてもよい。かかる特徴によれば、電極によるスパークを防止し、高い信頼性を得られるのである。
【0010】
上記した発明において、前記係止片は前記所定間隔を調整するように上下固定位置を可変として前記基台の上に取り付けられていることを特徴としてもよい。かかる特徴によれば、取鍋と炉蓋との間のスパークを防止し、高い信頼性を得られるのである。
【図面の簡単な説明】
(【0011】以降は省略されています)
この特許をJ-PlatPat(特許庁公式サイト)で参照する
関連特許
大同特殊鋼株式会社
放熱材料
12日前
大同特殊鋼株式会社
触媒合金
2か月前
大同特殊鋼株式会社
軟磁性合金
20日前
大同特殊鋼株式会社
疵判定方法
1か月前
大同特殊鋼株式会社
棒材計数方法
20日前
大同特殊鋼株式会社
炉蓋の支持構造
26日前
大同特殊鋼株式会社
雰囲気熱処理炉
1か月前
大同特殊鋼株式会社
超音波探傷方法
1か月前
大同特殊鋼株式会社
介在物評価方法
20日前
大同特殊鋼株式会社
電磁攪拌制御方法
7日前
大同特殊鋼株式会社
丸棒体の本数計数方法
15日前
大同特殊鋼株式会社
含クロム溶鋼の精錬方法
2日前
大同特殊鋼株式会社
金属粉末の定量評価方法
2か月前
大同特殊鋼株式会社
連続式真空ホットプレス装置
1か月前
大同特殊鋼株式会社
熱処理設備および浸炭焼入れ方法
20日前
大同特殊鋼株式会社
磁性線材および磁性線材の製造方法
1か月前
大同特殊鋼株式会社
磁性線材および磁性線材の製造方法
1か月前
大同特殊鋼株式会社
計測データ入力方法及びそのシステム
6日前
大同特殊鋼株式会社
レーザ積層造形用粉末およびその製造方法
20日前
大同特殊鋼株式会社
結晶組織評価方法および結晶組織評価装置
13日前
大同特殊鋼株式会社
浸炭時の粗大粒防止特性に優れた肌焼鋼材
13日前
大同特殊鋼株式会社
変位量測定治具およびピーリングマシンにおける芯出し方法
28日前
大同特殊鋼株式会社
合金特性予測補助方法、合金特性予測補助装置、合金特性予測補助プログラム
2か月前
株式会社サンコー
浸漬ヒーター
1か月前
東京窯業株式会社
セッター
5か月前
中外炉工業株式会社
熱処理炉
1か月前
ノリタケ株式会社
加熱炉
22日前
株式会社プロテリアル
スラグ除滓装置
10か月前
ノリタケ株式会社
冷却炉
22日前
株式会社クマガワ
加熱炉システム
7日前
中外炉工業株式会社
処理炉
4か月前
株式会社不二越
搬送システム
5か月前
ノリタケ株式会社
連続加熱炉
6か月前
ノリタケ株式会社
連続加熱炉
6か月前
ファーネス重工株式会社
熱風循環炉
6か月前
有限会社ヨコタテクニカ
リフロー炉
2か月前
続きを見る
他の特許を見る