TOP
|
特許
|
意匠
|
商標
特許ウォッチ
Twitter
他の特許を見る
公開番号
2025063478
公報種別
公開特許公報(A)
公開日
2025-04-16
出願番号
2023172706
出願日
2023-10-04
発明の名称
連続加熱炉
出願人
ノリタケ株式会社
代理人
個人
,
個人
主分類
F27B
9/24 20060101AFI20250409BHJP(炉,キルン,窯;レトルト)
要約
【課題】メンテナンス性向上
【解決手段】
連続加熱炉1は、トンネル状の炉体10と、搬送方向に沿って並べられた複数の搬送ローラ20と、複数の搬送ローラ20を駆動させる駆動機構40と、複数の搬送ローラを支持する従動機構60とを備えている。駆動機構40は、複数の搬送ローラ20に一対一で対応し、対応する一の搬送ローラ20の中空部にそれぞれ挿入される複数の駆動シャフト43と、複数の駆動シャフト43が接続された動力伝達機構40Aと、動力伝達機構40Aに接続された駆動装置とを備えている。複数の駆動シャフト43の少なくとも一部は、搬送ローラ20の中空部に挿入される挿入端43dが、それぞれ錘状に尖っている。
【選択図】図3
特許請求の範囲
【請求項1】
搬送方向に沿った空間を囲うトンネル状の炉体と、
前記トンネル状の炉体をそれぞれ横断し、前記搬送方向に沿って並べられた複数の搬送ローラと、
前記炉体の幅方向の一方に配置され、前記複数の搬送ローラを駆動させる駆動機構と、
前記炉体の幅方向の他方に配置され、前記複数の搬送ローラを支持する従動機構と
を備え、
前記複数の搬送ローラは、それぞれ中空の軸部材であり、
前記駆動機構は、
前記複数の搬送ローラに一対一で対応し、対応する一の搬送ローラの中空部にそれぞれ挿入される複数の駆動シャフトと、
前記複数の駆動シャフトが接続された動力伝達機構と、
前記動力伝達機構に接続された駆動装置と、
を備え、
前記従動機構は、
前記炉体の幅方向の他方に配置され、前記複数の搬送ローラのうち対応する一の中空部にそれぞれ挿入される複数の従動シャフトを備え、
前記複数の駆動シャフトの少なくとも一部は、前記搬送ローラの中空部に挿入される挿入端が、それぞれ錘状に尖っている、連続加熱炉。
続きを表示(約 800 文字)
【請求項2】
前記複数の駆動シャフトの挿入端は、全て錘状に尖っている、請求項1に記載された連続加熱炉。
【請求項3】
前記複数の駆動シャフトの挿入端は、それぞれ駆動シャフトの回転中心に向けて尖っている、請求項1に記載された連続加熱炉。
【請求項4】
前記駆動シャフトの挿入端は、
前記錘状に尖った端部から基端側に向けて拡径したテーパ部をさらに備えている、請求項3に記載された連続加熱炉。
【請求項5】
前記駆動シャフトの挿入端は、
前記テーパ部の基端側に設けられ、前記搬送ローラの内周面に応じた外径を有し、前記搬送ローラの内周面を支持するローラ支持端部を備えている、請求項1に記載された連続加熱炉。
【請求項6】
前記駆動シャフトの挿入端は、
前記ローラ支持端部の基端側に、前記ローラ支持端部よりも小径である小径軸部と
をさらに備えた、請求項5に記載された連続加熱炉。
【請求項7】
前記ローラ支持端部のうち前記搬送ローラの内周面を支持する部位は、周方向に連続した凸曲面である、請求項1に記載された連続加熱炉。
【請求項8】
前記凸曲面は、前記駆動シャフトの中心軸線上に中心を有する球面によって形成されている、請求項5に記載された連続加熱炉。
【請求項9】
前記凸曲面は、前記ローラ支持端部の中心軸線を通る断面において前記ローラ支持端部の最大径よりも短い曲率半径を有する曲面によって形成されている、請求項5に記載された連続加熱炉。
【請求項10】
前記ローラ支持端部のうち前記搬送ローラの内周面を支持する部位は、前記ローラ支持端部の中心軸線と平行な円筒面を有している、請求項1に記載された連続加熱炉。
(【請求項11】以降は省略されています)
発明の詳細な説明
【技術分野】
【0001】
本開示は、連続加熱炉に関する。
続きを表示(約 2,100 文字)
【背景技術】
【0002】
特開2019-172436号公報には、連続加熱炉に関する発明が開示されている。同公報で開示された連続加熱炉は、トンネル状の炉室を有する炉体と、複数本の搬送ローラとを備えている。炉体の側壁には、複数個の貫通穴が形成されている。複数本の搬送ローラは、それぞれ円管状の部材であり、炉体の側壁に形成された複数個の貫通穴を通して互いに平行な状態で該炉体の長手方向に所定間隔で並んでいる。複数本の搬送ローラの端部は、炉体の側壁から突き出ている。複数本の搬送ローラの端部は、炉体の側壁の外側において回転可能に支持された支持軸の先端部が、それぞれ嵌め入れられる。これによって、複数の搬送ローラは、それぞれ回転可能に支持されている。
【0003】
同公報では、支持軸は、小径軸部と、小径軸部の先端側において、小径軸部よりもよりも大径であって、搬送ローラの端部の内周面を受けるローラ支持端部とを備えている。同公報では、支持軸と搬送ローラとが同心であるときに、ローラ支持端部の搬送ローラの端部の内周面を受ける環状支持面の中心軸線方向の幅を5mm以下とすることが、開示されている。また、ローラ支持端部の外周面については、球面によって形成されていることや、ローラ支持端部の中心軸線を通る断面においてローラ支持端部の最大径よりも短い曲率半径を有する曲面によって形成されていること、ローラ支持端部の中心軸線と平行な円筒面を有し、円筒面全体が環状支持面を構成していること、などが記載されている。
【先行技術文献】
【特許文献】
【0004】
特開2019-172436号公報
【発明の概要】
【発明が解決しようとする課題】
【0005】
ところで、本発明者は、このような連続加熱炉について、メンテナンス性を向上させたいと考えている。
【課題を解決するための手段】
【0006】
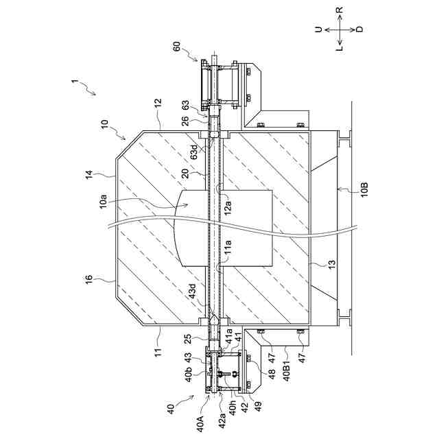
ここで開示される連続加熱炉は、搬送方向に沿った空間を囲うトンネル状の炉体と、トンネル状の炉体をそれぞれ横断し、搬送方向に沿って並べられた複数の搬送ローラと、炉体の幅方向の一方に配置され、複数の搬送ローラを駆動させる駆動機構と、炉体の幅方向の他方に配置され、複数の搬送ローラを支持する従動機構とを備えている。
ここで、複数の搬送ローラは、それぞれ中空の軸部材である。また、駆動機構は、複数の搬送ローラに一対一で対応し、対応する一の搬送ローラの中空部にそれぞれ挿入される複数の駆動シャフトと、複数の駆動シャフトが接続された動力伝達機構と、動力伝達機構に接続された駆動装置と、を備えている。従動機構は、炉体の幅方向の他方に配置され、複数の搬送ローラのうち対応する一の中空部にそれぞれ挿入される複数の従動シャフトを備えている。複数の駆動シャフトの少なくとも一部は、搬送ローラの中空部に挿入される挿入端が、それぞれ錘状に尖っている。
【0007】
かかる連続加熱炉によれば、従動機構側から押し込むことで、搬送ローラを駆動シャフトに取り付けることができる。このため、搬送ローラを炉体に取り付ける作業が容易になり、メンテナンス性が向上する。
【図面の簡単な説明】
【0008】
図1は、連続加熱炉1の縦断側面図である。
図2は、連続加熱炉1の側面図である。
図3は、搬送方向に直交する横断面に沿った連続加熱炉1の横断正面図である。
図4は、搬送ローラ20の、駆動側の支持構造を示す模式図である。
図5は、搬送ローラ20の、従動側の支持構造を示す模式図である。
図6は、駆動シャフト43の挿入端43dの側面図である。
【発明を実施するための形態】
【0009】
以下、本開示の一実施形態を説明する。なお、図面において、同じ作用を奏する部材・部位には、適宜に同じ符号を付して説明している。また、各図における寸法関係(長さ、幅、厚み等)は実際の寸法関係を反映するものではない。特に言及されない限りにおいて本願発明は、ここで開示される実施形態に限定されない。本明細書において数値範囲を示す「X~Y」などの表記は、特に言及されない限りにおいて「X以上Y以下」を意味する。
【0010】
各図において、上、下、左、右、前、後の向きは、適宜、図中のU、D、L、R、F、Rrの矢印でそれぞれ表されている。上、下、左、右、前、後の向きは、説明の便宜上、定められているに過ぎない。ここで開示される連続加熱炉1についての前後は、連続加熱炉1の搬送方向に沿って定められており、搬送方向の前方が「前(F)」、搬送方向の後方が「後(Rr)」とされている。連続加熱炉1に対して被処理物が導入される入口は、搬送方向の後方側(Rr側)に設けられている。連続加熱炉1に対して被処理物が搬出される出口は、搬送方向の前方側(F側)に設けられている。また、搬送方向の前方側(F側)に向かって左側が左(L)とされ、右側が右(R)とされている。
(【0011】以降は省略されています)
この特許をJ-PlatPat(特許庁公式サイト)で参照する
関連特許
ノリタケ株式会社
洗浄装置
17日前
ノリタケ株式会社
熱処理容器
17日前
ノリタケ株式会社
研磨パッド
17日前
ノリタケ株式会社
棒材切断機
17日前
ノリタケ株式会社
焼成冷却システム
10日前
ノリタケ株式会社
研磨パッド及びウェハ研磨方法
17日前
ノリタケ株式会社
研磨パッド及びウェハ研磨方法
17日前
ノリタケ株式会社
ロールコンパクション成形装置
17日前
ノリタケ株式会社
スラリーアイス洗浄装置用の管状部品
17日前
ノリタケ株式会社
研磨パッド及びウェハのノッチ研磨方法
17日前
ノリタケ株式会社
ウェハ研磨装置、研磨パッド及びウェハ研磨方法
17日前
ノリタケ株式会社
電気化学スタックの製造方法および電気化学スタック
17日前
ノリタケ株式会社
スラリーアイス洗浄装置およびスラリーアイス洗浄方法
17日前
ノリタケ株式会社
スラリーアイス洗浄装置およびスラリーアイス洗浄方法
17日前
ノリタケ株式会社
スラリーアイス洗浄装置およびスラリーアイス洗浄方法
17日前
ノリタケ株式会社
銀粉末の評価方法、および該評価方法を含む銀粉末の製造方法
17日前
株式会社アクアフューチャー研究所
ガス溶解装置及びガス溶解方法
13日前
ノリタケ株式会社
積層体の製造方法、該製造方法を含む電子部品の製造方法、銀ペースト、ならびに被覆銀粉末
17日前
株式会社アクアフューチャー研究所
オゾン水製造装置及びオゾン水製造方法
13日前
東日本旅客鉄道株式会社
オゾン含有ミスト製造装置
13日前
株式会社アクアフューチャー研究所
ガスエジェクションノズル、ガス溶解装置及びガス溶解方法
13日前
株式会社サンコー
浸漬ヒーター
1か月前
東京窯業株式会社
セッター
5か月前
中外炉工業株式会社
熱処理炉
28日前
株式会社プロテリアル
スラグ除滓装置
10か月前
ノリタケ株式会社
加熱炉
20日前
ノリタケ株式会社
冷却炉
20日前
株式会社クマガワ
加熱炉システム
5日前
中外炉工業株式会社
処理炉
4か月前
ノリタケ株式会社
熱処理装置
3か月前
ノリタケ株式会社
熱処理装置
3か月前
ノリタケ株式会社
熱処理装置
3か月前
有限会社ヨコタテクニカ
リフロー炉
2か月前
ノリタケ株式会社
熱処理装置
5か月前
株式会社不二越
搬送システム
5か月前
ファーネス重工株式会社
熱風循環炉
6か月前
続きを見る
他の特許を見る