TOP
|
特許
|
意匠
|
商標
特許ウォッチ
Twitter
他の特許を見る
公開番号
2025074486
公報種別
公開特許公報(A)
公開日
2025-05-14
出願番号
2023185319
出願日
2023-10-30
発明の名称
インゴット予熱装置
出願人
特殊電極株式会社
代理人
個人
主分類
F27D
13/00 20060101AFI20250507BHJP(炉,キルン,窯;レトルト)
要約
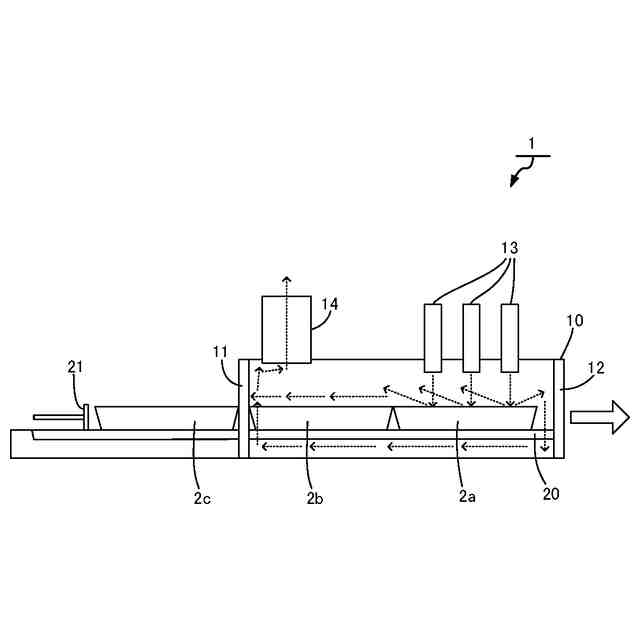
【課題】 加熱能力の調整が容易で、インゴットを効率的に予熱することができ、また、加熱した後も、エネルギーロスを最小限度に抑えつつ一定の温度を保持することができるインゴット予熱装置を提供する。
【解決手段】 インゴットを加熱して予熱する空間である予熱室10と、インゴットを搬送する搬送部とを備え、搬送部は、インゴット2a,2b,2cを載せて搬送する複数本のレール20を有し、予熱室10は、予熱室10の入口を遮蔽する入口シャッター11と、予熱室10の出口を遮蔽する出口シャッター12と、予熱室10内でレール20に載せられて出口シャッター12の手前まで搬送されたインゴット2aへ熱風を吹き付けるヒーター13とを有する。
【選択図】図1
特許請求の範囲
【請求項1】
鋳造用のインゴットを加熱して保持炉で溶解する前に予熱するインゴット予熱装置であって、
複数個のインゴットを内部に収容しインゴットを加熱して予熱する空間である予熱室と、予熱室内外でインゴットを搬送する搬送部とを備え、
前記搬送部は、インゴットを載せて搬送する複数本のレールを有し、
前記予熱室は、予熱室の入口を遮蔽する入口シャッターと、予熱室の出口を遮蔽する出口シャッターと、予熱室内でレールに載せられて出口シャッターの手前まで搬送されたインゴットへ熱風を吹き付けるヒーターとを有する
ことを特徴とするインゴット予熱装置。
続きを表示(約 260 文字)
【請求項2】
前記ヒーターは、予熱室内の天井から垂直方向に熱風を吹き付けてインゴットを直接加熱する
ことを特徴とする請求項1記載のインゴット予熱装置。
【請求項3】
前記入口シャッターと前記出口シャッターとは、それぞれの開閉が同期されている
ことを特徴とする請求項1または請求項2記載のインゴット予熱装置。
【請求項4】
前記搬送部は、レール上のインゴットの左右への動きを規制するガイドを有する
ことを特徴とする請求項1または請求項2記載のインゴット予熱装置。
発明の詳細な説明
【技術分野】
【0001】
本発明は、鋳造装置に用いられるインゴットを予熱するインゴット予熱装置に関する。
続きを表示(約 1,400 文字)
【背景技術】
【0002】
従来の鋳造装置における鋳造工程では、インゴットを溶解して各保持炉へ搬送し鋳造するという工程が主流であった。しかしながら、この従来の工程ではインゴットの溶解に膨大なエネルギーを必要とするという問題や、溶解した溶湯を運搬する際の安全性やコスト上の問題などを抱えていた。そのため、保持炉にインゴットの溶解能力を備えさせ、稼働に応じた溶湯を生成可能にし、インゴット供給、保持炉での溶解、そして、鋳造工程を見直して、エネルギー効率の改善を図る工程が検討されるようになっている。
【0003】
この工程では、インゴット供給の際にインゴットを予熱する必要がある。保持炉の溶解補助やインゴットに残存した微量の水分によるキライの発生を防止するためである。このインゴットの予熱について種々の提案がなされており、例えば、特許文献1では、インゴット材を最適な加熱条件にて加熱することができるインゴット予熱装置が開示されている。
【先行技術文献】
【特許文献】
【0004】
特開2016-43367号公報
【発明の概要】
【発明が解決しようとする課題】
【0005】
しかしながら、上記のエネルギー効率の改善を図る工程によっても、インゴットの予熱、特にアルミインゴットの予熱においては輻射式や直接加熱式、対流電熱式等が検討されているものの、吸収率が低いというアルミの特性もあり、加熱効率が低く、エネルギーの無駄が多いという問題がある。
【0006】
また、生産工程に応じてインゴットを供給する必要があるところ、後工程のトラブルや作業者の休憩のタイミング等によっては、インゴットの供給を一時停止させなければならないこともある。その際には、エネルギーロスを抑えるためやアルミの変形による搬送不良を防止するために、温度を一定に保持しなければならないが、この温度コントロールも困難であるという問題がある。
【0007】
そこで、本発明は、上記のような問題点に鑑みなされたものであり、加熱能力の調整が容易で、インゴットを効率的に予熱することができ、また、加熱した後も、エネルギーロスを最小限度に抑えつつ一定の温度を保持することができるインゴット予熱装置を提供することを目的とする。
【課題を解決するための手段】
【0008】
上記の課題を解決するため、本発明に係るインゴット予熱装置は、鋳造用のインゴットを加熱して保持炉で溶解する前に予熱するインゴット予熱装置であって、複数個のインゴットを内部に収容しインゴットを加熱して予熱する空間である予熱室と、予熱室内外でインゴットを搬送する搬送部とを備え、前記搬送部は、インゴットを載せて搬送する複数本のレールを有し、前記予熱室は、予熱室の入口を遮蔽する入口シャッターと、予熱室の出口を遮蔽する出口シャッターと、予熱室内でレールに載せられて出口シャッターの手前まで搬送されたインゴットへ熱風を吹き付けるヒーターとを有することを特徴とする。
【0009】
ここで、前記ヒーターは、予熱室内の天井から垂直方向に熱風を吹き付けてインゴットを直接加熱するのが好ましい。
【0010】
また、前記入口シャッターと前記出口シャッターとは、それぞれの開閉が同期されているのが好ましい。
(【0011】以降は省略されています)
この特許をJ-PlatPat(特許庁公式サイト)で参照する
関連特許
株式会社サンコー
浸漬ヒーター
2か月前
東京窯業株式会社
セッター
5か月前
中外炉工業株式会社
熱処理炉
1か月前
ノリタケ株式会社
加熱炉
1か月前
ノリタケ株式会社
冷却炉
1か月前
株式会社プロテリアル
スラグ除滓装置
10か月前
株式会社クマガワ
加熱炉システム
29日前
中外炉工業株式会社
処理炉
4か月前
ノリタケ株式会社
熱処理装置
3か月前
ノリタケ株式会社
熱処理装置
3か月前
ノリタケ株式会社
連続加熱炉
7か月前
ファーネス重工株式会社
熱風循環炉
7か月前
ノリタケ株式会社
連続加熱炉
7か月前
株式会社不二越
搬送システム
6か月前
ノリタケ株式会社
連続加熱炉
7か月前
ノリタケ株式会社
熱処理装置
6か月前
中外炉工業株式会社
ダスト処理設備
21日前
有限会社ヨコタテクニカ
リフロー炉
3か月前
ノリタケ株式会社
サヤ
5か月前
ノリタケ株式会社
熱処理装置
3か月前
ノリタケ株式会社
熱処理装置
3か月前
ノリタケ株式会社
熱処理装置
3か月前
中外炉工業株式会社
連続処理炉
6か月前
DiV株式会社
赤外線加熱装置
6か月前
特殊電極株式会社
インゴット予熱装置
6か月前
成都大学
合金粉末酸化防止熱処理装置
8か月前
株式会社不二越
圧力制御システム
6か月前
大同特殊鋼株式会社
溶解炉
12か月前
株式会社豊田中央研究所
加熱装置
2か月前
三菱重工業株式会社
炉設備
8か月前
ノリタケ株式会社
熱処理容器
1か月前
ノリタケ株式会社
熱処理設備
2か月前
ノリタケ株式会社
熱処理設備
2か月前
ノリタケ株式会社
焼成冷却システム
1か月前
三建産業株式会社
非鉄金属溶解方法
5か月前
大同特殊鋼株式会社
回転炉の異物検出装置
6か月前
続きを見る
他の特許を見る