TOP
|
特許
|
意匠
|
商標
特許ウォッチ
Twitter
他の特許を見る
公開番号
2025148146
公報種別
公開特許公報(A)
公開日
2025-10-07
出願番号
2024048758
出願日
2024-03-25
発明の名称
加熱炉
出願人
ノリタケ株式会社
代理人
個人
,
個人
主分類
F27B
9/30 20060101AFI20250930BHJP(炉,キルン,窯;レトルト)
要約
【課題】搬送ローラーの抜取り作業を容易に行うことが可能な加熱炉を提供すること。
【解決手段】搬送ローラー60の端部を第1のスリーブ62によって第1のスリーブ挿入孔58a内のうち端部の側に偏心した部分に配置した。このため、搬送ローラー60を第1のスリーブ挿入孔58aの長手方向に向けて傾斜させた姿勢で炉室22の内部から外部に抜取ることができるので、搬送ローラー60の抜取り作業用の空間内に障害物が存在する場合であっても搬送ローラー60の抜取り作業を容易に行うことが可能になる。
【選択図】図3
特許請求の範囲
【請求項1】
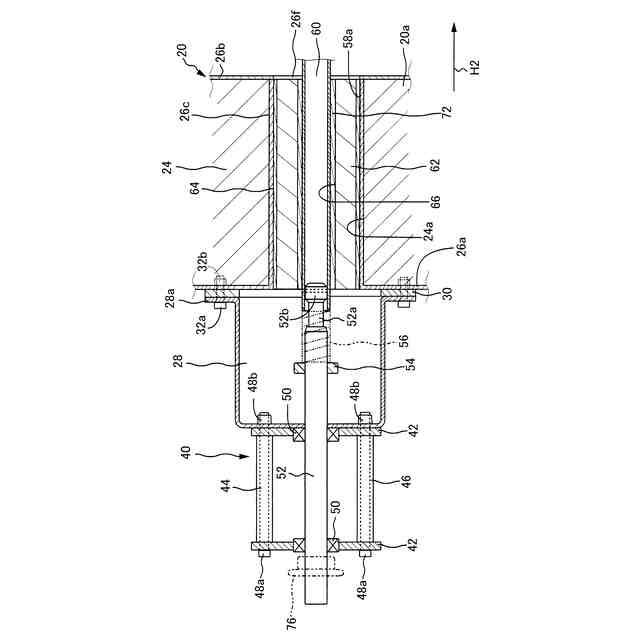
側壁を有するものであって、前記側壁に長孔が設けられた搬送室と、
前記搬送室内に設けられ、前記側壁の壁面に対して直交する直交方向に長尺なものであって被搬送物を搬送するための搬送ローラーと、
前記搬送室内に設けられ、前記直交方向に長尺なものであって前記被搬送物を加熱するための熱源と、
前記長孔内に設けられ、前記搬送ローラーの端部または前記熱源の端部が挿入された断熱部材と、を備え、
前記断熱部材は、前記搬送ローラーの端部または前記熱源の端部を前記長孔内のうち前記長孔の長手方向の端部の側に偏心した部分に配置するものであることを特徴とする加熱炉。
続きを表示(約 340 文字)
【請求項2】
前記断熱部材のうち前記長孔の長手方向の寸法は、前記断熱部材のうち前記長孔の短手方向の寸法に比べて大きく設定され、
前記断熱部材のうち前記断熱部材の端部の側に偏心した部分には、前記搬送ローラーの端部または前記熱源の端部が挿入される貫通孔が設けられていることを特徴とする請求項1に記載の加熱炉。
【請求項3】
前記断熱部材は、前記搬送ローラーの端部または前記熱源の端部を挟んで互いに対向する2つの分割断熱部材に分割されていることを特徴とする請求項2に記載の加熱炉。
【請求項4】
前記2つの分割断熱部材のそれぞれは、前記側壁の厚さ方向に相互に重なる複数の断熱板に分割されていることを特徴とする請求項3に記載の加熱炉。
発明の詳細な説明
【技術分野】
【0001】
本発明は被搬送物を直状の搬送室に沿って搬送しながら被搬送物を加熱する加熱炉に関する。
続きを表示(約 1,500 文字)
【背景技術】
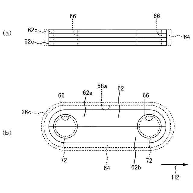
【0002】
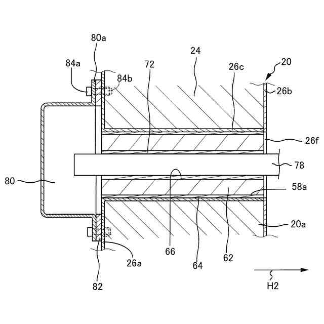
上記加熱炉には搬送室内に長尺物を設けた構成のものがある。この長尺物は搬送室の延び方向に対して直交する直交方向に長尺なものであり、被搬送物を搬送室に沿って搬送するための搬送ローラーおよび被搬送物を加熱するための熱源のそれぞれは長尺物の一例である。この加熱炉の場合には搬送室の側壁に円孔が設けられていた。この円孔内には円筒状の断熱部材が設けられており、長尺物の端部が断熱部材内に挿入されることによって長尺物の端部が円孔内に支持されていた。
【先行技術文献】
【特許文献】
【0003】
特開2009-30848号公報
【発明の概要】
【発明が解決しようとする課題】
【0004】
上記従来の加熱炉の場合には長尺物の保守点検作業または交換作業を行うに際して長尺物を直交方向へ真直ぐに搬送室の内部から外部に抜取る必要があった。このため、搬送室の外部に長尺物の長さ寸法と同等程度の抜取り作業用の空間を必要とするので、抜取り作業用の空間内に柱や機械等の障害物が存在する場合に長尺物の抜取り作業に支障を来す虞があった。
【0005】
本発明は上記事情に鑑みてなされたものであり、その目的は長尺物を抜取るための抜取り作業用の空間内に障害物が存在する場合であっても長尺物の抜取り作業を容易に行うことが可能な加熱炉を提供することにある。
【課題を解決するための手段】
【0006】
第1の発明の加熱炉の要旨とするところは、(a)側壁を有するものであって前記側壁に長孔が設けられた搬送室と、(b)前記搬送室内に設けられ前記側壁の壁面に対して直交する直交方向に長尺なものであって被搬送物を搬送するための搬送ローラーと、(c)前記搬送室内に設けられ前記直交方向に長尺なものであって前記被搬送物を加熱するための熱源と、(d)前記長孔内に設けられ前記搬送ローラーの端部または前記熱源の端部が挿入された断熱部材とを備え、(f)前記断熱部材は前記搬送ローラーの端部または前記熱源の端部を前記長孔内のうち前記長孔の長手方向の端部の側に偏心した部分に配置するものであることにある。
【0007】
第2の発明の加熱炉の要旨とするところは、第1の発明において、(a)前記断熱部材のうち前記長孔の長手方向の寸法は前記断熱部材のうち前記長孔の短手方向の寸法に比べて大きく設定され、(b)前記断熱部材のうち前記断熱部材の端部の側に偏心した部分には前記搬送ローラーの端部または前記熱源の端部が挿入される貫通孔が設けられていることを特徴とする請求項1に記載の加熱炉。
【0008】
第3の発明の加熱炉の要旨とするところは、第2の発明において、(a)前記断熱部材は前記搬送ローラーの端部または前記熱源の端部を挟んで互いに対向する2つの分割断熱部材に分割されていることにある。
【0009】
第4の発明の加熱炉の要旨とするところは、第3の発明において、(a)前記2つの分割断熱部材のそれぞれは前記側壁の厚さ方向に相互に重なる複数の断熱板に分割されていることにある。
【発明の効果】
【0010】
第1の発明によれば、搬送ローラーの端部または熱源の端部が断熱部材によって長孔内のうち長孔の端部の側に偏心した部分に配置されている。このため、長尺物としての搬送ローラーまたは熱源を長孔の長手方向に向けて傾斜させた姿勢で搬送室の内部から外部に抜取ることができる。従って、長尺物の抜取り作業用の空間内に障害物が存在する場合であっても長尺物の抜取り作業を容易に行うことが可能になる。
(【0011】以降は省略されています)
この特許をJ-PlatPat(特許庁公式サイト)で参照する
関連特許
ノリタケ株式会社
冷却炉
1日前
ノリタケ株式会社
加熱炉
1日前
ノリタケ株式会社
焼成炉
7日前
ノリタケ株式会社
焼成炉
7日前
ノリタケ株式会社
焼成炉
7日前
ノリタケ株式会社
金ペースト
9日前
ノリタケ株式会社
熱処理装置
1か月前
ノリタケ株式会社
熱処理設備
1か月前
ノリタケ株式会社
熱処理設備
1か月前
ノリタケ株式会社
ガス吸収シート
20日前
ノリタケ株式会社
ローラ式搬送装置
1日前
ノリタケ株式会社
ローラ式搬送装置
1日前
ノリタケ株式会社
インクジェットインク
1か月前
ノリタケ株式会社
砥材及びその製造方法
5日前
ノリタケ株式会社
電気化学セル用ペースト
今日
ノリタケ株式会社
搬送装置および熱処理装置
5日前
ノリタケ株式会社
搬送装置および熱処理装置
5日前
ノリタケ株式会社
砥粒内包型高強度研磨パッド
9日前
ノリタケ株式会社
シリコンウエーハの研磨方法
1か月前
ノリタケ株式会社
導電性インク用インクジェット装置
21日前
ノリタケ株式会社
冷却装置およびそれを備えた熱処理装置
19日前
ノリタケ株式会社
砥材、砥材の製造方法及び砥石の製造方法
5日前
ノリタケ株式会社
導電ペーストおよび導電ペーストの製造方法
1か月前
ノリタケ株式会社
半導体基板の平面研磨方法及び平面研磨装置
5日前
ノリタケ株式会社
砥粒の評価方法、砥粒群の検査方法及び砥粒の製造方法
1日前
ノリタケ株式会社
樹脂フィルム処理装置および樹脂フィルムの熱処理方法
2か月前
ノリタケ株式会社
タンパク質吸着方法、タンパク質精製方法、ならびにタンパク質精製装置
19日前
東邦チタニウム株式会社
ニッケル含有粒子、ニッケル含有粒子の製造方法及び、スラリー
29日前
ノリタケ株式会社
タンパク質吸着方法、タンパク質精製方法、ならびにタンパク質精製装置
19日前
ノリタケ株式会社
ビトリファイド砥石の製造方法、それに用いる砥材、および、ビトリファイド砥石
1か月前
株式会社サンコー
浸漬ヒーター
20日前
東京窯業株式会社
セッター
4か月前
中外炉工業株式会社
熱処理炉
9日前
ノリタケ株式会社
加熱炉
1日前
株式会社プロテリアル
スラグ除滓装置
9か月前
ノリタケ株式会社
冷却炉
1日前
続きを見る
他の特許を見る