TOP
|
特許
|
意匠
|
商標
特許ウォッチ
Twitter
他の特許を見る
公開番号
2025158512
公報種別
公開特許公報(A)
公開日
2025-10-17
出願番号
2024061124
出願日
2024-04-04
発明の名称
焼成冷却システム
出願人
ノリタケ株式会社
代理人
個人
,
個人
主分類
F27D
15/02 20060101AFI20251009BHJP(炉,キルン,窯;レトルト)
要約
【課題】生産性の高い焼成冷却処理システムを提供する。
【解決手段】焼成冷却システム10は、被焼成物を入れた焼成容器Cを、予め定められた段数に重ね、かつ、予め定められた列数で横並びに並べて搬送しつつ、前記被焼成物を焼成する焼成炉11と、焼成炉の出口に配置された焼成容器を一列で搬送する第1搬送装置12と、第1搬送装置に設けられた段ばらし装置13と、冷却装置14と、第1リフター15とを備えている。冷却装置14は、高さ方向に沿って配置された複数の冷却路を備えている。冷却路は、段ばらしされた予め定められた数の焼成容器を横並びに並べて搬送しつつ冷却するように構成されている。
【選択図】図1
特許請求の範囲
【請求項1】
被焼成物を入れた焼成容器を、予め定められた段数に重ね、かつ、予め定められた列数で横並びに並べて搬送しつつ、前記被焼成物を焼成する焼成炉と、
前記焼成炉の出口に配置され、前記予め定められた段数に重ねられた前記焼成容器を、一列で搬送する第1搬送装置と、
前記第1搬送装置に設けられ、重ねられた前記焼成容器を、一段ずつにばらす段ばらし装置と、
前記段ばらし装置よりも前記第1搬送装置の下流側に配置された冷却装置と、
前記冷却装置の入口に配置された第1リフターと
を備え、
前記冷却装置は、高さ方向に沿って配置された複数の冷却路を備え、
前記第1リフターは、前記第1搬送装置で搬送された前記焼成容器を、予め定められた数ずつ横並びに並べて前記冷却路の高さに合わせて昇降させ、予め定められた数ずつ横並びに並べられた前記焼成容器を前記冷却路に導入するように構成されており、
前記冷却路は、予め定められた数の前記焼成容器を横並びに並べて搬送しつつ冷却するように構成されている、
焼成冷却システム。
続きを表示(約 1,000 文字)
【請求項2】
前記冷却路と、前記焼成炉とは、平行に配置されており、かつ、
前記第1搬送装置が、前記冷却装置の冷却路と前記焼成炉とは、直交する方向に配置されている、請求項1に記載された焼成冷却システム。
【請求項3】
前記冷却路の数は、前記焼成炉での焼成容器の予め定められた段数に一致しており、かつ、
前記冷却装置での前記冷却路で前記焼成容器が横並びに並べられる数は、前記焼成炉での焼成容器の予め定められた列数と一致している、請求項1に記載された焼成冷却システム。
【請求項4】
前記冷却装置の出口には、第2リフターと、搬出装置と、第2搬送装置とが設けられており、
前記第2リフターは、
前記複数の冷却路から出てきた、予め定められた数ずつ横並びに並べられた状態の前記焼成容器を前記搬出装置に導入する装置であり、
前記搬出装置は、
前記第2リフターから導入された予め定められた数ずつ横並びに並べられた状態の前記焼成容器を、1つずつ前記第2搬送装置に搬出する装置である、
請求項1に記載された焼成冷却システム。
【請求項5】
前記第2搬送装置は、
前記焼成容器から前記被焼成物を取り出す取出装置を備えた、
請求項4に記載された焼成冷却システム。
【請求項6】
前記第2搬送装置は、前記取出装置の下流側に前記焼成容器をメンテナンスするメンテナンス処理部を備えた、請求項5に記載された焼成冷却システム。
【請求項7】
前記メンテナンス処理部は、
前記焼成容器を清掃する清掃装置を含む、請求項6に記載された焼成冷却システム。
【請求項8】
前記メンテナンス処理部は、
前記焼成容器の破損を検査する容器検査装置を含む、請求項6に記載された焼成冷却システム。
【請求項9】
前記第2搬送装置は、前記メンテナンス処理部の下流側に前記焼成容器に被焼成物を入れる供給装置を備えた、請求項6に記載された焼成冷却システム。
【請求項10】
前記第2搬送装置は、前記供給装置の下流側で、前記焼成容器を前記焼成炉に向けて送る第3搬送装置に接続されている、請求項9に記載された焼成冷却システム。
(【請求項11】以降は省略されています)
発明の詳細な説明
【技術分野】
【0001】
本開示は、焼成冷却システムに関する。
続きを表示(約 1,600 文字)
【背景技術】
【0002】
特開2019-184211号公報には、被焼成物から焼成物を焼成する焼成炉が開示されている。同公報で開示されている焼成炉は、被焼成物が載せられるセッターに被焼成物を供給する供給部と、焼成炉で焼成された焼成物をセッターから排出する排出部と、セッターを搬送する搬送部とを備えている。搬送部によって、セッターを、供給部、焼成炉、排出部の順で移動させることによって、連続して焼成物を焼成することができるようになっている。供給部は、被焼成物を加熱する加熱機構を備えており、加熱された被焼成物を前記セッターに供給する。かかる構成によって、予め加熱された被焼成物が高温のセッターに供給されて焼成炉に供給される。このため、被焼成物やセッターの昇温に要する時間が短縮できる、とされている。
【0003】
特開2020-85436号公報には、いわゆるローラハースキルンに関し、加熱炉用粉体容器の反転装置などが開示されている。
【0004】
特開2022-150899号公報には、いわゆるローラハースキルンに関し、焼成容器が循環する循環ラインを備えた連続焼成システムが開示されている。
【0005】
特開2022-154856号公報には、いわゆるローラハースキルンに関し、段積み装置や段ばらし装置など、焼成容器の段数を変更する装置が開示されている。
【先行技術文献】
【特許文献】
【0006】
特開2019-184211号公報
特開2020-85436号公報
特開2022-150899号公報
特開2022-154856号公報
【発明の概要】
【発明が解決しようとする課題】
【0007】
ところで、被焼成物Aを焼成後、冷却する処理システムについては、公知の技術がない。かかるシステムに関して、生産性の高いシステムを提案したいと考えている。
【課題を解決するための手段】
【0008】
ここで開示される焼成冷却システムは、
被焼成物を入れた焼成容器を、予め定められた段数に重ね、かつ、予め定められた列数で横並びに並べて搬送しつつ、前記被焼成物を焼成する焼成炉と、
前記焼成炉の出口に配置され、前記予め定められた段数に重ねられた前記焼成容器を、一列で搬送する第1搬送装置と、
前記第1搬送装置に設けられ、重ねられた前記焼成容器を、一段ずつにばらす段ばらし装置と、
前記段ばらし装置よりも前記第1搬送装置の下流側に配置された冷却装置と、
前記冷却装置の入口に配置された第1リフターと
を備え、
前記冷却装置は、高さ方向に沿って配置された複数の冷却路を備え、
前記第1リフターは、前記第1搬送装置で搬送された前記焼成容器を、予め定められた数ずつ横並びに並べて前記冷却路の高さに合わせて昇降させ、予め定められた数ずつ横並びに並べられた前記焼成容器を前記冷却路に導入するように構成されており、
前記冷却路は、予め定められた数の前記焼成容器を横並びに並べて搬送しつつ冷却するように構成されている。
【0009】
かかる焼成冷却システムによれば、段積みされた状態で横並びに搬送されつつ焼成され、その後、段ばらしされ横並びに搬送されつつ冷却されるので、被焼成物の焼成および冷却処理を効率よく行え、生産性を向上させることができる。
【図面の簡単な説明】
【0010】
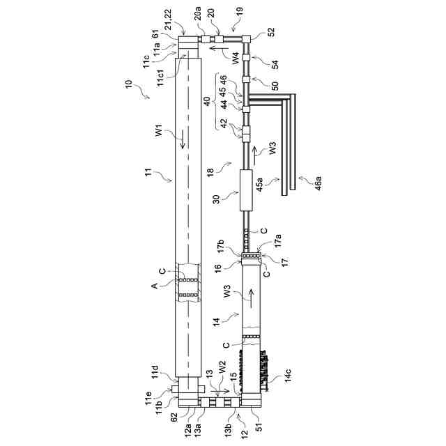
図1は、焼成冷却システム10を模式的に示す平面図である。
図2は、冷却装置14を模式的に示す側面図である。
図3は、第2搬送装置18を模式的に示す側面図である。
【発明を実施するための形態】
(【0011】以降は省略されています)
この特許をJ-PlatPat(特許庁公式サイト)で参照する
関連特許
ノリタケ株式会社
冷却炉
1か月前
ノリタケ株式会社
加熱炉
1か月前
ノリタケ株式会社
洗浄装置
1か月前
ノリタケ株式会社
焼成用治具
1か月前
ノリタケ株式会社
焼成用治具
1か月前
ノリタケ株式会社
熱処理容器
1か月前
ノリタケ株式会社
焼成用治具
1か月前
ノリタケ株式会社
担体構造体
1か月前
ノリタケ株式会社
棒材切断機
1か月前
ノリタケ株式会社
研磨パッド
1か月前
ノリタケ株式会社
熱伝導シート
1か月前
ノリタケ株式会社
導電性ペースト
1か月前
ノリタケ株式会社
超砥粒ホイール
1か月前
ノリタケ株式会社
焼成冷却システム
1か月前
ノリタケ株式会社
ローラ式搬送装置
1か月前
ノリタケ株式会社
ローラ式搬送装置
1か月前
ノリタケ株式会社
封止用グリーンシート
1か月前
ノリタケ株式会社
砥材及びその製造方法
1か月前
ノリタケ株式会社
静電容量タッチパネル
1か月前
ノリタケ株式会社
静電容量タッチパネル
1か月前
ノリタケ株式会社
触媒材料およびその利用
1か月前
ノリタケ株式会社
触媒材料およびその利用
1か月前
ノリタケ株式会社
触媒材料およびその利用
1か月前
ノリタケ株式会社
電気化学セル用ペースト
1か月前
ノリタケ株式会社
焼成用治具およびフレーム
1か月前
ノリタケ株式会社
ガラス接合材及びその利用
1か月前
ノリタケ株式会社
研磨パッド粗材の加工装置
1か月前
ノリタケ株式会社
ガラス接合材及びその利用
1か月前
ノリタケ株式会社
平面研削用レジンボンド砥石
1か月前
ノリタケ株式会社
ロータリーキルン用の炉心管
1か月前
ノリタケ株式会社
電動式コンクリートカッター
5日前
ノリタケ株式会社
ガラス接合材およびその利用
1か月前
ノリタケ株式会社
ロールコンパクション成形装置
1か月前
ノリタケ株式会社
研磨パッド及びウェハ研磨方法
1か月前
ノリタケ株式会社
研磨パッド及びウェハ研磨方法
1か月前
ノリタケ株式会社
組立体の製造方法および組立体
1か月前
続きを見る
他の特許を見る