TOP
|
特許
|
意匠
|
商標
特許ウォッチ
Twitter
他の特許を見る
公開番号
2025154901
公報種別
公開特許公報(A)
公開日
2025-10-10
出願番号
2024058167
出願日
2024-03-29
発明の名称
熱処理容器
出願人
ノリタケ株式会社
代理人
個人
,
個人
,
個人
主分類
F27D
3/12 20060101AFI20251002BHJP(炉,キルン,窯;レトルト)
要約
【課題】熱衝撃を緩和できるとともに耐荷重性が確保され、容器割れなどを抑制できる熱処理容器を提供する。
【解決手段】熱処理容器1は、板状の底壁部2と、底壁部2から立設した側壁部3とを備えてなり、底壁部2と側壁部3とで囲まれる空間に熱処理対象物を収容する、箱状の熱処理容器であって、底壁部2の外周部の少なくとも一部に、平面視で側壁部3の最外周縁から外側に突出する突起部4を有し、底壁部2と側壁部3と突起部4とが一体に成形された一体成形物である。
【選択図】図1
特許請求の範囲
【請求項1】
板状の底壁部と、前記底壁部から立設した側壁部とを備えてなり、前記底壁部と前記側壁部とで囲まれる空間に熱処理対象物を収容する、箱状の熱処理容器であって、
前記底壁部の外周部の少なくとも一部に、平面視で前記側壁部の最外周縁から外側に突出する突起部を有し、
前記底壁部と前記側壁部と前記突起部とが一体に成形された一体成形物であることを特徴とする熱処理容器。
続きを表示(約 480 文字)
【請求項2】
前記突起部がある外周部位置において、前記突起部の上端面と前記側壁部の外周面との連結部、および、前記側壁部の内周面と前記底壁部の上面との連結部から選ばれる少なくとも1つに、肉厚部を有することを特徴とする請求項1記載の熱処理容器。
【請求項3】
前記突起部は、その上端面および下端面が前記底壁部の厚み範囲内に位置する形状であることを特徴とする請求項1または請求項2記載の熱処理容器。
【請求項4】
前記熱処理容器は、耐熱性無機材料の成形物であることを特徴とする請求項1または請求項2記載の熱処理容器。
【請求項5】
前記突起部は、該突起部の上端面に設けられた凸部を有することを特徴とする請求項1または請求項2記載の熱処理容器。
【請求項6】
前記熱処理対象物が、リチウムイオン電池材料であることを特徴とする請求項1または請求項2記載の熱処理容器。
【請求項7】
前記熱処理容器は、ローラハースキルンで使用されることを特徴とする請求項1または請求項2記載の熱処理容器。
発明の詳細な説明
【技術分野】
【0001】
本発明は、熱処理容器に関し、特に、熱処理対象物を収容して、連続加熱炉内で一方向に搬送され、熱処理対象物を熱処理するために用いられる熱処理容器に関するものである。
続きを表示(約 1,600 文字)
【背景技術】
【0002】
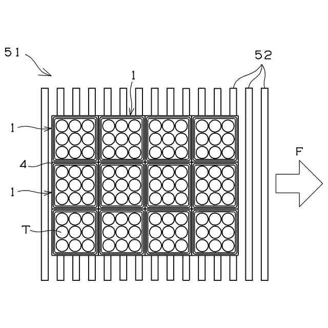
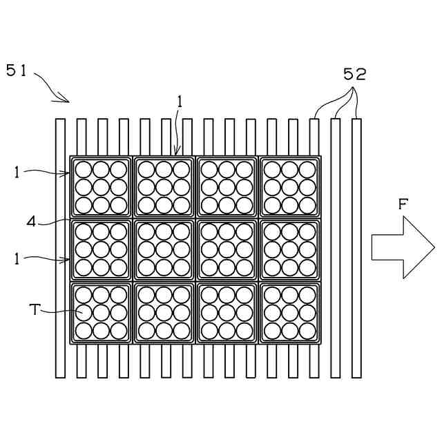
連続加熱炉は、熱処理対象物を搬送しながら連続的に熱処理する加熱炉である。連続加熱炉には、複数本の搬送ローラを回転駆動することにより、熱処理対象物を搬送しつつ熱処理を施す加熱炉がある。このような連続加熱炉は、ローラハースキルンとも称される。
【0003】
例えば、ローラハースキルンでは、部品や粉末などの熱処理対象物を収容して高温で熱処理するための熱処理容器が用いられている。ローラハースキルンは、例えば、全長が予熱部、焼成部、冷却部で構成されており、複数の熱処理容器が一方向に連続的に搬送される。搬送時には、生産性向上のために多くの製品を焼成部に収容すべく、熱処理容器が搬送方向および搬送方向に直交する方向に整列され、容器同士は相互に密着した状態で搬送される。
【0004】
従来、搬送時における熱処理容器同士の接触による破損などを抑制するため、特許文献1の技術が提案されている。特許文献1記載の熱処理容器(匣鉢)は、リチウム正極材の粉体を収容した状態で熱処理炉内に配置されて粉体を熱処理するための匣鉢であり、この匣鉢はニッケル基合金により形成され、熱処理容器を上面視したときに、匣鉢の上端部の大きさは、底部の大きさ以下になっている。これにより、搬送時において、匣鉢の強度の弱い上端部同士が接触することを防止している。
【先行技術文献】
【特許文献】
【0005】
特許第7277662号
韓国公開特許第10-2013-0117272号
特開2023-82822号公報
【発明の概要】
【発明が解決しようとする課題】
【0006】
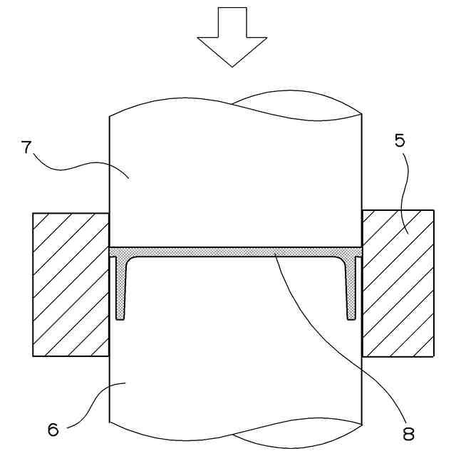
ところで、ローラハースキルンでの熱処理では、上述したように、熱処理容器同士が密着した状態のまま、加熱され、その後冷却される。そのため、密着した箇所に熱がこもってしまい、冷却部においてワークとともに熱処理容器が冷めにくく、熱衝撃によるクラックなどが生じる場合がある。その結果、熱処理容器から漏出した熱処理対象物が搬送ローラに付着したり、容器の割れ破片が搬送ローラの間に挟まれるなどの搬送トラブルの原因になり得る。一方で、熱処理容器には、搬送時に搬送方向に大きな荷重(ラインプレッシャーともいう)が掛かり、それに耐え得る強度も求められる。
【0007】
上記特許文献1では、搬送時の熱処理容器同士の接触による破損などについては検討されているが、熱処理容器自体の熱衝撃や耐荷重などについては検討されていない。
【0008】
また、特許文献2には、容器の外周面に突部を設け、容器同士を離隔させることで、連続加熱炉内でのガスの移動を円滑にすることは記載されているが、耐荷重などについては検討されていない。また、特許文献3には、1枚の底板と複数枚の側板を箱型に組み立てた組み立て式匣鉢について記載されているが、耐荷重性の点では改善の余地があると考えられる。
【0009】
本発明はこのような事情に鑑みてなされたものであり、熱衝撃を緩和できるとともに耐荷重性が確保され、容器割れなどを抑制できる熱処理容器を提供することを目的とする。
【課題を解決するための手段】
【0010】
本発明の熱処理容器は、板状の底壁部と、上記底壁部から立設した側壁部とを備えてなり、上記底壁部と上記側壁部とで囲まれる空間に熱処理対象物を収容する、箱状の熱処理容器であって、上記底壁部の外周部の少なくとも一部に、平面視で上記側壁部の最外周縁から外側に突出する突起部を有し、上記底壁部と上記側壁部と上記突起部とが一体に成形された一体成形物であることを特徴とする。
(【0011】以降は省略されています)
この特許をJ-PlatPat(特許庁公式サイト)で参照する
関連特許
ノリタケ株式会社
焼成炉
17日前
ノリタケ株式会社
焼成炉
17日前
ノリタケ株式会社
焼成炉
17日前
ノリタケ株式会社
加熱炉
11日前
ノリタケ株式会社
冷却炉
11日前
ノリタケ株式会社
洗浄装置
8日前
ノリタケ株式会社
担体構造体
9日前
ノリタケ株式会社
金ペースト
19日前
ノリタケ株式会社
熱処理容器
8日前
ノリタケ株式会社
焼成用治具
9日前
ノリタケ株式会社
焼成用治具
9日前
ノリタケ株式会社
焼成用治具
9日前
ノリタケ株式会社
棒材切断機
8日前
ノリタケ株式会社
研磨パッド
8日前
ノリタケ株式会社
熱伝導シート
8日前
ノリタケ株式会社
超砥粒ホイール
8日前
ノリタケ株式会社
導電性ペースト
8日前
ノリタケ株式会社
ガス吸収シート
1か月前
ノリタケ株式会社
ローラ式搬送装置
11日前
ノリタケ株式会社
ローラ式搬送装置
11日前
ノリタケ株式会社
焼成冷却システム
1日前
ノリタケ株式会社
封止用グリーンシート
8日前
ノリタケ株式会社
砥材及びその製造方法
9日前
ノリタケ株式会社
砥材及びその製造方法
15日前
ノリタケ株式会社
静電容量タッチパネル
9日前
ノリタケ株式会社
静電容量タッチパネル
9日前
ノリタケ株式会社
触媒材料およびその利用
9日前
ノリタケ株式会社
触媒材料およびその利用
9日前
ノリタケ株式会社
電気化学セル用ペースト
10日前
ノリタケ株式会社
触媒材料およびその利用
9日前
ノリタケ株式会社
搬送装置および熱処理装置
15日前
ノリタケ株式会社
搬送装置および熱処理装置
15日前
ノリタケ株式会社
ガラス接合材及びその利用
8日前
ノリタケ株式会社
ガラス接合材及びその利用
8日前
ノリタケ株式会社
研磨パッド粗材の加工装置
8日前
ノリタケ株式会社
焼成用治具およびフレーム
9日前
続きを見る
他の特許を見る