TOP
|
特許
|
意匠
|
商標
特許ウォッチ
Twitter
他の特許を見る
公開番号
2025143093
公報種別
公開特許公報(A)
公開日
2025-10-01
出願番号
2024042832
出願日
2024-03-18
発明の名称
焼成炉
出願人
ノリタケ株式会社
,
株式会社ノリタケTCF
代理人
個人
,
個人
主分類
F27B
9/22 20060101AFI20250924BHJP(炉,キルン,窯;レトルト)
要約
【課題】シール部材の劣化を抑える。
【解決手段】焼成炉1は、搬送空間10bを内部に有する加熱室10と、プッシャ30と、シール部材57と、冷媒供給装置70とを備えている。加熱室10は、搬送空間10bに設定された搬送方向Zの後端に挿通孔56b1,58cを備えている。プッシャ30は、シャフト31と、プッシャヘッド35と、駆動装置60とを備えている。シャフト31は、シール部材57を介して挿通孔56b1,58cに挿通されている。プッシャヘッド35は、搬送空間10b内においてシャフト31の一端に設けられている。駆動装置60は、シャフト31を搬送方向Zに沿って駆動する。シャフト31は、シール部材57と接する位置において、内部に空洞31aを備えている。冷媒供給装置70は、空洞31aに冷媒を供給する。
【選択図】図3
特許請求の範囲
【請求項1】
搬送空間を内部に有する加熱室と、
プッシャと、
シール部材と、
冷媒供給装置と
を備え、
前記加熱室は、前記搬送空間に設定された搬送方向の後端に挿通孔を備え、
前記プッシャは、
前記シール部材を介して前記挿通孔に挿通されるシャフトと、
前記搬送空間内において前記シャフトの一端に設けられたプッシャヘッドと、
前記シャフトを前記搬送方向に沿って駆動する駆動装置と
を備え、
前記シャフトは、前記シール部材と接する位置において、内部に空洞を備えており、
前記冷媒供給装置は、前記空洞に冷媒を供給する、
焼成炉。
続きを表示(約 620 文字)
【請求項2】
前記シャフトの前記空洞には、内管が設けられており、
前記内管の内側および外側のうち、一方には前記冷媒が供給され、他方からは前記冷媒が排出される、請求項1に記載された焼成炉。
【請求項3】
前記シャフトは、
一端に前記プッシャヘッドが取り付けられた中実部と、
前記中実部の他端から前記搬送方向とは反対方向に向かって延びる、内部に前記空洞が設けられた中空部と
を有する、請求項1または2に記載された焼成炉。
【請求項4】
前記中実部と前記中空部の境界は、前記プッシャヘッドが引き込まれている構成の時に前記搬送空間よりも外側に位置している、請求項3に記載された焼成炉。
【請求項5】
前記挿通孔には、断熱材が設けられている、請求項1または2に記載された焼成炉。
【請求項6】
前記断熱材は、無機繊維から構成されている、請求項5に記載された焼成炉。
【請求項7】
前記シール部材は、前記加熱室の外部に設けられている、請求項1または2に記載された焼成炉。
【請求項8】
前記加熱室には、前記挿通孔を備えるガイドが取り付けられており、
前記ガイドは、前記シール部材を収容する収容部と、前記シール部材と、前記収容部に収容された前記シール部材を押さえる押さえ部とを含む、請求項1または2に記載された焼成炉。
発明の詳細な説明
【技術分野】
【0001】
本開示は、焼成炉に関する。
続きを表示(約 1,800 文字)
【背景技術】
【0002】
特開2023-148905号公報には、搬出部を有するマッフルと、複数のヒータと、炉体と、排気筒と、搬送用プッシャと、搬出用プッシャとを有するマッフル炉が開示されている。搬送用プッシャは、アクチュエータと、アームと、ヘッドとを備えている。搬送用プッシャのアームは、一方の側面から搬送部の内部に挿入されている。当該側面には、搬送部の気密性を確保しつつ、アームの摺動を支持するシール部材が設けられている。
【先行技術文献】
【特許文献】
【0003】
特開2023-148905号公報
【発明の概要】
【発明が解決しようとする課題】
【0004】
プッシャのシャフトが挿通される箇所に設けられているシール部材は、炉体内の熱等によって劣化しうる。
【課題を解決するための手段】
【0005】
ここで開示される焼成炉は、搬送空間を内部に有する加熱室と、プッシャと、シール部材と、冷媒供給装置とを備えている。加熱室は、搬送空間に設定された搬送方向の後端に挿通孔を備えている。プッシャは、シャフトと、プッシャヘッドと、駆動装置とを備えている。シャフトは、シール部材を介して挿通孔に挿通されている。プッシャヘッドは、搬送空間内においてシャフトの一端に設けられている。駆動装置は、シャフトを搬送方向に沿って駆動する。シャフトは、シール部材と接する位置において、内部に空洞を備えている。冷媒供給装置は、空洞に冷媒を供給する。かかる焼成炉では、シール部材の劣化が抑えられうる。
【図面の簡単な説明】
【0006】
図1は、焼成炉1の模式的な平面図である。
図2は、プッシャ30の模式図である。
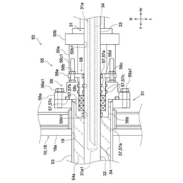
図3は、シャフト31およびガイド50の模式図である。
【発明を実施するための形態】
【0007】
以下、本開示における実施形態の1つについて、図面を参照しつつ詳細に説明する。なお、以下の図面においては、同じ作用を奏する部材・部位には同じ符号を付して説明している。また、各図における寸法関係(長さ、幅、厚み等)は実際の寸法関係を反映するものではない。上、下、左、右、前、後の向きは、図中、U、D、L、R、F、Rrの矢印でそれぞれ表されている。ここで、上、下、左、右、前、後の向きは、説明の便宜上、定められているに過ぎず、特に言及されない限りにおいて本願発明を限定しない。
【0008】
図1は、焼成炉1の模式的な平面図である。図1では、加熱室10等の内部を露出させた状態の平面が示されている。図2は、プッシャ30の模式図である。図2では、左方から見たプッシャ30が模式的に示されている。図3は、シャフト31およびガイド50の模式図である。図3では、ガイド50の断面が模式的に示されている。図1~図3では、断熱材以外の断面のハッチングは、適宜省略されている。
【0009】
〈焼成炉1〉
焼成炉1は、加熱容器Aに被処理物を収容した状態で搬送しつつ加熱処理するための装置である。ここでは、加熱容器Aは、サヤとも称される箱状の容器が用いられている。この実施形態では、被処理物を収容している加熱容器Aには、蓋が載せられている。加熱容器の形状、材質等は、特に限定されない。加熱容器Aは、台板A1に載せられた状態で搬送される。なお、加熱容器は、必ずしも台板に載せられていなくてもよい。台板A1に載せられ、被処理物が収容された加熱容器Aは、適宜に被搬送物Aとも称される。
【0010】
図1に示されているように、焼成炉1は、搬入室80と、加熱室10と、プッシャ30と、搬出室90とを備えている。焼成炉1は、シール部材57と、冷媒供給装置70と(図2参照)を備えている。搬入室80および搬出室90は、加熱室10に接続されている。被搬送物Aは、搬入室80から加熱室10に搬入される。被搬送物Aは、加熱室10内で搬送方向Yに沿って間欠的に搬送されつつ加熱処理される。加熱処理された被搬送物Aは、加熱室10から搬出室90に搬出される。この実施形態では、搬送方向Yは、搬送方向Xと搬送方向Zに対して略直角に設定されている。搬送方向Xと搬送方向Zは、反対方向に設定されている。
(【0011】以降は省略されています)
この特許をJ-PlatPat(特許庁公式サイト)で参照する
関連特許
ノリタケ株式会社
サヤ
3か月前
ノリタケ株式会社
焼成炉
今日
ノリタケ株式会社
焼成炉
今日
ノリタケ株式会社
焼成炉
今日
ノリタケ株式会社
熱処理設備
1か月前
ノリタケ株式会社
熱処理装置
2か月前
ノリタケ株式会社
熱処理装置
2か月前
ノリタケ株式会社
熱処理装置
2か月前
ノリタケ株式会社
熱処理装置
2か月前
ノリタケ株式会社
熱処理設備
1か月前
ノリタケ株式会社
熱処理装置
1か月前
ノリタケ株式会社
金ペースト
2日前
ノリタケ株式会社
ガス吸収シート
13日前
ノリタケ株式会社
インクジェットインク
1か月前
ノリタケ株式会社
シリコンウエーハの研磨方法
1か月前
ノリタケ株式会社
砥粒内包型高強度研磨パッド
2日前
ノリタケ株式会社
導電性インク用インクジェット装置
14日前
ノリタケ株式会社
冷却装置およびそれを備えた熱処理装置
12日前
ノリタケ株式会社
導電ペーストおよび導電ペーストの製造方法
26日前
ノリタケ株式会社
樹脂フィルム処理装置および樹脂フィルムの熱処理方法
2か月前
ノリタケ株式会社
熱処理装置
2か月前
ノリタケ株式会社
セラミックス製品
4か月前
ノリタケ株式会社
ガラス-金属複合体
4か月前
ノリタケ株式会社
タンパク質吸着方法、タンパク質精製方法、ならびにタンパク質精製装置
12日前
ノリタケ株式会社
ガラス粉末、導電性ペーストおよび積層セラミックコンデンサの製造方法
3か月前
ノリタケ株式会社
グリーンシートおよびその製造方法
3か月前
東邦チタニウム株式会社
ニッケル含有粒子、ニッケル含有粒子の製造方法及び、スラリー
22日前
ノリタケ株式会社
タンパク質吸着方法、タンパク質精製方法、ならびにタンパク質精製装置
12日前
ノリタケ株式会社
ビトリファイド砥石の製造方法、それに用いる砥材、および、ビトリファイド砥石
1か月前
株式会社サンコー
浸漬ヒーター
13日前
東京窯業株式会社
セッター
4か月前
中外炉工業株式会社
熱処理炉
2日前
株式会社プロテリアル
スラグ除滓装置
9か月前
中外炉工業株式会社
処理炉
3か月前
ノリタケ株式会社
連続加熱炉
5か月前
ノリタケ株式会社
熱処理装置
2か月前
続きを見る
他の特許を見る