TOP
|
特許
|
意匠
|
商標
特許ウォッチ
Twitter
他の特許を見る
10個以上の画像は省略されています。
公開番号
2025064635
公報種別
公開特許公報(A)
公開日
2025-04-17
出願番号
2023174547
出願日
2023-10-06
発明の名称
熱風循環炉
出願人
ファーネス重工株式会社
代理人
個人
主分類
F27D
7/04 20060101AFI20250410BHJP(炉,キルン,窯;レトルト)
要約
【課題】均等な熱処理を行う熱風循環炉を提供する。
【課題を解決するための手段】
回転中央に対してドーナッツ状に配置され、炉内上方から吹き込まれる熱風を取り入れる熱風取入口を有し、取り入れた熱風の出口であって熱風取入口よりも開口が広く形成さ熱風出口を有するワーク格納室と、ワーク格納室にワークを出し入れするために筐体に設けられたワーク出し入れ口と、回転中央部に設けられ、炉内容積を小さくするとともに、各ワーク格納室に熱風を送り出すための略鐘型の熱風ガイドと、熱風ガイドの下端付近の最下端ワーク格納室の下部領域に設けられ熱風を取り入れる熱風取入口と、取り入れた熱風の流量を調整する流量調整板を有する熱風出口と、を有する通風口とを有する熱風循環炉。
【選択図】図1
特許請求の範囲
【請求項1】
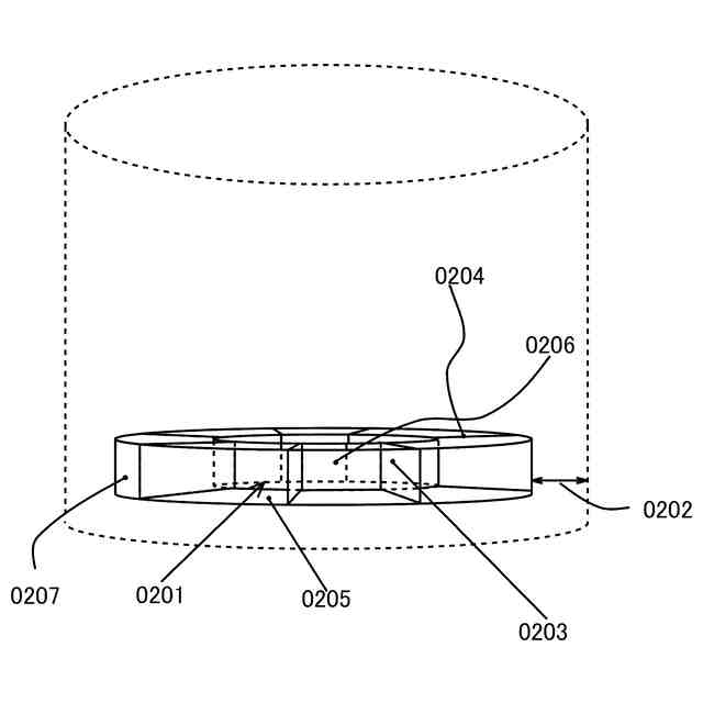
回転中央に対してドーナッツ状に配置され、炉内上方から吹き込まれる熱風を取り入れる熱風取入口を有し、取り入れた熱風の出口であって熱風取入口よりも開口が広く形成された熱風出口を有するワーク格納室と、
ワーク格納室にワークを出し入れするために筐体に設けられたワーク出し入れ口と、
回転中央部に設けられ、炉内容積を小さくするとともに、各ワーク格納室に熱風を送り出すための略鐘型の熱風ガイドと、
前記熱風ガイドの下端付近の最下端ワーク格納室の下部領域に設けられ熱風を取り入れる熱風取入口と、取り入れた熱風の流量を調整する流量調整板を有する熱風出口とを有する通風口と、
を有する熱風循環炉。
続きを表示(約 400 文字)
【請求項2】
前記略鐘型の熱風ガイドの下端付近は、通風口に向かって末広がり形状となっている請求項1に記載の熱風循環炉。
【請求項3】
前記通風口の循環炉中心側の熱風取入口の下端は、前記熱風ガイド下端と同一高さである請求項1又は請求項2に記載の熱風循環炉。
【請求項4】
前記熱風ガイドと前記ワーク格納室は同一の回転炉床に載置されている請求項1又は請求項2に記載の熱風循環炉。
【請求項5】
前記通風口の熱風出口の出口直下は、前記回転路床を軸支する軸部を支持する固定路床である請求項1又は請求項2に記載の熱風循環炉。
【請求項6】
請求項1又は請求項2に記載の熱風循環炉を用いてワークを加熱処理するワーク加熱処理方法。
【請求項7】
前記ワークは輸送機器のホイールである請求項6に記載のワーク加熱処理方法。
発明の詳細な説明
【技術分野】
【0001】
本発明は、炉内で熱風を循環させることによりワークの温度管理を高精度で行う熱風循環炉に関する。
続きを表示(約 1,600 文字)
【背景技術】
【0002】
現在、我々の生活において多様な金属が活用されている。これらの金属は、加熱処理等により品質改良され、それぞれの用途に応じた様々な要求性能を満たしている。
【0003】
例えば、アルミニウム合金は、航空機部材から自動車用ホイールなど、さまざまな場面で活用されているが、当該用途でのアルミニウム合金に対する要求性能の一つに強度が高いことがある。そして、アルミニウム合金は、当該要求性能を達成するため、例えば、析出効果処理などの加熱処理が施されている。ここで、析出硬化処理とは、溶体化処理の後、時効硬化を人工的に行うことをいい、溶体化処理・時効硬化ともにアルミニウム合金の強度を決めるためには、温度管理が重要である。また工業的に金属の加熱処理を行うには、主に炉を使用して行われる。
【0004】
例えば、アルミニウム合金を加熱処理する際に使用される炉の種類としては、炉内温度バラツキを低減し品質の安定化をはかる目的等では熱風循環式の炉が使用され、又、熱処理施設の省スペース化の目的等では多段型炉床回転炉が使用されたりする。最近では、これらの特徴を組み合わせた熱風循環式の熱風循環炉がアルミニウム合金等の金属の加熱処理に用いられており、例えば、特許文献1のようなものがある。
しかしながら、このような構成では、熱い気体は上に流れ、相対的に温度が低い気体は下に流れるという熱風の特性上、最下段近辺のワーク格納室の温度管理を適切に行えないという問題があった。
【先行技術文献】
【特許文献】
【0005】
特開2008-138916号公報
【発明の概要】
【発明が解決しようとする課題】
【0006】
そこで、本発明の通風口を有する熱風循環炉により、従来最下段のワーク格納室に流入していた相対的に低温度の熱風がワーク格納室でなく通風孔を通過するように構成したので最下段近辺のワーク格納室のワークも十分に熱せられることで、炉内のワークのより均一な熱処理を行うことができる熱風循環炉を提供することを目的とする。
【課題を解決するための手段】
【0007】
以上のような課題を解決するために、
第1の発明として、
回転中央に対してドーナッツ状に配置され、炉内上方から吹き込まれる熱風を取り入れる熱風取入口を有し、取り入れた熱風の出口であって熱風取入口よりも開口が広く形成される熱風出口を有するワーク格納室と、
ワーク格納室にワークを出し入れするために筐体に設けられたワーク出し入れ口と、
回転中央部に設けられ、炉内容積を小さくするとともに、各ワーク格納室に熱風を送り出すための略鐘型の熱風ガイドと、
前記熱風ガイドの下端付近の最下端ワーク格納室の下部領域に設けられ熱風を取り入れる熱風取入口と、取り入れた熱風の流量を調整する流量調整板を有する熱風出口とを有する通風口と、を有する熱風循環炉を提供する。
【0008】
第2の発明として、第1の発明を基礎として、
前記略鐘型の熱風ガイドの下端付近は、通風口に向かって末広がり形状となっている熱風循環炉を提供する。
を提供する。
【0009】
第3の発明として、第1または第2の発明を基礎として、
前記通風口の循環炉中心側の熱風取入口の下端は、前記熱風ガイド下端と同一高さである熱風循環炉を提供する。
【0010】
第4の発明として、第1から第3の発明のいずれかを基礎として、
前記熱風ガイドと前記ワーク格納室は同一の回転炉床に載置されている熱風循環炉を提供する。
(【0011】以降は省略されています)
この特許をJ-PlatPat(特許庁公式サイト)で参照する
関連特許
株式会社サンコー
浸漬ヒーター
2か月前
東京窯業株式会社
セッター
6か月前
中外炉工業株式会社
熱処理炉
2か月前
株式会社プロテリアル
スラグ除滓装置
11か月前
ノリタケ株式会社
加熱炉
2か月前
ノリタケ株式会社
冷却炉
2か月前
中外炉工業株式会社
処理炉
5か月前
株式会社クマガワ
加熱炉システム
1か月前
ノリタケ株式会社
熱処理装置
4か月前
ノリタケ株式会社
熱処理装置
4か月前
ノリタケ株式会社
サヤ
5か月前
ノリタケ株式会社
熱処理装置
6か月前
ノリタケ株式会社
熱処理装置
4か月前
株式会社不二越
搬送システム
7か月前
ファーネス重工株式会社
熱風循環炉
7か月前
ノリタケ株式会社
連続加熱炉
7か月前
ノリタケ株式会社
連続加熱炉
8か月前
ノリタケ株式会社
熱処理装置
4か月前
ノリタケ株式会社
熱処理装置
3か月前
有限会社ヨコタテクニカ
リフロー炉
4か月前
ノリタケ株式会社
連続加熱炉
8か月前
中外炉工業株式会社
ダスト処理設備
1か月前
中外炉工業株式会社
連続処理炉
6か月前
成都大学
合金粉末酸化防止熱処理装置
8か月前
特殊電極株式会社
インゴット予熱装置
6か月前
DiV株式会社
赤外線加熱装置
6か月前
株式会社不二越
圧力制御システム
7か月前
株式会社豊田中央研究所
加熱装置
3か月前
三菱重工業株式会社
炉設備
9か月前
三建産業株式会社
非鉄金属溶解方法
6か月前
ノリタケ株式会社
熱処理設備
3か月前
ノリタケ株式会社
熱処理設備
3か月前
ノリタケ株式会社
熱処理容器
2か月前
大同特殊鋼株式会社
回転炉の異物検出装置
7か月前
ノリタケ株式会社
焼成冷却システム
1か月前
株式会社TMEIC
電極昇降装置
2か月前
続きを見る
他の特許を見る