TOP
|
特許
|
意匠
|
商標
特許ウォッチ
Twitter
他の特許を見る
公開番号
2025147433
公報種別
公開特許公報(A)
公開日
2025-10-07
出願番号
2024047681
出願日
2024-03-25
発明の名称
ローラ式搬送装置
出願人
ノリタケ株式会社
代理人
個人
,
個人
主分類
B65G
13/04 20060101AFI20250930BHJP(運搬;包装;貯蔵;薄板状または線条材料の取扱い)
要約
【課題】ストッパと被搬送物の干渉を防ぐ。
【解決手段】ローラ式搬送装置60は、複数の搬送ローラ61と、ストッパ80と、リフタ90とを備えている。ストッパ80は、複数の搬送ローラ61によって規定される搬送経路のうち予め定められた停止位置B1において、複数の搬送ローラ61上を搬送される被搬送物Aを停止させる。リフタ90は、停止位置B1に停止した被搬送物Aを持ち上げる。リフタ90は、アーム部材92を有している。アーム部材92は、停止位置B1において、搬送ローラ61の間から突出し、被搬送物Aを持ち上げる。ストッパ80は、アーム部材92が搬送ローラ61の上端よりも下に位置しているときは、搬送ローラ61の上端よりも上方に突出している。ストッパ80は、アーム部材92の上昇に合わせて搬送方向の前方に向けて停止位置B1から離れるように構成されている。
【選択図】図4
特許請求の範囲
【請求項1】
予め定められた搬送方向に沿って並べられた複数の搬送ローラと、
前記複数の搬送ローラによって規定される搬送経路のうち予め定められた停止位置において、前記複数の搬送ローラ上を搬送される被搬送物を停止させるストッパと、
前記停止位置に停止した前記被搬送物を持ち上げるリフタと
を備え、
前記リフタは、前記停止位置において、前記搬送ローラの間から突出し、前記被搬送物を持ち上げるアーム部材を有し、
前記ストッパは、
前記アーム部材が前記搬送ローラの上端よりも下に位置しているときは、前記搬送ローラの上端よりも上方に突出しており、かつ、
前記アーム部材の上昇に合わせて前記搬送方向の前方に向けて前記停止位置から離れるように構成された、
ローラ式搬送装置。
続きを表示(約 620 文字)
【請求項2】
前記ストッパは、
前記停止位置の最前方の搬送ローラの前方に配置されたストッパ部と、
前記最前方の搬送ローラよりも下方に配置され、前記停止位置の前方の予め定められた位置と、前記停止位置から離れる位置との間で、前記ストッパ部を揺動させる回動軸と
を有する、請求項1に記載されたローラ式搬送装置。
【請求項3】
前記ストッパは、前記ストッパ部の下端から前記最前方の搬送ローラの下方に延びた基部を有し、
前記ローラ式搬送装置は、前記基部を上方に付勢し、前記ストッパ部を前記最前方の搬送ローラの前方に向けて回動させる付勢部材をさらに備え、
前記リフタは、前記アーム部材の降下に応じて、前記基部を下方に押し下げて前記ストッパ部を前記停止位置に移動させる、請求項2に記載されたローラ式搬送装置。
【請求項4】
前記複数の搬送ローラよりも下方には、前記リフタが下降した場合に前記ストッパを前記停止位置で停止させる規制部材が設けられている、請求項1~3のいずれか一項に記載されたローラ式搬送装置。
【請求項5】
前記被搬送物が前記ストッパに達したことを検知する停止センサと、
前記停止センサよりも前記搬送方向の上流側において前記被搬送物を検知するずれ検知センサと
をさらに備えている、請求項1~3のいずれか一項に記載されたローラ式搬送装置。
発明の詳細な説明
【技術分野】
【0001】
本開示は、ローラ式搬送装置に関する。
続きを表示(約 1,800 文字)
【背景技術】
【0002】
特開2022-151151号公報には、搬送ローラ上に置かれた複数の被搬送物を、3列で搬送するローラ式搬送装置が開示されている。同公報に開示されているローラ式搬送装置では、上位置および下位置に選択的に移動可能に設けられたストッパが設けられている。被搬送物は、上位置に移動したストッパによって横一列に整列する。整列した被搬送物は、置換室へ送り込まれる。被搬送物の整列の精度がよくなることによって、置換室の容積を小さくすることができるとされている。
【0003】
特開2023-096455号公報には、セラミック部品を載置して焼成させうるセラミック焼成用セッター(被搬送物)が開示されている。同公報に開示されているセラミック焼成用セッターは、無機繊維が結合して形成された多孔質層を内在する基材からなることを特徴としている。かかるセラミック焼成用セッターは、強度を維持しつつ軽量化により熱容量を低下させることができるとされている。また、かかるセラミック焼成用セッターは、温度追従性に優れているとされている。
【先行技術文献】
【特許文献】
【0004】
特開2022-151151号公報
特開2023-096455号公報
【発明の概要】
【発明が解決しようとする課題】
【0005】
ストッパによって被搬送物を停止位置で停止させた後、ストッパと被搬送物が干渉する懸念がある。
【課題を解決するための手段】
【0006】
ここで開示されるローラ式搬送装置は、複数の搬送ローラと、ストッパと、リフタとを備えている。複数の搬送ローラは、予め定められた搬送方向に沿って並べられている。ストッパは、複数の搬送ローラによって規定される搬送経路のうち予め定められた停止位置において、複数の搬送ローラ上を搬送される被搬送物を停止させる。リフタは、停止位置に停止した被搬送物を持ち上げる。リフタは、停止位置において、搬送ローラの間から突出し、被搬送物を持ち上げるアーム部材を有している。ストッパは、アーム部材が搬送ローラの上端よりも下に位置しているときは、搬送ローラの上端よりも上方に突出している。ストッパは、アーム部材の上昇に合わせて搬送方向の前方に向けて停止位置から離れるように構成されている。かかるローラ式搬送装置によると、ストッパと被搬送物が干渉しにくくなる。
【図面の簡単な説明】
【0007】
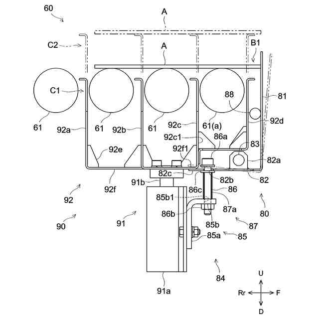
図1は、加熱装置1を示す模式図である。
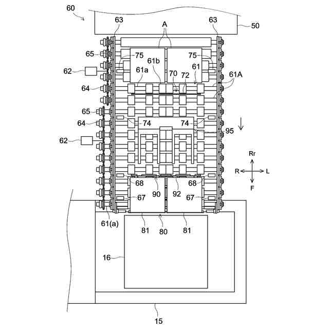
図2は、ローラ式搬送装置60の平面図である。
図3は、ローラ式搬送装置60の側面図である。
図4は、ストッパ80およびリフタ90の側面図である。
図5は、切り離し部材72の正面図である。
図6は、切り離し装置70によって被搬送物Aを切り離す様子を示す模式図である。
【発明を実施するための形態】
【0008】
以下、本開示における実施形態の1つについて、図面を参照しつつ詳細に説明する。なお、以下の図面においては、同じ作用を奏する部材・部位には同じ符号を付して説明している。また、各図における寸法関係(長さ、幅、厚み等)は実際の寸法関係を反映するものではない。上、下、左、右、前、後の向きは、図中、U、D、L、R、F、Rrの矢印でそれぞれ表されている。ここで、上、下、左、右、前、後の向きは、説明の便宜上、定められているに過ぎず、特に言及されない限りにおいて本願発明を限定しない。
【0009】
図1は、加熱装置1を示す模式図である。図中、被搬送物Aが搬送される方向は、矢印で示されている。
【0010】
〈加熱装置1〉
加熱装置1は、図1に示されているように、搬送路10と、ローラ式搬送装置20と、置換室30と、加熱室40と、置換室50と、ローラ式搬送装置60と、搬送路15とを備えている。加熱装置1は、被処理物を搬送しつつ加熱処理するための装置である。この実施形態では、被処理物は、セッターAに載せられた状態で搬送され、加熱室40内で加熱処理される。なお、置換室30,50は、加熱装置1に必ずしも設けられていなくてもよい。
(【0011】以降は省略されています)
この特許をJ-PlatPat(特許庁公式サイト)で参照する
関連特許
ノリタケ株式会社
加熱炉
1か月前
ノリタケ株式会社
冷却炉
1か月前
ノリタケ株式会社
洗浄装置
1か月前
ノリタケ株式会社
焼成用治具
1か月前
ノリタケ株式会社
焼成用治具
1か月前
ノリタケ株式会社
焼成用治具
1か月前
ノリタケ株式会社
担体構造体
1か月前
ノリタケ株式会社
棒材切断機
1か月前
ノリタケ株式会社
研磨パッド
1か月前
ノリタケ株式会社
熱処理容器
1か月前
ノリタケ株式会社
熱伝導シート
1か月前
ノリタケ株式会社
超砥粒ホイール
1か月前
ノリタケ株式会社
導電性ペースト
1か月前
ノリタケ株式会社
焼成冷却システム
1か月前
ノリタケ株式会社
静電容量タッチパネル
1か月前
ノリタケ株式会社
封止用グリーンシート
1か月前
ノリタケ株式会社
静電容量タッチパネル
1か月前
ノリタケ株式会社
砥材及びその製造方法
1か月前
ノリタケ株式会社
触媒材料およびその利用
1か月前
ノリタケ株式会社
電気化学セル用ペースト
1か月前
ノリタケ株式会社
触媒材料およびその利用
1か月前
ノリタケ株式会社
触媒材料およびその利用
1か月前
ノリタケ株式会社
焼成用治具およびフレーム
1か月前
ノリタケ株式会社
ガラス接合材及びその利用
1か月前
ノリタケ株式会社
研磨パッド粗材の加工装置
1か月前
ノリタケ株式会社
ガラス接合材及びその利用
1か月前
ノリタケ株式会社
平面研削用レジンボンド砥石
1か月前
ノリタケ株式会社
ロータリーキルン用の炉心管
1か月前
ノリタケ株式会社
電動式コンクリートカッター
13日前
ノリタケ株式会社
ガラス接合材およびその利用
1か月前
ノリタケ株式会社
組立体の製造方法および組立体
1か月前
ノリタケ株式会社
ロールコンパクション成形装置
1か月前
ノリタケ株式会社
ロールコンパクション成形装置
1か月前
ノリタケ株式会社
研磨パッド及びウェハ研磨方法
1か月前
ノリタケ株式会社
研磨パッド及びウェハ研磨方法
1か月前
ノリタケ株式会社
自動計量装置および自動計量方法
1か月前
続きを見る
他の特許を見る