TOP
|
特許
|
意匠
|
商標
特許ウォッチ
Twitter
他の特許を見る
公開番号
2025152727
公報種別
公開特許公報(A)
公開日
2025-10-10
出願番号
2024054764
出願日
2024-03-28
発明の名称
自動計量装置および自動計量方法
出願人
ノリタケ株式会社
代理人
個人
,
個人
主分類
G01G
13/10 20060101AFI20251002BHJP(測定;試験)
要約
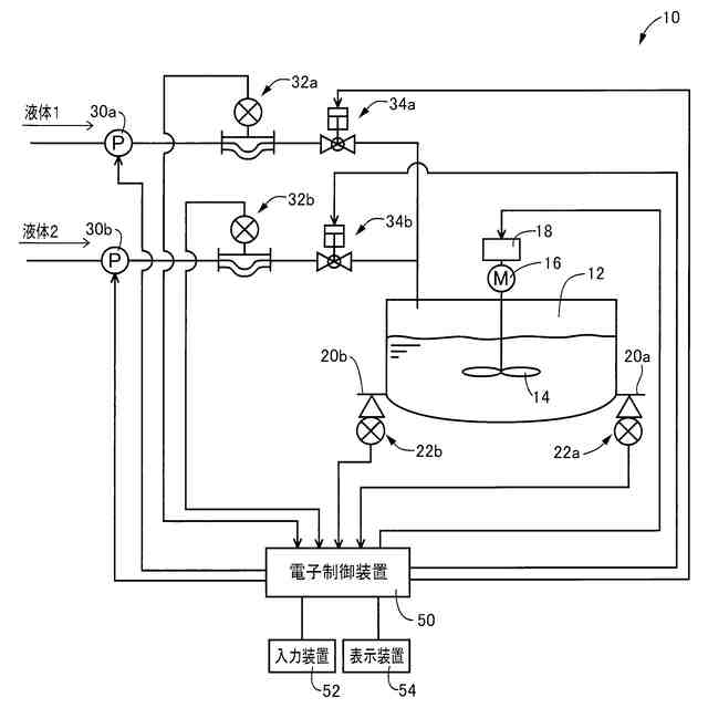
【課題】精度よく、かつ、供給に要する時間を削減することのできる自動計量装置、および、自動計量方法を提供する。
【解決手段】自動計量装置10は、混合タンク12の重量を計測するロードセル22と、複数の流体について、その質量流量を測定する質量流量計32と、質量流量計32と混合タンク12との間の供給路に設けられる充填弁34と、ロードセル22および質量流量計32の測定値に基づいて充填弁34の開閉を制御する電子制御装置50とを有する。
【選択図】図1
特許請求の範囲
【請求項1】
複数の流体をそれぞれ所定量ずつ混合タンクに供給する自動計量装置であって、
前記流体を含む前記混合タンクの重量を計測する重量測定手段と、
前記複数の流体の少なくとも1つについて、その質量流量を測定する質量流量計と、前記質量流量計と前記混合タンクとの間の供給路に設けられる充填弁と、
前記重量測定手段および前記質量流量計の測定値に基づいて前記充填弁の開閉を制御する制御装置と、
を有することを特徴とする自動計量装置。
続きを表示(約 800 文字)
【請求項2】
前記制御装置は、
前記重量測定手段よって測定される測定量と前記所定量に基づいて前記充填弁の開閉を制御する第1供給手段と、
前記第1供給手段により供給された前記流体の質量と、前記所定量とに基づいて、第2目標値を設定する第2目標値設定手段と、
前記質量流量計の測定値と、前記第2目標値とに基づいて、前記充填弁の開閉を制御する第2供給手段と
を有すること、を特徴とする請求項1に記載の自動計量装置。
【請求項3】
前記質量流量計を介して前記混合タンクに前記流体を供給する供給ポンプを有し、
前記第2供給手段による前記供給ポンプの前記流体の供給量は、前記第1供給手段による前記供給ポンプの前記流体の供給量よりも少なくされること、
を特徴とする請求項1または2に記載の自動計量装置
【請求項4】
複数の流体をそれぞれ所定量ずつ混合タンクに供給する自動計量方法であって、
前記流体を含む前期混合タンクの重量を計測する重量測定工程と、
前記複数の流体少なくとも1つについて設けられた質量流量計を用いて、前記流体の質量流量を測定する質量流量測定工程と、
前記重量測定工程によって測定される測定量と前記所定量に基づいて、前記質量流量計と前記混合タンクとの間の供給路に設けられる充填弁の開閉を制御する第1供給工程と、
前記第1供給工程により供給された前記流体の質量と、前記所定量とに基づいて、第2目標値を設定する第2目標値設定工程と、
前記質量流量計の測定値と、前記第2目標値とに基づいて、前記充填弁の開閉を制御する第2供給工程と
を有し、
第1供給工程、第2目標値設定工程、および、第2供給工程を前記複数の流体のそれぞれについて実行すること、を特徴とする自動計量方法。
発明の詳細な説明
【技術分野】
【0001】
本発明は、複数の流体を所定量ずつ計量して混合タンクに供給する自動計量装置、および、自動計量方法に関する。
続きを表示(約 1,400 文字)
【0002】
バッチ方式の攪拌混合装置が知られている。かかる攪拌混合装置は例えば、複数、すなわち2以上の液剤を混合して調整する際に用いられる。
【0003】
その際、2以上の液剤は予め定められた量ずつ攪拌混合装置に供給される必要がある。それを実現するため、例えば、攪拌混合装置を支えて槽内の液重量を計測する重量計測手段を備えた攪拌混合装置が提案されている。特許文献1に開示の発明がそれである。
【0004】
特許文献1においては、重量計測手段としてロードセルを備え、ロードセルによって混合槽内の液重量を計測し、その液重量に基づいて各液剤の注入量が設定重量に至った際に開閉バルブの閉作動で注入を停止することが開示されている。
【先行技術文献】
【特許文献】
【0005】
特許第6409012号公報
【発明の概要】
【発明が解決しようとする課題】
【0006】
ところで、前述のロードセルは、精度よく重量を計測し得るという特徴を有する。一方で、精度が良いため、液剤が注入された攪拌混合装置において、供給された液剤が波打ったりするなど流動していると、測定値が定まらず、液剤が安定するまで測定を待たなければならないという問題があった。特に供給する液剤の所定量に近くなると、少量を供給し、ロードセルの測定値が安定するのを待って測定を行うことを繰り返して所定量まで供給する操作を要することとなった。かかる問題は、液剤が多くなると、すべての液剤について同様の操作を繰り返さなければならず、供給完了までに多くの時間を要するという問題を生ずる。
【0007】
本発明は、以上の事情を背景として為されたものであって、その目的とするところは、精度よく、かつ、供給に要する時間を削減することのできる自動計量装置、および、自動計量方法を提供することにある。
【0008】
本発明の要旨とするところは、(a)複数の流体をそれぞれ所定量ずつ混合タンクに供給する自動計量装置であって、(b)前記流体を含む前記混合タンクの重量を計測する重量測定手段と、(c)前記複数の流体の少なくとも1つについて、その質量流量を測定する質量流量計と、前記質量流量計と前記混合タンクとの間の供給路に設けられる充填弁と、(d)前記重量測定手段および前記質量流量計の測定値に基づいて前記充填弁の開閉を制御する制御装置と、を有することにある。
【発明の効果】
【0009】
本発明の自動計量装置によれば、混合タンクに供給される流体を測定する手段として重量測定手段と質量流量計との2つを有するので、両者の特性を生かして自動計量装置に供給される流体の量を計測できる。
【0010】
ここで好適には、前記制御装置は、(a)前記重量測定手段によって測定される測定量と前記所定量に基づいて前記充填弁の開閉を制御する第1供給手段と、(b)前記第1供給手段により供給された前記流体の質量と、前記所定量とに基づいて、第2目標値を設定する第2目標値設定手段と、(c)前記質量流量計の測定値と、前記第2目標値とに基づいて、前記充填弁の開閉を制御する第2供給手段とを有する。このようにすれば、第1供給手段によって前記所定量の液体を供給すると共に、第2供給手段によって前記第2目標値分の液体を供給することができる。
(【0011】以降は省略されています)
この特許をJ-PlatPat(特許庁公式サイト)で参照する
関連特許
個人
採尿及び採便具
1か月前
日本精機株式会社
検出装置
25日前
個人
計量機能付き容器
20日前
株式会社ミツトヨ
測定器
1か月前
甲神電機株式会社
電流検出装置
25日前
日本精機株式会社
発光表示装置
3日前
株式会社カクマル
境界杭
10日前
株式会社トプコン
測量装置
2日前
大成建設株式会社
風洞実験装置
20日前
日本信号株式会社
距離画像センサ
23日前
日本特殊陶業株式会社
ガスセンサ
2日前
愛知電機株式会社
軸部材の外観検査装置
1か月前
個人
計量具及び計量機能付き容器
20日前
大和製衡株式会社
組合せ計量装置
1か月前
大和製衡株式会社
組合せ計量装置
1か月前
日本特殊陶業株式会社
ガスセンサ
18日前
愛知時計電機株式会社
ガスメータ
1か月前
双庸電子株式会社
誤配線検査装置
26日前
個人
非接触による電磁パルスの測定方法
23日前
個人
システム、装置及び実験方法
1か月前
日本特殊陶業株式会社
センサ
1か月前
個人
液位検視及び品質監視システム
18日前
キーコム株式会社
画像作成システム
10日前
日東精工株式会社
振動波形検査装置
26日前
日本特殊陶業株式会社
センサ
4日前
株式会社不二越
X線測定装置
23日前
株式会社タイガーカワシマ
揚穀装置
2日前
株式会社マグネア
磁界検出素子
23日前
アンリツ株式会社
X線検査装置
1か月前
理研計器株式会社
ガス検知装置
10日前
株式会社電巧社
試験装置及び試験方法
26日前
株式会社エルメックス
希釈液収容容器
20日前
IMV株式会社
振動試験システム
23日前
株式会社アイシン
回転角検出装置
10日前
日本特殊陶業株式会社
化学センサ
25日前
株式会社川島製作所
海苔の異物検査装置
16日前
続きを見る
他の特許を見る