TOP
|
特許
|
意匠
|
商標
特許ウォッチ
Twitter
他の特許を見る
公開番号
2025162401
公報種別
公開特許公報(A)
公開日
2025-10-27
出願番号
2024065678
出願日
2024-04-15
発明の名称
含クロム溶鋼の精錬方法
出願人
大同特殊鋼株式会社
代理人
個人
,
個人
,
個人
主分類
C21C
7/068 20060101AFI20251020BHJP(鉄冶金)
要約
【課題】酸化クロムを還元処理する際の処理時間が短くなるように処理条件を最適化し得て、非酸化性ガスの消費量の増大や溶鋼温度の低下といった問題を抑制することができる含クロム溶鋼の精錬方法を提供する。
【解決手段】含クロム溶鋼の精錬方法は、大気精錬のステップと、大気精錬の後の減圧精錬のステップと、減圧精錬の後、溶鋼に還元剤を添加するとともに、減圧下において溶鋼中に非酸化性ガスを吹き込んでクロム酸化物の還元を行なう還元処理のステップと、を含む。下記式(1)で規定する攪拌エネルギー密度と還元処理時間との積分値により規定される攪拌力が、基準となる還元処理条件との対比で0.90~1.10の範囲内で、且つ、還元処理時間が前記基準となる還元処理条件よりも短い条件で、前記還元処理を実行する。撹拌エネルギー密度ε(kW/cht)=12.2Q/W{0.85+ln(1+H/148P)}…式(1)、但し、Qは撹拌ガス流量、Pは容器内圧力、Hは溶鋼のバス深さ、Wは溶鋼重量
【選択図】 図1
特許請求の範囲
【請求項1】
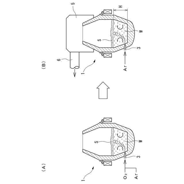
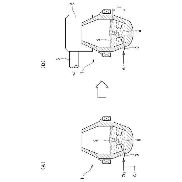
精錬容器内の含クロム溶鋼中にガスを吹き込んで脱炭を行なう精錬方法であって、
溶鋼中に非酸化性ガスとO
2
ガスとの混合ガスを吹き込んで脱炭を行なう大気精錬のステップと、
前記大気精錬のステップの後、前記精錬容器内を減圧するとともに、溶鋼中に非酸化性ガスを吹き込んで引き続き脱炭を行なう減圧精錬のステップと、
前記減圧精錬のステップの後、溶鋼に還元剤を添加するとともに、減圧下において溶鋼中に非酸化性ガスを吹き込んで、溶鋼上のスラグに含まれるクロム酸化物の還元を行なう還元処理のステップと、
を含み、
下記式(1)で規定する攪拌エネルギー密度と還元処理時間との積分値により規定される攪拌力が、基準となる還元処理条件との対比で0.90~1.10の範囲内で、且つ、還元処理時間が前記基準となる還元処理条件よりも短い条件で、前記還元処理を実行する、含クロム溶鋼の精錬方法。
撹拌エネルギー密度ε(kW/cht)=12.2Q/W×{0.85+ln(1+H/148P)} …式(1)
但し、Q:撹拌ガス流量(Nm
3
/min)、P:容器内圧力(atm)、H:溶鋼のバス深さ(cm)、W:溶鋼重量(トン)
発明の詳細な説明
【技術分野】
【0001】
この発明はステンレス鋼等クロムを含有する溶鋼の精錬方法に関する。
続きを表示(約 1,900 文字)
【背景技術】
【0002】
含クロム鋼(例えばステンレス鋼)を製造するに際して、精錬炉(AOD炉)内に収容した溶鋼に対してO
2
ガスと非酸化性ガスとしてのArガスの混合ガスを大気中で浴面下から吹き込んでO
2
と溶鋼中のCとを反応させ、即ち脱炭反応させ、溶鋼中のC量を下げることが行われている。この方法はAOD法として知られたものである。
【0003】
大気中での脱炭精錬では、溶鋼中のC量が低くなってくると吹き込んだO
2
が脱炭のために有効に働かず、クロムを酸化してしまい脱炭効率が悪くなることから溶鋼中のC量が一定レベルまで低下した時点で、炉内を減圧とした上、溶鋼中にArガス等の非酸化性ガスのみを撹拌ガスとして吹き込み、酸化クロムと溶鋼中のCとの間で反応を行わせ、脱炭を行う減圧精錬を行ない、その後、溶鋼に還元剤を添加し、スラグ中に残っている酸化クロムを還元し溶鋼内に回収する還元処理が行われる。このような一連の精錬方法については下記特許文献1等に記載されている。
【先行技術文献】
【特許文献】
【0004】
特開2016-194125号公報
【発明の概要】
【発明が解決しようとする課題】
【0005】
減圧精錬に続いて実施される還元処理において、その処理条件は、従来、Cr還元率、介在物個数等の実績に基づいて鋼種毎に設定されていたが、非酸化性ガスの消費量の増大や溶鋼温度の低下といった問題を抑制するため、還元処理時間(Cr回収時間)の短縮が望まれていた。
【0006】
本発明は以上のような事情を背景とし、酸化クロムを還元処理する際の処理時間が短くなるように処理条件を最適化し得て、非酸化性ガスの消費量の増大や溶鋼温度の低下といった問題を抑制することができる含クロム溶鋼の精錬方法を提供することを目的とする。
【課題を解決するための手段】
【0007】
本発明者らは上記課題を解決するために鋭意検討を重ねた結果、攪拌エネルギー密度と還元処理時間との積分値により規定される攪拌力が同じであればCr還元能を維持しつつ処理時間を短くすることができる、との知見を得た。この発明はこのような知見に基づいてなされたものである。
【0008】
而してこの発明の第1の局面の含クロム溶鋼の精錬方法は次のように規定される。即ち、
精錬容器内の含クロム溶鋼中にガスを吹き込んで脱炭を行なう精錬方法であって、
溶鋼中に非酸化性ガスとO
2
ガスとの混合ガスを吹き込んで脱炭を行なう大気精錬のステップと、
前記大気精錬のステップの後、前記精錬容器内を減圧するとともに、溶鋼中に非酸化性ガスを吹き込んで引き続き脱炭を行なう減圧精錬のステップと、
前記減圧精錬のステップの後、溶鋼に還元剤を添加するとともに、減圧下において溶鋼中に非酸化性ガスを吹き込んで、溶鋼上のスラグに含まれるクロム酸化物の還元を行なう還元処理のステップと、
を含み、
下記式(1)で規定する攪拌エネルギー密度と還元処理時間との積分値により規定される攪拌力が、基準となる還元処理条件との対比で0.90~1.10の範囲内で、且つ、還元処理時間が前記基準となる還元処理条件よりも短い条件で、前記還元処理を実行する、含クロム溶鋼の精錬方法。
撹拌エネルギー密度ε(kW/cht)=12.2Q/W×{0.85+ln(1+H/148P)} …式(1)
但し、Q:撹拌ガス流量(Nm
3
/min)、P:容器内圧力(atm)、H:溶鋼のバス深さ(cm)、W:溶鋼重量(トン)
【0009】
このように規定された第1の局面の含クロム溶鋼の精錬方法によれば、従来から採用されていた基準となる還元処理条件と略同等の撹拌力を維持しつつ、短い処理時間で還元処理を実行することができ、非酸化性ガスの消費量の増大や溶鋼温度の低下といった問題を抑制することができる。
【図面の簡単な説明】
【0010】
本発明の一実施形態の含クロム溶鋼の精錬方法に用いられる精錬容器を示した図である。
還元処理における撹拌力についての説明図である。
同実施形態の精錬方法の効果についての説明図である。
【発明を実施するための形態】
(【0011】以降は省略されています)
この特許をJ-PlatPat(特許庁公式サイト)で参照する
関連特許
大同特殊鋼株式会社
放熱材料
1か月前
大同特殊鋼株式会社
軟磁性合金
2か月前
大同特殊鋼株式会社
軟磁性材料
18日前
大同特殊鋼株式会社
超音波検査方法
1か月前
大同特殊鋼株式会社
電磁攪拌制御方法
1か月前
大同特殊鋼株式会社
丸棒体の本数計数方法
1か月前
大同特殊鋼株式会社
含クロム溶鋼の精錬方法
1か月前
大同特殊鋼株式会社
金属碑及びその製造方法
1か月前
大同特殊鋼株式会社
マルエージング鋼及び粉末
3日前
大同特殊鋼株式会社
熱処理設備および浸炭焼入れ方法
2か月前
大同特殊鋼株式会社
アレイ探触子の振動子劣化検出方法
12日前
大同特殊鋼株式会社
計測データ入力方法及びそのシステム
1か月前
大同特殊鋼株式会社
軟磁性合金および軟磁性合金の製造方法
3日前
大同特殊鋼株式会社
連続鋳造装置のブレークアウト弁別方法
1か月前
大同特殊鋼株式会社
軟磁性合金および軟磁性合金の製造方法
3日前
大同特殊鋼株式会社
浸炭時の粗大粒防止特性に優れた肌焼鋼材
1か月前
大同特殊鋼株式会社
結晶組織評価方法および結晶組織評価装置
1か月前
大同特殊鋼株式会社
レーザ積層造形用粉末およびその製造方法
2か月前
大同特殊鋼株式会社
高強度高熱伝導率鉄基合金積層造形体の製造方法
1か月前
個人
バイオ水素製鉄方法
3か月前
日本製鉄株式会社
転炉精錬方法
2か月前
富士電子工業株式会社
焼入れ装置
4か月前
日本製鉄株式会社
溶鉄の製造方法
2か月前
日本製鉄株式会社
溶鉄の製造方法
3か月前
日本製鉄株式会社
溶鋼の製造方法
4か月前
NTN株式会社
焼入れ方法
1か月前
中外炉工業株式会社
連続式熱処理炉
6か月前
株式会社不二越
熱処理システム
3か月前
日本製鉄株式会社
溶鋼の脱窒処理方法
1か月前
中外炉工業株式会社
前処理装置
5か月前
バイオメッド バレー ディスカバリーズ,インコーポレイティド
C21H22Cl2N4O2の結晶形態
5か月前
日本製鉄株式会社
溶銑の予備処理方法
5か月前
大同特殊鋼株式会社
浸炭部材の製造方法
5か月前
高周波熱錬株式会社
熱処理方法及び熱処理装置
4か月前
高周波熱錬株式会社
熱処理方法及び熱処理装置
1か月前
大同特殊鋼株式会社
熱処理設備
4か月前
続きを見る
他の特許を見る