TOP
|
特許
|
意匠
|
商標
特許ウォッチ
Twitter
他の特許を見る
10個以上の画像は省略されています。
公開番号
2025089807
公報種別
公開特許公報(A)
公開日
2025-06-16
出願番号
2023204688
出願日
2023-12-04
発明の名称
成膜装置
出願人
東京エレクトロン株式会社
代理人
弁理士法人酒井国際特許事務所
主分類
C23C
14/12 20060101AFI20250609BHJP(金属質材料への被覆;金属質材料による材料への被覆;化学的表面処理;金属質材料の拡散処理;真空蒸着,スパッタリング,イオン注入法,または化学蒸着による被覆一般;金属質材料の防食または鉱皮の抑制一般)
要約
【課題】基板に形成される有機膜の厚さの均一性を向上させる。
【解決手段】成膜装置であって、処理容器と、ステージと、遮熱部材と、ガス供給部と、第1のヒータと、第2のヒータとを備える。ステージは、処理容器内に収容され、基板が載せられる。遮熱部材は、複数の貫通孔を有し、ステージ上に載せられた基板を覆うようにステージの上に配置される。ガス供給部は、処理容器内に、第1のモノマーのガスおよび第2のモノマーのガスを供給し、第1のモノマーおよび第2のモノマーの重合反応により、基板に重合体の有機膜を形成する。第1のヒータは、処理容器の側壁を第1の温度に加熱する。第2のヒータは、ステージを第1の温度よりも低い第2の温度に加熱する。遮熱部材は、基板に重合体の有機膜が形成される際に、ステージに接触し、処理容器に接触しない。
【選択図】図1
特許請求の範囲
【請求項1】
処理容器と、
前記処理容器内に収容され、基板が載せられるステージと、
複数の貫通孔を有し、前記ステージ上に載せられた前記基板を覆うように前記ステージの上に配置される遮熱部材と
前記処理容器内に、第1のモノマーのガスおよび第2のモノマーのガスを供給し、前記第1のモノマーおよび前記第2のモノマーの重合反応により、前記基板に重合体の有機膜を形成するガス供給部と、
前記処理容器の側壁を第1の温度に加熱する第1のヒータと、
前記ステージを前記第1の温度よりも低い第2の温度に加熱する第2のヒータと
を備え、
前記遮熱部材は、前記基板に重合体の有機膜が形成される際に、前記ステージに接触し、前記処理容器に接触しない成膜装置。
続きを表示(約 930 文字)
【請求項2】
前記遮熱部材は、
複数の前記貫通孔が形成され、前記基板に対向する位置に配置される板状部と、
前記板状部と前記ステージとの間に配置される筒状部と
を有する請求項1に記載の成膜装置。
【請求項3】
前記板状部における前記貫通孔の開口率は、10%以上かつ20%以下である請求項2に記載の成膜装置。
【請求項4】
前記筒状部は、複数の貫通孔を有する請求項2または3に記載の成膜装置。
【請求項5】
前記筒状部が有する複数の貫通孔は、前記筒状部の上端よりも下端に近い位置に形成される請求項4に記載の成膜装置。
【請求項6】
前記ステージを昇降させるリフト機構をさらに備え、
前記遮熱部材は、前記基板が載せられる前記ステージの面に沿って、前記筒状部から前記ステージの外側まで延在するフランジ部を有し、
前記処理容器は、内側壁に設けられた段差部を有し、
前記リフト機構は、前記基板の搬入および搬出時に前記ステージを下降させ、前記遮熱部材の前記フランジ部を前記段差部に載せることにより、前記遮熱部材と前記ステージとを離間させる請求項2に記載の成膜装置。
【請求項7】
前記フランジ部は、前記筒状部の下端に設けられる請求項6に記載の成膜装置。
【請求項8】
前記リフト機構は、前記処理容器内のクリーニング時に前記ステージを下降させ、前記遮熱部材の前記フランジ部を前記段差部に載せることにより、前記遮熱部材を前記段差部を介して前記第1の温度に加熱する請求項6または7に記載の成膜装置。
【請求項9】
前記リフト機構は、前記処理容器内のクリーニング時に前記ステージの高さが、前記基板の処理を行う際の第1の位置よりも低く、かつ、前記基板の搬入および搬出を行う際の第2の位置よりも高い第3の位置となるように前記ステージの位置を制御する請求項8に記載の成膜装置。
【請求項10】
前記遮熱部材は、アルミニウムで形成される請求項1に記載の成膜装置。
(【請求項11】以降は省略されています)
発明の詳細な説明
【技術分野】
【0001】
本開示の種々の側面および実施形態は、成膜装置に関する。
続きを表示(約 1,600 文字)
【背景技術】
【0002】
例えば下記特許文献1には、「蒸着重合により被処理基板に重合体の膜を成膜する成膜装置であって、ステージと、ステージヒータと、天板ヒータと、制御装置とを備える。ステージは、被処理基板を収容する処理容器内に設けられ、被処理基板が載置される。ステージヒータは、ステージ内に設けられ、ステージ上に載置された被処理基板を加熱する。天板ヒータは、ステージに対向する処理容器の天板に設けられる。制御装置は、ステージヒータおよび天板ヒータの温度を制御する。また、制御装置は、ステージヒータの温度を第1の温度単位で制御することにより、被処理基板の温度を第1の温度単位で制御する。また、制御装置は、天板ヒータの温度を第2の温度単位で制御することにより、天板を介して放射される輻射熱によって被処理基板の温度を第1の温度単位より細かい温度単位で制御する。」ことが開示されている。
【先行技術文献】
【特許文献】
【0003】
特開2018-181955号公報
【発明の概要】
【発明が解決しようとする課題】
【0004】
本開示は、基板に形成される有機膜の厚さの均一性を向上させることができる成膜装置を提供する。
【課題を解決するための手段】
【0005】
本開示の一側面は、成膜装置であって、処理容器と、ステージと、遮熱部材と、ガス供給部と、第1のヒータと、第2のヒータとを備える。ステージは、処理容器内に収容され、基板が載せられる。遮熱部材は、複数の貫通孔を有し、ステージ上に載せられた基板を覆うようにステージの上に配置される。ガス供給部は、処理容器内に、第1のモノマーのガスおよび第2のモノマーのガスを供給し、第1のモノマーおよび第2のモノマーの重合反応により、基板に重合体の有機膜を形成する。第1のヒータは、処理容器の側壁を第1の温度に加熱する。第2のヒータは、ステージを第1の温度よりも低い第2の温度に加熱する。遮熱部材は、基板に重合体の有機膜が形成される際に、ステージに接触し、処理容器に接触しない。
【発明の効果】
【0006】
本開示の種々の側面および実施形態によれば、基板に形成される有機膜の厚さの均一性を向上させることができる。
【図面の簡単な説明】
【0007】
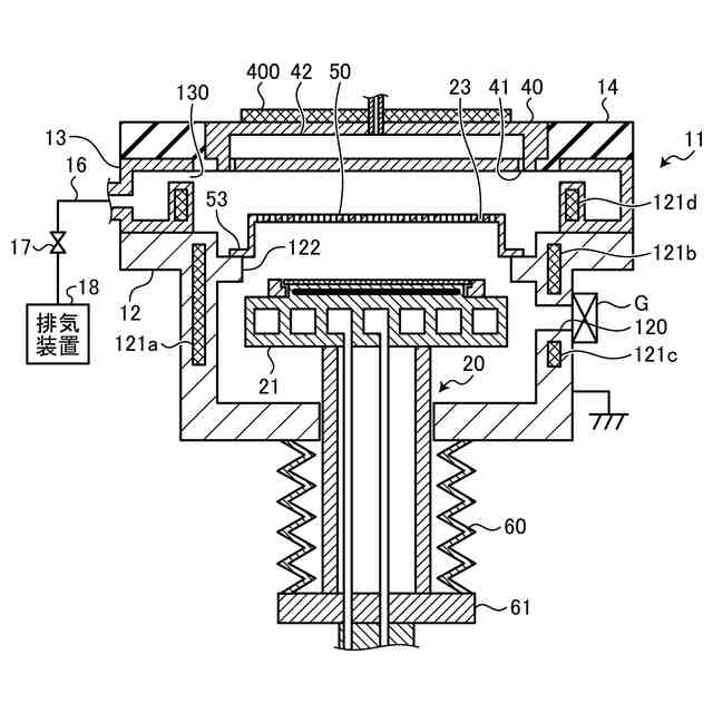
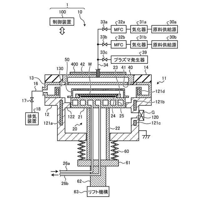
図1は、本開示の一実施形態における成膜装置の一例を示す概略断面図である。
図2は、天板の処理空間側の面の一例を示す図である。
図3は、遮熱部材の構造の一例を示す断面図である。
図4は、遮熱部材の構造の一例を示す平面図である。
図5は、基板の搬送時のステージの位置の一例を示す図である。
図6は、クリーニング時のステージの位置の一例を示す図である。
図7は、遮熱部材の構造の他の例を示す断面図である。
図8は、遮熱部材の構造の他の例を示す断面図である。
図9は、遮熱部材の構造の他の例を示す側面図である。
図10は、遮熱部材の構造の他の例を示す断面図である。
図11は、遮熱部材の構造の他の例を示す平面図である。
【発明を実施するための形態】
【0008】
以下に、開示される成膜装置の実施形態について、図面に基づいて詳細に説明する。なお、以下の実施形態により、開示される成膜装置が限定されるものではない。
【0009】
ところで、蒸着重合では、基板の温度によって成膜速度が大きく変化する。そのため、成膜される重合体の膜厚を均一にするためには、基板の温度分布をより均一にすることが求められる。
【0010】
そこで、本開示は、基板に形成される有機膜の厚さの均一性を向上させることができる技術を提供する。
(【0011】以降は省略されています)
この特許をJ-PlatPat(特許庁公式サイト)で参照する
関連特許
個人
フッ素樹脂塗装鋼板の保管方法
4か月前
株式会社カネカ
製膜装置
2か月前
株式会社カネカ
製膜装置
2か月前
株式会社京都マテリアルズ
めっき部材
2か月前
トヨタ自動車株式会社
治具
1か月前
株式会社KSマテリアル
防錆組成物
5か月前
日本化学産業株式会社
複合めっき皮膜
4か月前
エドワーズ株式会社
真空排気システム
2か月前
台灣晶技股ふん有限公司
無電解めっき法
3か月前
東京エレクトロン株式会社
成膜方法
2か月前
日東電工株式会社
積層体の製造方法
6か月前
JFEスチール株式会社
鋼部品
4か月前
株式会社カネカ
気化装置及び製膜装置
2か月前
TOTO株式会社
構造部材
2か月前
株式会社アルバック
マスクユニット
2か月前
住友重機械工業株式会社
成膜装置
6か月前
株式会社内村
防食具、防食具の設置方法
3か月前
住友重機械工業株式会社
成膜装置
5か月前
東京エレクトロン株式会社
基板処理装置
6か月前
黒崎播磨株式会社
溶射装置
2か月前
株式会社アルバック
基板ステージ装置
2か月前
株式会社デンソー
接合体
2か月前
フジタ技研株式会社
被覆部材、及び、表面被覆金型
2か月前
日本コーティングセンター株式会社
炭化ホウ素被膜
2か月前
国立大学法人千葉大学
成膜装置及び成膜方法
3か月前
ケニックス株式会社
蒸発源装置
3か月前
黒崎播磨株式会社
溶射用ランス
6か月前
信越化学工業株式会社
炭化金属被覆材料
20日前
株式会社アルバック
成膜装置、および搬送方法
4か月前
川崎重工業株式会社
水素遮蔽膜
3か月前
株式会社神戸製鋼所
成膜方法
4か月前
株式会社日本テクノ
ガス浸炭装置、浸炭室
1か月前
株式会社アルバック
真空蒸着装置、真空蒸着方法
4か月前
東京エレクトロン株式会社
成膜方法及び成膜装置
2か月前
株式会社日本テクノ
ガス浸炭方法、ガス浸炭装置
1か月前
学校法人静岡理工科大学
放電被覆装置及び放電被覆方法
3か月前
続きを見る
他の特許を見る