TOP
|
特許
|
意匠
|
商標
特許ウォッチ
Twitter
他の特許を見る
公開番号
2025177697
公報種別
公開特許公報(A)
公開日
2025-12-05
出願番号
2024084749
出願日
2024-05-24
発明の名称
抵抗溶接装置
出願人
矢崎総業株式会社
代理人
個人
,
個人
,
個人
主分類
B23K
11/30 20060101AFI20251128BHJP(工作機械;他に分類されない金属加工)
要約
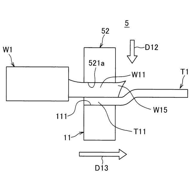
【課題】電線の素線部分の伸びを抑えて端子部品の接続部分に抵抗溶接することができる抵抗溶接装置を提供する。
【解決手段】抵抗溶接装置1が、端子部品T1の接続部分T11が載置される第1電極11と、第1電極11への加圧を行いつつ通電されることで電線W1の素線部分W11を接続部分T11に抵抗溶接する第2電極12と、を備え、第2電極12が、接続部分T11及び素線部分W11を第1電極11との間に挟む挟持部分121と、素線部分W11の延出方向D13について、当該素線部分W11の先端W111の前方側で挟持部分121から第1電極11側に突出し、抵抗溶接の際に延出方向D13に伸びようとする素線部分W11の先端W111に当接して素線部分W11の伸びを規制する規制突起122と、を備えたことを特徴とする。
【選択図】図1
特許請求の範囲
【請求項1】
平板状の接続部分を有する端子部品における前記接続部分が載置される第1電極と、
前記第1電極上の前記接続部分、及び当該接続部分に載置された電線の素線部分を前記第1電極との間に挟んだ状態で、前記第1電極への加圧及び前記第1電極からの受圧のうちの少なくとも一方を行いつつ前記第1電極とともに通電されることで前記素線部分を前記接続部分に抵抗溶接する第2電極と、を備え、
前記第2電極が、
前記接続部分及び前記素線部分を前記第1電極との間に挟む挟持部分と、
前記電線における前記素線部分の延出方向について、当該素線部分の先端の前方側で前記挟持部分から前記第1電極側に突出し、前記抵抗溶接の際に前記延出方向に伸びようとする前記素線部分の前記先端に当接して前記素線部分の伸びを規制する規制突起と、
を備えたことを特徴とする抵抗溶接装置。
続きを表示(約 370 文字)
【請求項2】
前記第1電極には、前記接続部分が載置される第1平坦面が形成され、
前記第2電極における前記挟持部分には、前記第1平坦面と対面配置される第2平坦面が形成され、
前記第2電極における前記規制突起が、前記第2平坦面から前記延出方向と交差するリブ長方向に延在するように突出したリブ壁であることを特徴とする請求項1に記載の抵抗溶接装置。
【請求項3】
前記リブ壁の壁厚が、前記第2平坦面において前記素線部分と接触する面部分の前記延出方向の長さよりも短いことを特徴とする請求項2に記載の抵抗溶接装置。
【請求項4】
前記第1電極及び前記第2電極のうちの少なくとも一方が他方に向かって移動する際に、その移動をガイドするガイド部材を、更に備えたことを特徴とする請求項1に記載の抵抗溶接装置。
発明の詳細な説明
【技術分野】
【0001】
本発明は、端子部品における平板状の接続部分に電線の素線部分を抵抗溶接する抵抗溶接装置に関するものとなっている。
続きを表示(約 1,300 文字)
【背景技術】
【0002】
従来、端子部品における平板状の接続部分に電線の素線部分を抵抗溶接する抵抗溶接装置が広く利用されている(例えば、特許文献1参照。)。この特許文献1に記載されているような抵抗溶接装置では、一対の電極間に端子部品の接続部分と素線部分が挟まれるようにセットされ、電極による加圧と通電によって素線部分が接続部分に抵抗溶接される。
【先行技術文献】
【特許文献】
【0003】
特開2023-161119号公報
【発明の概要】
【発明が解決しようとする課題】
【0004】
ここで、上述の抵抗溶接装置では、抵抗溶接の際に、電極からの加圧や、素線部分自身の塑性変形によって接続部分上で素線部分が延出方向に伸びる場合がある。このような素線部分の伸びは、過剰となった場合には端子付き電線における電線と端子部品との接合品質を低下させるおそれがあり、望ましいものではない。
【0005】
従って、本発明は、上記のような問題に着目し、電線の素線部分の伸びを抑えて端子部品の接続部分に抵抗溶接することができる抵抗溶接装置を提供することを目的とする。
【課題を解決するための手段】
【0006】
上記課題を解決するために、抵抗溶接装置は、平板状の接続部分を有する端子部品における前記接続部分が載置される第1電極と、前記第1電極上の前記接続部分、及び当該接続部分に載置された電線の素線部分を前記第1電極との間に挟んだ状態で、前記第1電極への加圧及び前記第1電極からの受圧のうちの少なくとも一方を行いつつ前記第1電極とともに通電されることで前記素線部分を前記接続部分に抵抗溶接する第2電極と、を備え、前記第2電極が、前記接続部分及び前記素線部分を前記第1電極との間に挟む挟持部分と、前記電線における前記素線部分の延出方向について、当該素線部分の先端の前方側で前記挟持部分から前記第1電極側に突出し、前記抵抗溶接の際に前記延出方向に伸びようとする前記素線部分の前記先端に当接して前記素線部分の伸びを規制する規制突起と、を備えたことを特徴とする。
【発明の効果】
【0007】
上述の抵抗溶接装置によれば、電線の素線部分の伸びを抑えて端子部品の接続部分に抵抗溶接することができる。
【図面の簡単な説明】
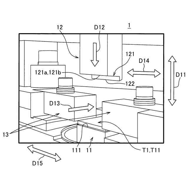
【0008】
一実施形態に係る抵抗溶接装置を示す模式的な側面図である。
図1に示されている抵抗溶接装置を示す模式的な斜視図である。
図1及び図2に示されている抵抗溶接装置に対する比較例を図1と同様の模式的な側面図で示した図である。
【発明を実施するための形態】
【0009】
以下、抵抗溶接装置の一実施形態について説明する。
【0010】
図1は、一実施形態に係る抵抗溶接装置を示す模式的な側面図であり、図2は、図1に示されている抵抗溶接装置を示す模式的な斜視図である。
(【0011】以降は省略されています)
この特許をJ-PlatPat(特許庁公式サイト)で参照する
関連特許
矢崎総業株式会社
端子
1か月前
矢崎総業株式会社
端子
9日前
矢崎総業株式会社
端子台
4日前
矢崎総業株式会社
箱状体
1か月前
矢崎総業株式会社
箱状体
1か月前
矢崎総業株式会社
箱状体
1か月前
矢崎総業株式会社
端子台
4日前
矢崎総業株式会社
端子台
4日前
矢崎総業株式会社
端子台
4日前
矢崎総業株式会社
コネクタ
1か月前
矢崎総業株式会社
コネクタ
3日前
矢崎総業株式会社
コネクタ
3日前
矢崎総業株式会社
照明装置
1か月前
矢崎総業株式会社
照明装置
1か月前
矢崎総業株式会社
照明装置
1か月前
矢崎総業株式会社
給電装置
10日前
矢崎総業株式会社
報知装置
1か月前
矢崎総業株式会社
コネクタ
10日前
矢崎総業株式会社
照明装置
1か月前
矢崎総業株式会社
コネクタ
9日前
矢崎総業株式会社
コネクタ
9日前
矢崎総業株式会社
電源回路
17日前
矢崎総業株式会社
コネクタ
17日前
矢崎総業株式会社
コネクタ
17日前
矢崎総業株式会社
接続構造
1か月前
矢崎総業株式会社
コネクタ
1か月前
矢崎総業株式会社
コネクタ
2日前
矢崎総業株式会社
コネクタ
2日前
矢崎総業株式会社
バスバー
1か月前
矢崎総業株式会社
コネクタ
2日前
矢崎総業株式会社
コネクタ
18日前
矢崎総業株式会社
接合装置
2日前
矢崎総業株式会社
電気接続箱
4日前
矢崎総業株式会社
カバー構造
1か月前
矢崎総業株式会社
電流センサ
3日前
矢崎総業株式会社
バスバー電線
10日前
続きを見る
他の特許を見る