TOP
|
特許
|
意匠
|
商標
特許ウォッチ
Twitter
他の特許を見る
10個以上の画像は省略されています。
公開番号
2025176428
公報種別
公開特許公報(A)
公開日
2025-12-04
出願番号
2024082589
出願日
2024-05-21
発明の名称
コネクタ嵌合体
出願人
矢崎総業株式会社
代理人
個人
,
個人
,
個人
主分類
H01R
13/64 20060101AFI20251127BHJP(基本的電気素子)
要約
【課題】嵌合検知部材を本係止位置までスライドさせる際に、嵌合検知部材が本係止されている状態であることをより明確に認識することが可能なコネクタ嵌合体を提供する。
【解決手段】コネクタ嵌合体1は、コネクタ2、相手側コネクタ5及び嵌合検知部材6を備える。また、コネクタ2に形成された保持部43には、弾性変形可能なアーム部435が形成され、アーム部435には、ロック係止部4351が形成されている。一方、嵌合検知部材6には、弾性変形可能なロックアーム部67が形成され、ロックアーム部67には、ロックアーム側係止部671が形成されている。そして、ロックアーム側係止部671がロック係止部4351を乗り越えた後であってロック係止部4351に係止される前に、嵌合検知部材6又は/及びアーム部435に形成した干渉部65がアーム部435又は/及び嵌合検知部材6と干渉するようにした。
【選択図】図13
特許請求の範囲
【請求項1】
ハウジングと、前記ハウジングに収容される端子と、を有するコネクタと、
前記ハウジングに嵌合される相手側ハウジングと、前記相手側ハウジングに収容されて、前記ハウジングに前記相手側ハウジングを嵌合させた状態で前記端子に電気的に接続される相手側端子と、を有する相手側コネクタと、
前記ハウジングに形成された保持部に本係止位置までスライドさせることができるように保持されて、前記ハウジングと前記相手側ハウジングとの嵌合状態を検知することが可能な嵌合検知部材と、
を備え、
前記嵌合検知部材は、前記ハウジングと前記相手側ハウジングとが嵌合していない状態では、前記本係止位置までスライドさせることが規制され、前記ハウジングと前記相手側ハウジングとを嵌合させた状態では、前記本係止位置までスライドさせることが許容されるように構成されており、
前記保持部には、弾性変形可能なアーム部が形成されており、
前記アーム部には、前記ハウジングと前記相手側ハウジングとの嵌合状態で前記相手側ハウジングに形成された突起に係止されて、前記ハウジングと前記相手側ハウジングとの嵌合状態を維持することが可能なロック係止部が形成されており、
前記嵌合検知部材には、弾性変形可能なロックアーム部が形成されており、
前記ロックアーム部には、前記嵌合検知部材を前記本係止位置までスライドさせた状態で前記ロック係止部に係止されるロックアーム側係止部が形成されており、
前記ロックアーム側係止部は、前記嵌合検知部材を前記本係止位置までスライドさせる際に、前記ロックアーム部を弾性変形させて前記ロックアーム側係止部が前記ロック係止部を乗り越えることで、前記ロック係止部に係止されるように構成されており、
前記嵌合検知部材及び前記アーム部のうち少なくともいずれか一方には、前記ロックアーム側係止部が前記ロック係止部を乗り越えた後であって前記ロック係止部に係止される前に他方と干渉して前記嵌合検知部材のスライド方向と交差する方向の応力を生じさせる干渉部が形成されている、
コネクタ嵌合体。
続きを表示(約 300 文字)
【請求項2】
前記干渉部が、前記嵌合検知部材及び前記アーム部のうち少なくともいずれか一方に形成されたリブであり、
前記リブが干渉する側には、前記ロックアーム側係止部が前記ロック係止部に係止された状態で前記リブが挿入される空間が形成されている、
請求項1に記載のコネクタ嵌合体。
【請求項3】
前記コネクタが、前記ハウジングを有するコネクタ本体と、前記コネクタ本体に回動可能に取り付けられるレバーと、を有するレバー式コネクタであり、
前記レバーに、前記嵌合検知部材を保持する保持部が形成されている、
請求項1または請求項2に記載のコネクタ嵌合体。
発明の詳細な説明
【技術分野】
【0001】
本発明は、コネクタ嵌合体に関する。
続きを表示(約 2,500 文字)
【背景技術】
【0002】
この種の従来のコネクタ嵌合体としては、特許文献1に開示されたものが提案されている。この特許文献1では、コネクタ嵌合体は、端子を収容可能な第1ハウジングと、相手側端子を収容可能な第2ハウジングと、第1ハウジングと第2ハウジングとの嵌合状態を検知可能な嵌合検知部材と、を備えている。
【0003】
そして、第1ハウジングが第2ハウジングに嵌合していないときには、嵌合検知部材の本係止位置へのスライドが規制され、第1ハウジングが第2ハウジングに嵌合しているときに、嵌合検知部材の本係止位置へのスライドが許容されるようにしている。
【0004】
こうすることで、嵌合検知部材の位置によって、第1ハウジングが第2ハウジングに嵌合しているか否かを検知できるようにしている。
【先行技術文献】
【特許文献】
【0005】
特開2018-018737号公報
【発明の概要】
【発明が解決しようとする課題】
【0006】
このような嵌合検知部材を備えるコネクタ嵌合体においては、嵌合検知部材を本係止位置までスライドさせる際に、嵌合検知部材が本係止されている状態であることをより明確に認識できるようにするのが好ましい。
【0007】
本発明は、このような従来技術が有する課題に鑑みてなされたものである。そして本発明の目的は、嵌合検知部材を本係止位置までスライドさせる際に、嵌合検知部材が本係止されている状態であることをより明確に認識することが可能なコネクタ嵌合体を提供することにある。
【課題を解決するための手段】
【0008】
本発明の態様に係るコネクタ嵌合体は、ハウジングと、前記ハウジングに収容される端子と、を有するコネクタと、前記ハウジングに嵌合される相手側ハウジングと、前記相手側ハウジングに収容されて、前記ハウジングに前記相手側ハウジングを嵌合させた状態で前記端子に電気的に接続される相手側端子と、を有する相手側コネクタと、前記ハウジングに形成された保持部に本係止位置までスライドさせることができるように保持されて、前記ハウジングと前記相手側ハウジングとの嵌合状態を検知することが可能な嵌合検知部材と、を備え、前記嵌合検知部材は、前記ハウジングと前記相手側ハウジングとが嵌合していない状態では、前記本係止位置までスライドさせることが規制され、前記ハウジングと前記相手側ハウジングとを嵌合させた状態では、前記本係止位置までスライドさせることが許容されるように構成されており、前記保持部には、弾性変形可能なアーム部が形成されており、前記アーム部には、前記ハウジングと前記相手側ハウジングとの嵌合状態で前記相手側ハウジングに形成された突起に係止されて、前記ハウジングと前記相手側ハウジングとの嵌合状態を維持することが可能なロック係止部が形成されており、前記嵌合検知部材には、弾性変形可能なロックアーム部が形成されており、前記ロックアーム部には、前記嵌合検知部材を前記本係止位置までスライドさせた状態で前記ロック係止部に係止されるロックアーム側係止部が形成されており、前記ロックアーム側係止部は、前記嵌合検知部材を前記本係止位置までスライドさせる際に、前記ロックアーム部を弾性変形させて前記ロックアーム側係止部が前記ロック係止部を乗り越えることで、前記ロック係止部に係止されるように構成されており、前記嵌合検知部材及び前記アーム部のうち少なくともいずれか一方には、前記ロックアーム側係止部が前記ロック係止部を乗り越えた後であって前記ロック係止部に係止される前に他方と干渉して前記嵌合検知部材のスライド方向と交差する方向の応力を生じさせる干渉部が形成されている。
【発明の効果】
【0009】
本発明によれば、嵌合検知部材を本係止位置までスライドさせる際に、嵌合検知部材が本係止されている状態であることをより明確に認識することが可能なコネクタ嵌合体を提供することができる。
【図面の簡単な説明】
【0010】
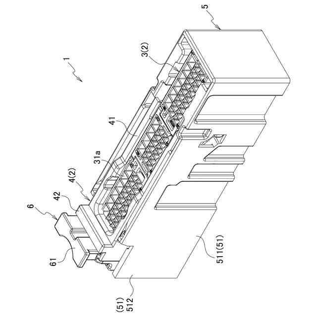
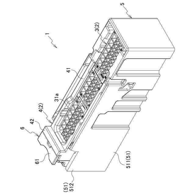
図1は、コネクタ嵌合体の一例を示す斜視図である。
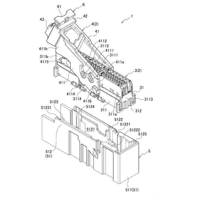
図2は、コネクタ嵌合体の一例を、嵌合検知部材が保持されたコネクタと相手側ハウジングとに分解して示す斜視図である。
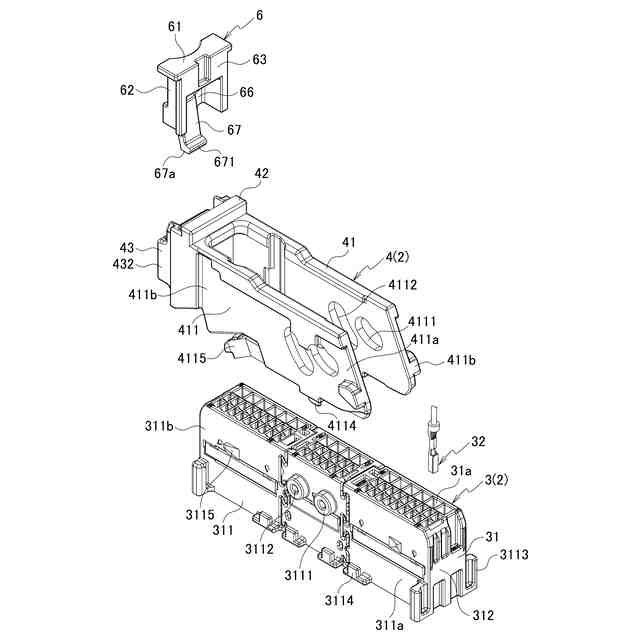
図3は、嵌合検知部材及びコネクタの一例を示す分解斜視図である。
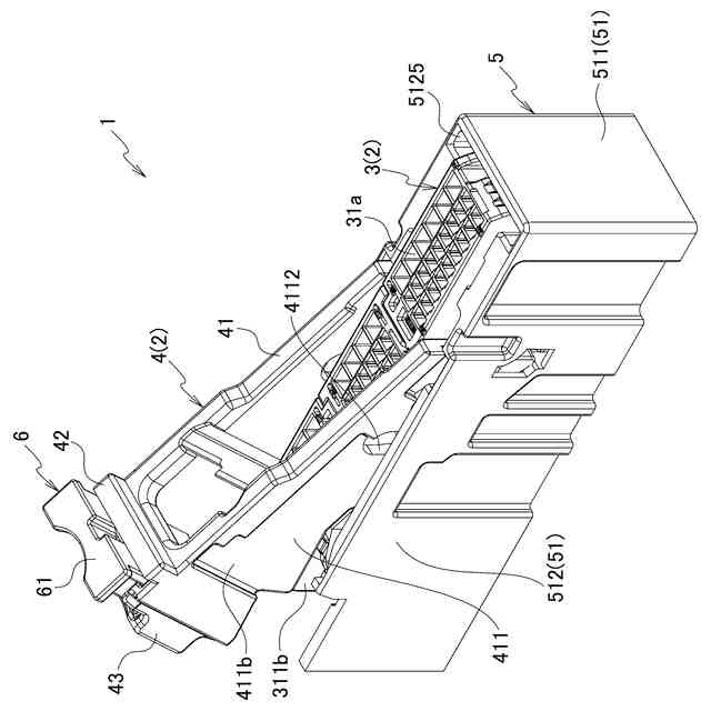
図4は、嵌合検知部材が保持されたコネクタを相手側ハウジングに仮嵌合させた状態を示す斜視図である。
図5は、コネクタを相手側ハウジングに嵌合させて嵌合検知部材の本係止位置へのスライドが許容された状態を示す斜視図である。
図6は、嵌合検知部材が保持されたコネクタを相手側ハウジングに仮嵌合させた状態を示す断面図である。
図7は、レバーに保持された嵌合検知部材の本係止位置へのスライドが規制された状態を示す断面図である。
図8は、レバーの一例を示す斜視図である。
図9は、レバーに形成された保持部の一例を示す断面図である。
図10は、嵌合検知部材の一例を示す斜視図である。
図11は、嵌合検知部材の一例を示す断面図である。
図12は、嵌合検知部材を仮保持位置から本係止位置までスライドさせる際の各部材の動作を説明する図であって、させた状態を示す断面図である。
図13は、嵌合検知部材を仮保持位置から本係止位置までスライドさせる際の各部材の動作を説明する図であって、させた状態を示す断面図である。
図14は、嵌合検知部材を仮保持位置から本係止位置までスライドさせる際の各部材の動作を説明する図であって、させた状態を示す断面図である。
図15は、嵌合検知部材を仮保持位置から本係止位置までスライドさせる際に加えられる力を説明する図である。
【発明を実施するための形態】
(【0011】以降は省略されています)
この特許をJ-PlatPat(特許庁公式サイト)で参照する
関連特許
矢崎総業株式会社
端子
1か月前
矢崎総業株式会社
端子
3か月前
矢崎総業株式会社
端子
6日前
矢崎総業株式会社
端子
3か月前
矢崎総業株式会社
端子台
1日前
矢崎総業株式会社
箱状体
1か月前
矢崎総業株式会社
箱状体
1か月前
矢崎総業株式会社
箱状体
1か月前
矢崎総業株式会社
箱状体
1か月前
矢崎総業株式会社
照明灯
2か月前
矢崎総業株式会社
端子台
1日前
矢崎総業株式会社
箱状体
1か月前
矢崎総業株式会社
端子台
1日前
矢崎総業株式会社
端子台
1日前
矢崎総業株式会社
コネクタ
2か月前
矢崎総業株式会社
コネクタ
14日前
矢崎総業株式会社
コネクタ
1か月前
矢崎総業株式会社
電源回路
14日前
矢崎総業株式会社
照明装置
1か月前
矢崎総業株式会社
照明装置
1か月前
矢崎総業株式会社
コネクタ
3か月前
矢崎総業株式会社
照明装置
1か月前
矢崎総業株式会社
コネクタ
2か月前
矢崎総業株式会社
コネクタ
3か月前
矢崎総業株式会社
コネクタ
14日前
矢崎総業株式会社
コネクタ
3か月前
矢崎総業株式会社
コネクタ
2か月前
矢崎総業株式会社
コネクタ
15日前
矢崎総業株式会社
コネクタ
3か月前
矢崎総業株式会社
コネクタ
3か月前
矢崎総業株式会社
コネクタ
2か月前
矢崎総業株式会社
コネクタ
2か月前
矢崎総業株式会社
コネクタ
2か月前
矢崎総業株式会社
接続構造
1か月前
矢崎総業株式会社
コネクタ
2か月前
矢崎総業株式会社
コネクタ
2か月前
続きを見る
他の特許を見る