TOP
|
特許
|
意匠
|
商標
特許ウォッチ
Twitter
他の特許を見る
公開番号
2025177019
公報種別
公開特許公報(A)
公開日
2025-12-05
出願番号
2024083483
出願日
2024-05-22
発明の名称
ベースプレート
出願人
ソフトバンク株式会社
代理人
弁理士法人白坂
主分類
H01L
23/34 20060101AFI20251128BHJP(基本的電気素子)
要約
【課題】基板のグラウンドとして用いる軽量化された回路基板のベースプレートを提供する。
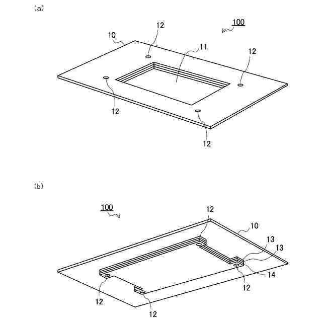
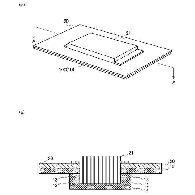
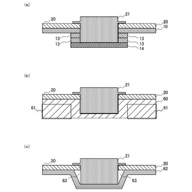
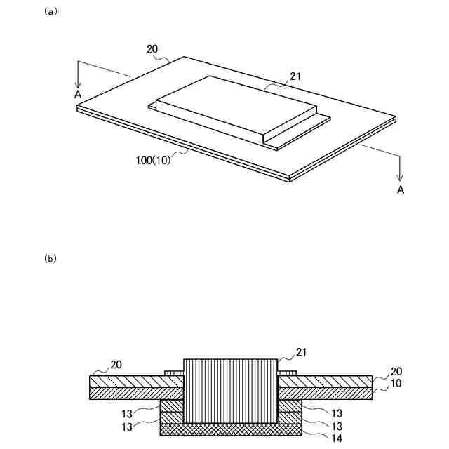
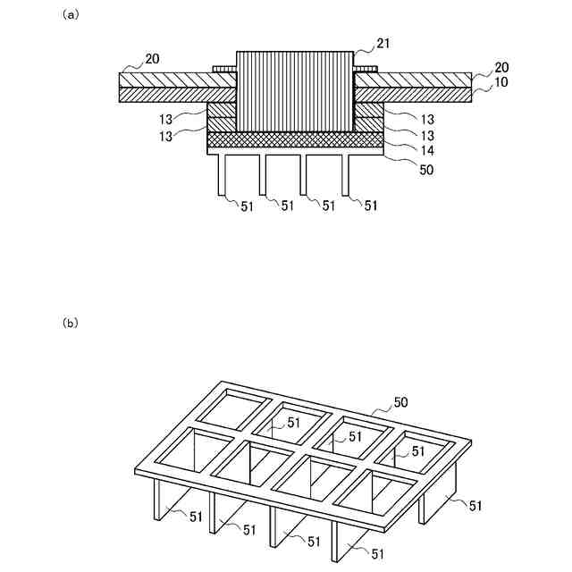
【解決手段】基板20に重畳してグラウンドとして用いられるベースプレート100であって、基板に設けられ、基板からベースプレート100に向かって突出する電子部品(MOSFET)21に対向する位置に電子部品を平面視した場合の外形に沿うように設けられた開口部を有する板金10と、開口部に対向する開口部と同形状の開口を有し、所定の厚みを有する1以上の枠体13と、枠体13に設けられた開口を覆う底部14と、を備え、板金10、1以上の枠体13、底部14の順に重畳されて成る。
【選択図】図4
特許請求の範囲
【請求項1】
基板に重畳してグラウンドとして用いられるベースプレートであって、
前記基板に設けられ、前記基板から前記ベースプレートに向かって突出する電子部品に対向する位置に前記電子部品を平面視した場合の外形に沿うように設けられた開口部を有する板金と、
前記開口部に対向する前記開口部と同形状の開口を有し、所定の厚みを有する1以上の枠体と、
前記枠体に設けられた開口を覆う底部と、を備え、
前記板金、前記1以上の枠体、前記底部の順に重畳されて成るベースプレート。
続きを表示(約 350 文字)
【請求項2】
前記電子部品が前記基板から突出している長さが、前記板金の厚み及び前記枠体の前記所定の厚みに基づく長さ以下となる数の前記1以上の枠体が重畳されている
ことを特徴とする請求項1に記載のベースプレート。
【請求項3】
前記ベースプレートは、アルミニウム製である
ことを特徴とする請求項1又は2に記載のベースプレート。
【請求項4】
前記基板は、通信基板である
ことを特徴とする請求項1又は2に記載のベースプレート。
【請求項5】
前記通信基板及びベースプレートは、HAPS(High Altitude Platform Station)の無人飛行機に搭載される
ことを特徴とする請求項4に記載のベースプレート。
発明の詳細な説明
【技術分野】
【0001】
この発明は、回路基板のベースプレートに関する。
続きを表示(約 1,200 文字)
【背景技術】
【0002】
近年、無線通信の基地局を高高度に配することにより、基地局一つ当たりの通信エリアは広くなることから、高高度に滞空する航空機に無線局を搭載する高高度プラットフォームとして知られるHAPS(High Altitude Platform Station)を用いた通信システムが開発されている。HAPSに用いられる航空機は、滞空するためになるべく軽量化されることが望まれるものであり、その軽量化は、例えば、回路基板やヒートシンクにおいても成されることが好ましい。
【0003】
特許文献1においては、ヒートシンク内にベースプレートを設けて小型化を図る技術が開示されている。
【先行技術文献】
【特許文献】
【0004】
国際公開第2014/132425号
【発明の概要】
【発明が解決しようとする課題】
【0005】
ところで、回路基板に設けられる電子回路部品と相対する箇所においては、凹部が設けられる必要があるが、その実現手法としてベースプレートとして用いる金属ブロックから削り出し加工により実現することが考えられる。しかしながら、削り出し加工により実現されるベースプレートは、かねてより、その重量と加工コストが問題視されている。削り出し加工以外の手法としては、薄い板金をプレス加工により凹部を形成することも考えられるが、この場合の凹部はプレス加工の性質上、凹部と電子回路部品との間に隙間ができるという問題がある。
【0006】
そこで、本発明は上記問題に鑑みて成されたものであり、従来よりも軽量かつ凹部と電子回路部品との間の隙間がないベースプレートを提供することを目的とする。
【課題を解決するための手段】
【0007】
上記課題を解決するために、本発明に係るベースプレートは、基板に重畳してグラウンドとして用いられるベースプレートであって、基板に設けられ、基板からベースプレートに向かって突出する電子部品に対向する位置に電子部品を平面視した場合の外形に沿うように設けられた開口部を有する板金と、開口部に対向する開口部と同形状の開口を有し、所定の厚みを有する1以上の枠体と、枠体に設けられた開口を覆う基底部と、を備え、板金、1以上の枠体、基底部の順に重畳されて成る。
【0008】
また、上記ベースプレートにおいて、電子部品が基板から突出している長さが、板金の厚み及び枠体の所定の厚みに基づく長さ以下となる数の1以上の枠体が重畳されていることとしてもよい。
【0009】
また、上記ベースプレートにおいて、ベースプレートは、アルミニウム製であることとしてもよい。
【0010】
また、上記ベースプレートにおいて、基板は通信基板であることとしてもよい。
(【0011】以降は省略されています)
この特許をJ-PlatPat(特許庁公式サイト)で参照する
関連特許
日機装株式会社
加圧装置
1日前
マクセル株式会社
電源装置
1か月前
株式会社東芝
端子台
1か月前
日新イオン機器株式会社
イオン源
1日前
株式会社GSユアサ
蓄電装置
16日前
株式会社GSユアサ
蓄電装置
1か月前
富士電機株式会社
電磁接触器
16日前
株式会社GSユアサ
蓄電装置
1か月前
三菱電機株式会社
回路遮断器
24日前
株式会社GSユアサ
蓄電装置
1か月前
トヨタ自動車株式会社
蓄電装置
8日前
大電株式会社
電線又はケーブル
8日前
個人
電源ボックス及び電子機器
1日前
株式会社トクミ
ケーブル
2日前
トヨタ自動車株式会社
蓄電装置
1か月前
株式会社東芝
電子源
1日前
ホシデン株式会社
複合コネクタ
10日前
日本特殊陶業株式会社
保持装置
29日前
甲神電機株式会社
変流器及び零相変流器
1か月前
日本無線株式会社
レーダアンテナ
1か月前
矢崎総業株式会社
コネクタ
16日前
ローム株式会社
半導体モジュール
17日前
株式会社レゾナック
冷却器
24日前
日亜化学工業株式会社
半導体レーザ素子
1か月前
トヨタ自動車株式会社
密閉型電池
1か月前
ヒロセ電機株式会社
電気コネクタ
16日前
住友電装株式会社
コネクタ
16日前
三菱電機株式会社
半導体装置
1日前
矢崎総業株式会社
端子
8日前
株式会社デンソー
半導体装置
16日前
トヨタ自動車株式会社
蓄電装置構造
2日前
株式会社デンソー
熱交換部材
1か月前
株式会社パロマ
監視システム
8日前
日本航空電子工業株式会社
コネクタ
1日前
日本航空電子工業株式会社
コネクタ
29日前
日本特殊陶業株式会社
アンテナ装置
3日前
続きを見る
他の特許を見る