TOP
|
特許
|
意匠
|
商標
特許ウォッチ
Twitter
他の特許を見る
公開番号
2025177227
公報種別
公開特許公報(A)
公開日
2025-12-05
出願番号
2024083859
出願日
2024-05-23
発明の名称
静電チャック
出願人
TOTO株式会社
代理人
個人
,
個人
,
個人
,
個人
主分類
H01L
21/683 20060101AFI20251128BHJP(基本的電気素子)
要約
【課題】給電端子における放電を防止することのできる静電チャック、を提供する。
【解決手段】静電チャック10は、載置面を含む第1部分101と、第1部分101の外周端から更に外周側に向かって突出している第2部分102と、を有する誘電体基板100と、第2部分102の内部に設けられた内部電極140と、上面視において、内部電極140と重ならない位置に設けられた給電端子160と、誘電体基板100の内部に設けられており、給電端子160と内部電極140との間を電気的に接続しているバイパス部150と、を備える。
【選択図】図2
特許請求の範囲
【請求項1】
被吸着物が載置される載置面を含む第1部分と、前記第1部分の外周端から更に外周側に向かって突出しており、且つ前記第1部分よりも薄い第2部分と、を有する誘電体基板と、
前記第2部分の内部に設けられた内部電極と、
前記載置面に対し垂直な方向から見た場合において、前記内部電極と重ならない位置に設けられた給電端子と、
前記誘電体基板の内部に設けられており、前記給電端子と前記内部電極との間を電気的に接続しているバイパス部と、を備えることを特徴とする静電チャック。
続きを表示(約 750 文字)
【請求項2】
前記給電端子が前記第1部分に設けられていることを特徴とする、請求項1に記載の静電チャック。
【請求項3】
前記バイパス部が前記内部電極と同じ高さ位置にあることを特徴とする、請求項2に記載の静電チャック。
【請求項4】
前記内部電極は、互いに同じ高さ位置に設けられた第1内部電極と第2内部電極とを含み、
前記給電端子は、第1給電端子と第2給電端子とを含み、
前記バイパス部は、
前記第1給電端子と前記第1内部電極との間を電気的に接続している第1バイパス部と、
前記第2給電端子と前記第2内部電極との間を電気的に接続している第2バイパス部と、を含むことを特徴とする、請求項1に記載の静電チャック。
【請求項5】
前記第1内部電極が前記第2内部電極よりも外周側となる位置にあり、
前記第1バイパス部が前記第1内部電極とは異なる高さ位置にあることを特徴とする、請求項4に記載の静電チャック。
【請求項6】
前記載置面に対し垂直な方向において、
前記第1バイパス部が、前記第1内部電極よりも前記第1給電端子側の位置にあることを特徴とする、請求項5に記載の静電チャック。
【請求項7】
前記第2バイパス部が前記第1バイパス部と異なる高さ位置にあることを特徴とする、請求項5に記載の静電チャック。
【請求項8】
前記第2バイパス部が前記第2内部電極と同じ高さ位置にあることを特徴とする、請求項7に記載の静電チャック。
【請求項9】
前記第2バイパス部が前記第1バイパス部と同じ高さ位置にあることを特徴とする、請求項5に記載の静電チャック。
発明の詳細な説明
【技術分野】
【0001】
本発明は静電チャックに関する。
続きを表示(約 1,700 文字)
【背景技術】
【0002】
例えばエッチング装置のような半導体製造装置には、処理の対象となるシリコンウェハ等の基板を吸着し保持するための装置として、静電チャックが設けられる。静電チャックは、吸着電極が設けられた誘電体基板と、誘電体基板を支持するベースプレートと、を備え、これらが互いに接合された構成を有する。吸着電極に電圧が印加されると静電力が生じ、誘電体基板上に載置された基板が吸着され保持される。
【0003】
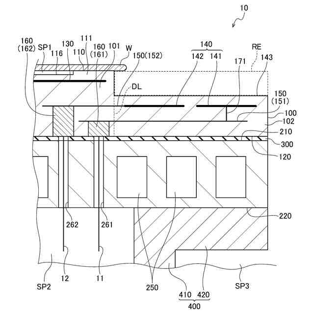
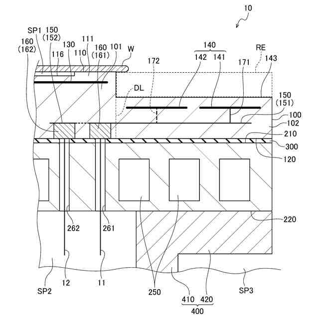
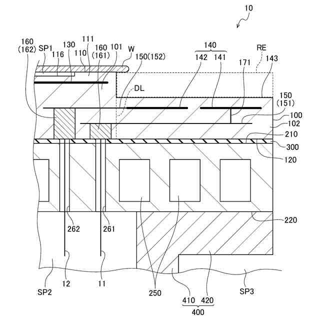
基板の処理中においては、基板の周囲に、フォーカスリング等と称される環状部材が配置される。下記特許文献1に記載されているように、誘電体基板には、このような環状部材を載置するための鍔部が設けられることがある。誘電体基板のうち、処理対象であるシリコンウェハ等の基板が載置される部分のことを、以下では第1部分とも称する。また、誘電体基板に設けられた上記の鍔部のことを、以下では第2部分とも称する。第2部分(鍔部)は、第1部分の外周端から更に外周側に向かって突出しており、且つ第1部分よりも薄い部分となっている。
【先行技術文献】
【特許文献】
【0004】
特開2023-177720号公報
【発明の概要】
【発明が解決しようとする課題】
【0005】
上記特許文献1に記載されているように、第2部分(鍔部)の内部には内部電極が設けられる。内部電極は、例えば、環状部材との間で吸着力を発生させるための「吸着電極」として設けられることもあるが、プラズマを生じさせ基板側へ引き寄せるための「RF電極」として設けられることもある。この内部電極に給電を行うための給電端子は、従来、第2部分のうち上面視において内部電極と重なる位置に設けられていた。そのような位置に給電端子を配置した場合には、給電端子の周囲の気圧が大気圧よりも低くなる等の理由により、放電が生じやすくなってしまうと考えられる。
【0006】
本発明はこのような課題に鑑みてなされたものであり、その目的は、給電端子における放電を防止することのできる静電チャック、を提供することにある。
【課題を解決するための手段】
【0007】
上記課題を解決するために、本発明に係る静電チャックは、被吸着物が載置される載置面を含む第1部分と、第1部分の外周端から更に外周側に向かって突出しており、且つ第1部分よりも薄い第2部分と、を有する誘電体基板と、第2部分の内部に設けられた内部電極と、載置面に対し垂直な方向から見た場合において、内部電極と重ならない位置に設けられた給電端子と、誘電体基板の内部に設けられており、給電端子と内部電極との間を電気的に接続しているバイパス部と、を備える。
【0008】
上面視において内部電極と重なるような位置は、誘電体基板のうち外周側端部の近傍の位置であり、周囲の気圧が低いために比較的放電が生じやすい位置である。そこで、上記構成の静電チャックでは、バイパス部を設けることによって給電端子の配置の自由度を高めた上で、給電端子を、上面視において内部電極とは重ならない位置に配置してある。放電が生じやすい位置を避けて給電端子を配置することで、給電端子における放電を防止することができる。
【発明の効果】
【0009】
本発明によれば、給電端子における放電を防止することのできる静電チャック、を提供することができる。
【図面の簡単な説明】
【0010】
第1実施形態に係る静電チャックの構成を模式的に示す断面図である。
第1実施形態に係る静電チャックの一部の構成を拡大して詳細に示す図である。
内部電極やバイパス部等の構成を上面視で模式的に示す図である。
第2実施形態に係る静電チャックの一部の構成を拡大して詳細に示す図である。
内部電極やバイパス部等の構成を上面視で模式的に示す図である。
【発明を実施するための形態】
(【0011】以降は省略されています)
この特許をJ-PlatPat(特許庁公式サイト)で参照する
関連特許
TOTO株式会社
洗面器
2か月前
TOTO株式会社
洗面器
2か月前
TOTO株式会社
構造部材
2か月前
TOTO株式会社
水栓装置
19日前
TOTO株式会社
構造部材
2か月前
TOTO株式会社
吐水装置
2か月前
TOTO株式会社
吐水装置
2か月前
TOTO株式会社
構造部材
1か月前
TOTO株式会社
吐水装置
2か月前
TOTO株式会社
構造部材
1か月前
TOTO株式会社
水洗大便器
2か月前
TOTO株式会社
トイレ装置
2か月前
TOTO株式会社
トイレ装置
2か月前
TOTO株式会社
水洗大便器
2か月前
TOTO株式会社
水洗大便器
2か月前
TOTO株式会社
水洗大便器
2か月前
TOTO株式会社
静電チャック
5日前
TOTO株式会社
静電チャック
5日前
TOTO株式会社
静電チャック
2か月前
TOTO株式会社
排水システム
2か月前
TOTO株式会社
排水システム
2か月前
TOTO株式会社
静電チャック
4日前
TOTO株式会社
水まわり部材
2か月前
TOTO株式会社
水まわり部材
2か月前
TOTO株式会社
静電チャック
2か月前
TOTO株式会社
静電チャック
2か月前
TOTO株式会社
静電チャック
2か月前
TOTO株式会社
静電チャック
2か月前
TOTO株式会社
静電チャック
2か月前
TOTO株式会社
浴室システム
2か月前
TOTO株式会社
浴室システム
2か月前
TOTO株式会社
静電チャック
2か月前
TOTO株式会社
静電チャック
2か月前
TOTO株式会社
浴室システム
1か月前
TOTO株式会社
浴室システム
1か月前
TOTO株式会社
浴室システム
1か月前
続きを見る
他の特許を見る