TOP
|
特許
|
意匠
|
商標
特許ウォッチ
Twitter
他の特許を見る
公開番号
2025147409
公報種別
公開特許公報(A)
公開日
2025-10-07
出願番号
2024047648
出願日
2024-03-25
発明の名称
トイレ装置
出願人
TOTO株式会社
代理人
主分類
E03D
9/08 20060101AFI20250930BHJP(上水;下水)
要約
【課題】 シャッター部に付着した汚物や汚水がボウル部に残されることを抑止することが可能なトイレ装置を提供することを目的とする。
【解決手段】 ボウル部と、ボウル部への洗浄水の供給を行う洗浄水供給部と、前後方向に進退可能に設けられた洗浄ノズルと、ボウル部と前記洗浄ノズルとの間に設けられ開閉自在なシャッター部と、洗浄水を吐水してシャッター部を洗浄するシャッター洗浄部と、洗浄水供給部及び前記シャッター洗浄部を制御する制御部と、を備え、制御部は、洗浄水供給部による前記ボウル部への洗浄水の供給を行うことでボウル部から排水させる便器洗浄を実行可能で、シャッター洗浄部によるシャッター部の洗浄を行う場合、便器洗浄の終了よりも前に、シャッター洗浄部によるシャッター部の洗浄を終了する、トイレ装置。
【選択図】 図8
特許請求の範囲
【請求項1】
ボウル部と、
前記ボウル部への洗浄水の供給を行う洗浄水供給部と、
前後方向に進退可能に設けられた洗浄ノズルと、
前記ボウル部と前記洗浄ノズルとの間に設けられ開閉自在なシャッター部と、
洗浄水を吐水してシャッター部を洗浄するシャッター洗浄部と、
前記洗浄水供給部及び前記シャッター洗浄部を制御する制御部と、を備え、
前記制御部は、
前記洗浄水供給部による前記ボウル部への洗浄水の供給を行うことで前記ボウル部から排水させる便器洗浄を実行可能で、
前記シャッター洗浄部による前記シャッター部の洗浄を行う場合、前記便器洗浄の終了よりも前に、前記シャッター洗浄部による前記シャッター部の洗浄を終了する、トイレ装置。
続きを表示(約 350 文字)
【請求項2】
前記制御部は、前記シャッター洗浄部による前記シャッター部の洗浄を行う場合、前記便器洗浄における前記洗浄水供給部による前記ボウル部への洗浄水の供給の開始よりも前に、前記シャッター洗浄部による前記シャッター部の洗浄を終了する、請求項1に記載のトイレ装置。
【請求項3】
さらに、前記便器洗浄を指示する洗浄指示手段を備え、
前記制御部は、前記洗浄ノズルを使用した後に、前記シャッター洗浄部による前記シャッター部の洗浄を行い、この前記シャッター部の洗浄中に前記洗浄指示手段による指示を受けると、前記シャッター部の洗浄を終了する後に前記便器洗浄が終了するように、前記洗浄水供給部による前記ボウル部への洗浄水の供給を開始する、請求項1又は2に記載のトイレ装置。
発明の詳細な説明
【技術分野】
【0001】
本発明は、トイレ装置に関する。
続きを表示(約 1,400 文字)
【背景技術】
【0002】
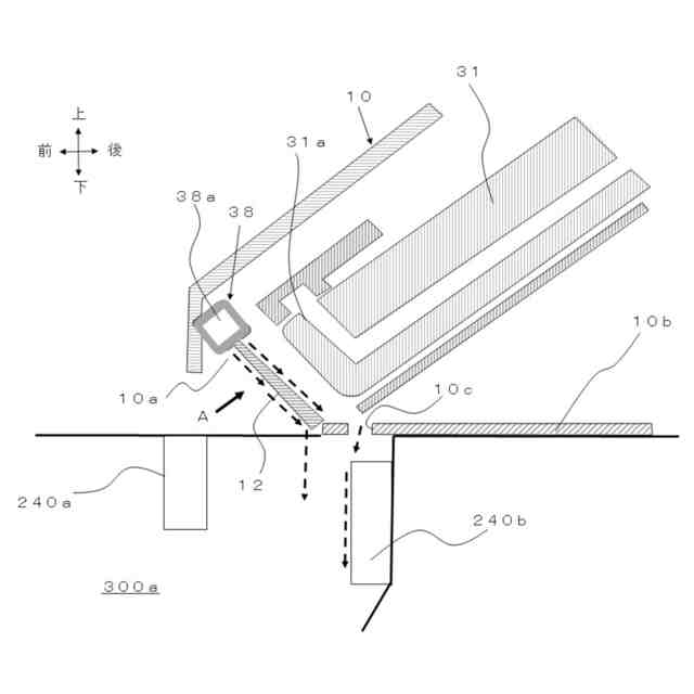
トイレ装置として、洗浄ノズルが進退する開口部に設けられるシャッター部と、シャッター部に水を供給し水膜を形成してシャッター部を洗浄するシャッター洗浄部とを有するものが知られている(例えば、特許文献1)。
【先行技術文献】
【特許文献】
【0003】
特開2019-173288号公報
【発明の概要】
【発明が解決しようとする課題】
【0004】
上述したトイレ装置においては、シャッター部の洗浄を行った洗浄水が、シャッター部に付着していた汚物や汚水とともに、ボウル部へと流下し、そのままボウル部に残される懸念があった。
【0005】
本発明は、上述した問題を解決するためになされたものであり、シャッター部に付着した汚物や汚水がボウル部に残されることを抑止することが可能なトイレ装置を提供することを目的とする。
【課題を解決するための手段】
【0006】
本発明は、ボウル部と、前記ボウル部への洗浄水の供給を行う洗浄水供給部と、前後方向に進退可能に設けられた洗浄ノズルと、前記ボウル部と前記洗浄ノズルとの間に設けられ開閉自在なシャッター部と、洗浄水を吐水してシャッター部を洗浄するシャッター洗浄部と、前記洗浄水供給部及び前記シャッター洗浄部を制御する制御部と、を備え、前記制御部は、前記洗浄水供給部による前記ボウル部への洗浄水の供給を行うことで前記ボウル部から排水させる便器洗浄を実行可能で、前記シャッター洗浄部による前記シャッター部の洗浄を行う場合、前記便器洗浄の終了よりも前に、前記シャッター洗浄部による前記シャッター部の洗浄を終了する、トイレ装置である。
【0007】
このように構成された本発明においては、シャッター洗浄部によるシャッター部の洗浄を行う場合、便器洗浄の終了よりも前に、シャッター洗浄部によるシャッター部の洗浄を終了する。そのため、シャッター部の洗浄により、シャッター部に付着していた汚物や汚水がボウル部に流れ込んでも、便器洗浄によって一緒に排水することができる。
【0008】
本発明は、さらに、前記制御部は、前記シャッター洗浄部による前記シャッター部の洗浄を行う場合、前記便器洗浄における前記洗浄水供給部による前記ボウル部への洗浄水の供給の開始よりも前に、前記シャッター洗浄部による前記シャッター部の洗浄を終了する構成としてもよい。
【0009】
このように構成された本発明においては、シャッター洗浄部によるシャッター部の洗浄を行う場合、便器洗浄における洗浄水供給部によるボウル部への洗浄水の供給の開始よりも前に、シャッター洗浄部による前記シャッター部の洗浄を終了する。そのため、シャッター部の洗浄により、シャッター部に付着していた汚物や汚水がボウル部に流れ込んでも、より確実に便器洗浄によって一緒に排水することができる。
【0010】
本発明は、さらに、前記便器洗浄を指示する洗浄指示手段を備え、前記制御部は、前記洗浄ノズルを使用した後に、前記シャッター洗浄部による前記シャッター部の洗浄を行い、この前記シャッター部の洗浄中に前記洗浄指示手段による指示を受けると、前記シャッター部の洗浄を終了する後に前記便器洗浄が終了するように、前記洗浄水供給部による前記ボウル部への洗浄水の供給を開始する構成としてもよい。
(【0011】以降は省略されています)
この特許をJ-PlatPat(特許庁公式サイト)で参照する
関連特許
TOTO株式会社
洗面器
1か月前
TOTO株式会社
洗面器
1か月前
TOTO株式会社
構造部材
1か月前
TOTO株式会社
構造部材
1か月前
TOTO株式会社
構造部材
1か月前
TOTO株式会社
吐水装置
1か月前
TOTO株式会社
吐水装置
1か月前
TOTO株式会社
吐水装置
1か月前
TOTO株式会社
構造部材
1か月前
TOTO株式会社
トイレ装置
1か月前
TOTO株式会社
水洗大便器
1か月前
TOTO株式会社
水洗大便器
1か月前
TOTO株式会社
水洗大便器
1か月前
TOTO株式会社
水洗大便器
1か月前
TOTO株式会社
トイレ装置
1か月前
TOTO株式会社
水まわり部材
1か月前
TOTO株式会社
排水システム
1か月前
TOTO株式会社
水まわり部材
1か月前
TOTO株式会社
静電チャック
1か月前
TOTO株式会社
静電チャック
1か月前
TOTO株式会社
浴室システム
1か月前
TOTO株式会社
浴室システム
1か月前
TOTO株式会社
排水システム
1か月前
TOTO株式会社
浴室システム
14日前
TOTO株式会社
浴室システム
21日前
TOTO株式会社
浴室システム
14日前
TOTO株式会社
ミスト発生装置
1か月前
TOTO株式会社
トイレシステム
1か月前
TOTO株式会社
水洗大便器装置
1か月前
TOTO株式会社
水洗大便器装置
1か月前
TOTO株式会社
水洗大便器装置
1か月前
TOTO株式会社
水洗大便器装置
1か月前
TOTO株式会社
水洗大便器装置
1か月前
TOTO株式会社
姿勢評価システム
1か月前
TOTO株式会社
衛生評価システム
1か月前
TOTO株式会社
健康管理システム
1か月前
続きを見る
他の特許を見る